GM Service Manual Online
For 1990-2009 cars only
Makes
🢒
Pontiac
🢒
2000
🢒
Sunfire
🢒 Automatic Transaxle
Automatic Transaxle
Automatic Transaxle
Engine Controls Components
Powertrain Control Module Description
Power, Ground, EBCM, and Cooling Fan Motor
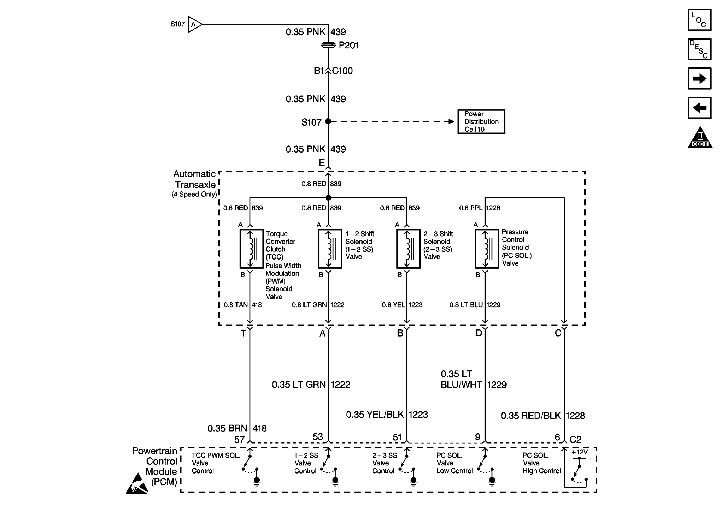
Automatic Transaxle
OBD II Symbol Description Notice
Power, Ground, Automatic Transaxle, and Brake Switch
ALARM, and ERLS Fuses
Handling ESD Sensitive Parts Notice