GM Service Manual Online
For 1990-2009 cars only
Makes
🢒
Pontiac
🢒
2000
🢒
Sunfire
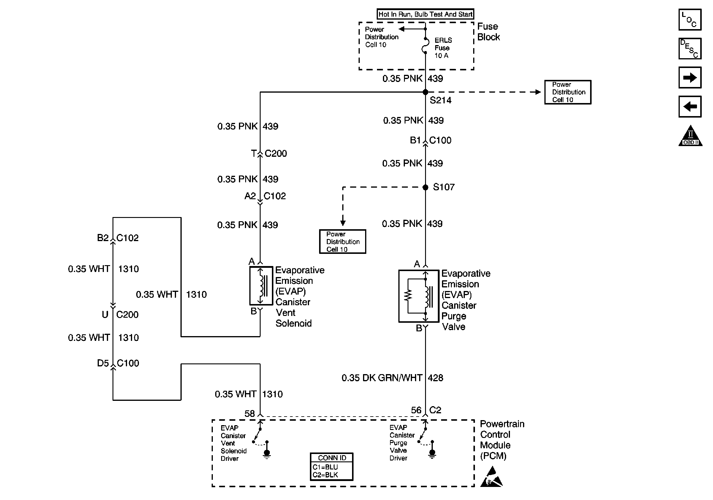
🢒 Power, Ground, and EVAP
Power, Ground, and EVAP
Power, Ground, and EVAP
Engine Controls Components
Powertrain Control Module Description
Power, Ground, and O2 Sensors
Engine Data Sensors
OBD II Symbol Description Notice
ALARM, and ERLS Fuses
ALARM, and ERLS Fuses
ALARM, and ERLS Fuses
Handling ESD Sensitive Parts Notice