GM Service Manual Online
For 1990-2009 cars only
Makes
🢒
Pontiac
🢒
2000
🢒
Sunfire
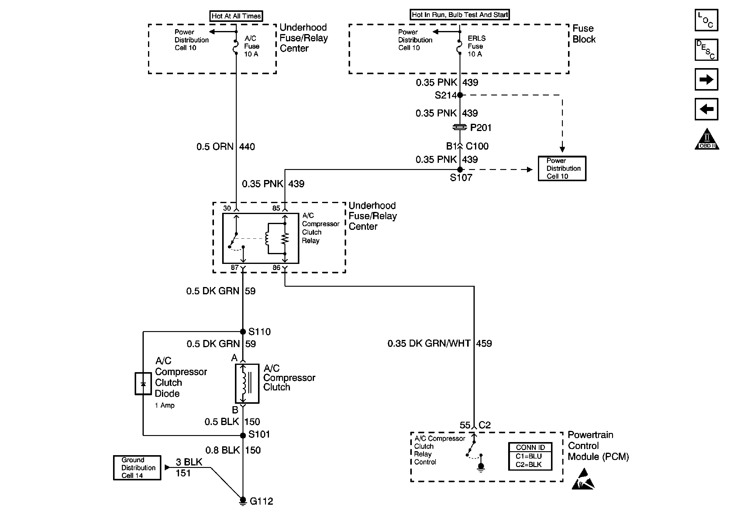
🢒 A/C Compressor Clutch
A/C Compressor Clutch
A/C Compressor Clutch
Engine Controls Components
Powertrain Control Module Description
Power, Ground, Automatic Transaxle, and Brake Switch
Cruise Control Module and VSS
OBD II Symbol Description Notice
PCM, BLO, and A/C Fuses
ALARM, and ERLS Fuses
ALARM, and ERLS Fuses
G112 and G106
Handling ESD Sensitive Parts Notice