GM Service Manual Online
For 1990-2009 cars only

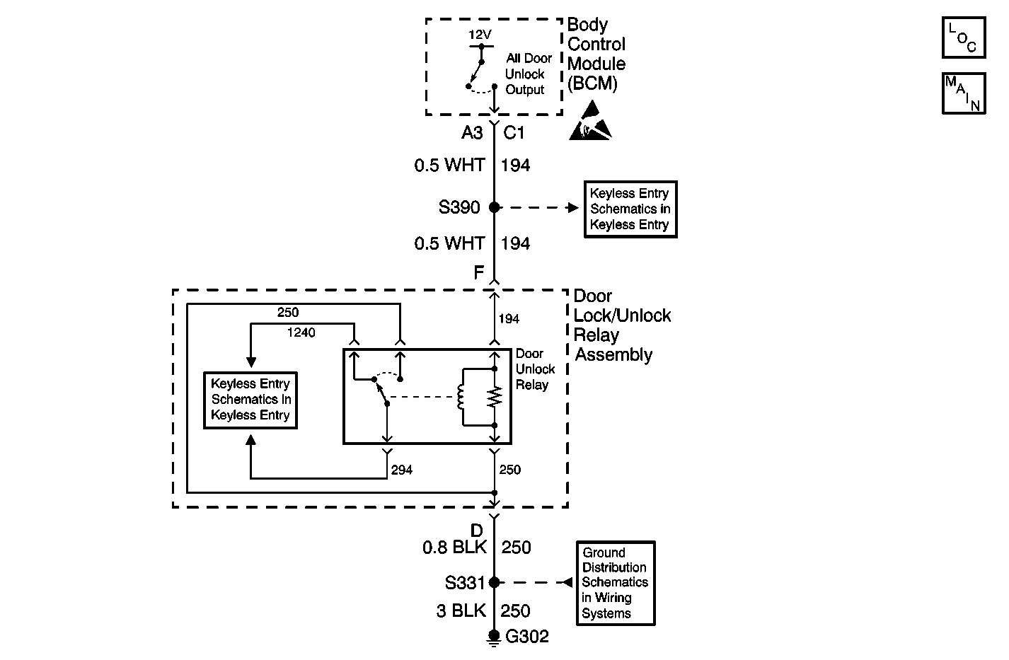
Object Number: 557509  Size: MF
Keyless Entry Components
Keyless Entry Schematics
Keyless Entry Schematics
Ground Distribution Schematics
Keyless Entry Schematics

Circuit Description

The remote keyless entry keyfob sends a radio signal to the body control module (BCM) to unlock all of the doors when the keyfob is pressed two times in succession. When the BCM receives the unlock all doors signal, the BCM applies battery voltage to the door unlock relay control circuit. Ground for the door unlock relay is supplied at all times.

Conditions for Running the DTC

Voltage supplied to the body control module is in the normal operating range (approximately 9-16 volts).

Conditions for Setting the DTC

The door unlock relay control is shorted to battery voltage for 30 seconds.

Action Taken When the DTC Sets

All door lock and unlock functions are inoperative from the keyfob as long as the malfunction is present.

Conditions for Clearing the DTC

    • A current DTC B3133 will clear when the malfunction is no longer present.
    • All BCM history codes clear after 100 ignition cycles with no current codes active during the 100 ignition cycles.

Diagnostic Aids

Pressing and holding the door unlock switch for 30 seconds will also set this DTC.

Test Description

The number(s) below refer to the step number(s) on the diagnostic table.

  1. Listen for an audible click when the door unlock relay operates. Command both the ON and OFF states. Repeat the commands as necessary.

  2. Verifies that the BCM is providing voltage to the door unlock relay.

  3. Tests for an open in the ground circuit to the door unlock relay.

  4. Tests if voltage is constantly being applied to the door unlock relay.

Step

Action

Yes

No

1

Did you perform the Door Systems Diagnostic System Check?

Go to Step 2

Go to Diagnostic System Check - Door Systems

2

  1. Install a scan tool.
  2. Turn ON the ignition, with the engine OFF.
  3. With a scan tool, command the door unlock relay ON and OFF.

Does the door unlock relay turn ON and OFF with each command?

Go to Diagnostic Aids

Go to Step 3

3

  1. Turn OFF the ignition.
  2. Disconnect the door unlock relay.
  3. Turn ON the ignition, with the engine OFF.
  4. Probe the control circuit of the door unlock relay with a test lamp connected to a good ground.
  5. With a scan tool, command the door unlock relay ON and OFF.

Does the test lamp turn ON and OFF with each command?

Go to Step 4

Go to Step 5

4

  1. Connect a test lamp between the control circuit of the door unlock relay and the ground circuit of the door unlock relay.
  2. With a scan tool, command the door unlock relay ON and OFF.

Does the test lamp turn ON and OFF with each command?

Go to Step 8

Go to Step 10

5

Does the test lamp remain illuminated with each command?

Go to Step 7

Go to Step 6

6

Test the control circuit of the door unlock relay for a short to ground or an open. Refer to Circuit Testing and Wiring Repairs in Wiring Systems.

Did you find and correct the condition?

Go to Step 13

Go to Step 9

7

Test the control circuit of the door unlock relay for a short to voltage. Refer to Circuit Testing and Wiring Repairs in Wiring Systems.

Did you find and correct the condition?

Go to Step 13

Go to Step 9

8

Inspect for poor connections at the door unlock relay. Refer to Testing for Intermittent Conditions and Poor Connections and Connector Repairs in Wiring Systems.

Did you find and correct the condition?

Go to Step 13

Go to Step 11

9

Inspect for poor connections at the harness connector of the BCM. Refer to Testing for Intermittent Conditions and Poor Connections and Connector Repairs in Wiring Systems.

Did you find and correct the condition?

Go to Step 13

Go to Step 12

10

Repair the ground circuit of the door unlock relay. Refer to Wiring Repairs in Wiring Systems.

Did you complete the repair?

Go to Step 13

--

11

Replace the door unlock relay.

Did you complete the replacement?

Go to Step 13

--

12

Important: Perform the setup procedure for the BCM. Refer to Body Control Module (BCM) Programming/RPO Configuration .

Replace the BCM. Refer to Body Control Module Replacement in Body Control System.

Did you complete the replacement?

Go to Step 13

--

13

  1. Use the scan tool in order to clear the DTCs.
  2. Operate the vehicle within the Conditions for Running the DTC as specified in the supporting text.

Does the DTC reset?

Go to Step 2

System OK