GM Service Manual Online
For 1990-2009 cars only

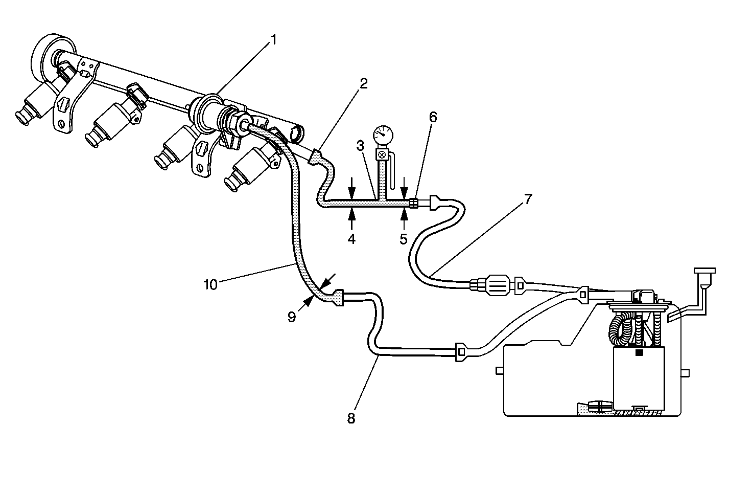
Object Number: 172532  Size: MF
(1)Fuel Pressure Regulator
(2)Quick Connect
(3)Fuel Pressure Gauge Kit J 29658 D
(4)Fuel Hose Pinch Point
(5)Fuel Hose Pinch Point
(6)Quick Connect Adapter
(7)Fuel Pressure Pipe
(8)Fuel Return Pipe
(9)Fuel Hose Pinch Point
(10)Flexible Hose

System Description

The powertrain control module (PCM) can identify if the vehicle fuel system is capable of supplying adequate amounts of fuel during heavy acceleration. This condition is called a power enrichment mode of operation. If power enrichment is requested during a Closed Loop operation, the PCM will provide more fuel to the engine. Under these conditions, the PCM should detect a rich condition. If the PCM does not detect a rich exhaust at this time, DTC P1171 will set. A plugged fuel filter, or a restricted fuel line can prevent adequate amounts of fuel from being supplied during the power enrichment mode.

Conditions for Running the DTC

    • DTCs P0131, P0132, P0133, P0134, and P1133 are not set.
    • The engine coolant temperature is more than 20°C (70°F).
    • The engine has been running for longer than 20 seconds.
    • The engine is operating in a Closed Loop operation.

Conditions for Setting the DTC

    • The O2S 1 voltage is less than 300 mV for 5 seconds.
    • The engine is in the power enrichment mode.

Action Taken When the DTC Sets

    • The PCM will record the operating conditions at the time during which the diagnostic fails. This information will store in the Failure Records buffer.
    • A history DTC stores.
    • The coolant fan turns ON.

Conditions for Clearing the MIL/DTC

    • A history DTC will clear after 40 consecutive warm up cycles without a fault.
    • A scan tool can clear the MIL/DTCs.

Diagnostic Aids

    • A restricted fuel filter can supply adequate amounts of fuel at idle, but may not be able to supply enough fuel during a heavy acceleration.
    • Water or alcohol in the fuel may cause a low O2S 1 voltage during acceleration.
    • Check for an adequate amount of fuel in the fuel tank.
    • When the engine is idling or at steady cruise, the O2S 1 voltage should vary from between approximately 100 mV to 900 mV. During the power enrichment mode, more fuel is needed and O2S 1 voltage should rise above 447 mV.
    • Check for malfunctioning or plugged injectors.

Test Description

The numbers below refer to the step numbers on the diagnostic table.

  1. The Powertrain On-Board Diagnostic (OBD) System Check prompts you to complete some of the basic checks and to store the Freeze Frame and Failure Records data on the scan tool if applicable. This creates an electronic copy of the data captured when this DTC sets. The scan tool stores this data for later reference.

  2. This step checks to see if the O2S 1 is operating properly.

  3. If no malfunctions are present at this point and no additional DTCs were set, refer to the Diagnostic Aids for additional checks and information.

DTC P1171-Fuel System Lean During Acceleration

Step

Action

Value(s)

Yes

No

1

Did you perform the Powertrain On-Board Diagnostic (OBD) System Check?

--

Go to Step 2

Go to Powertrain On Board Diagnostic (OBD) System Check .

2

  1. Turn ON the ignition, with the engine OFF.
  2. Install a scan tool.

Are any component related DTCs set?

--

Go to Component DTC table

Go to Step 3

3

  1. Check the vehicle for an adequate amount of fuel.
  2. Add fuel to the vehicles fuel tank if the tank is almost empty.

Was it necessary to add fuel?

--

Go to Step 5

Go to Step 4

4

  1. Start the engine.
  2. Run the engine at the specified temperature and RPM.
  3. Observe the O2S 1 voltage with the scan tool.
  4. The O2S 1 voltage should vary from the specified voltage and occasionally toggle above the specified voltage.

Does the O2S 1 toggle?

75°C-95°C (167°F-203°F)

1,200 RPM

100-900 mV

447 mV

Go to Fuel System Diagnosis .

Go to DTC P0134 O2S Circuit Insufficient Activity Sensor 1 .

5

  1. Using the scan tool, clear the DTCs.
  2. Start the engine.
  3. Idle the engine at the normal operating temperature.
  4. Operate the vehicle within the Conditions for Running this DTC as specified in the supporting text.

Does the scan tool indicate that this diagnostic has ran and passed?

--

Go to Step 6

Go to Step 2

6

Check to see if any additional DTCs are set.

Does the scan tool display any DTCs that you have not diagnosed?

--

Go to applicable DTC table

System OK