GM Service Manual Online
For 1990-2009 cars only

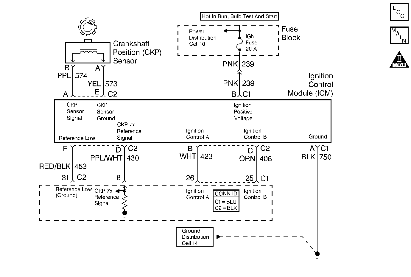
Object Number: 408265  Size: MF
Engine Controls Components
Ignition Controls
OBD II Symbol Description Notice
Powertrain Control Module Connector End Views

Circuit Description

The electronic ignition control module (ICM) sends a reference signal to the Powertrain Control Module (PCM) seven times per crankshaft revolution to indicate crankshaft position and RPM so that the PCM can determine when to pulse the ignition coils and control the ignition timing. This signal is called medium resolution, 7X reference, because it occurs seven times per crankshaft revolution. The ICM applies 5 volts through the 7X reference circuit and, in effect, switches this circuit to ground for a very short period of time. The seventh pulse is the sync pulse and is used for crankshaft position reference.

Conditions For Running The DTC

    • The engine is running.
    • DTC P0341 is not set.

Conditions for Setting the DTC

The CKP resync counter reaches a count of more than 15 within 4 minutes and 15 seconds.

Action Taken When the DTC Sets

    • The malfunction indicator lamp (MIL) will illuminate after two consecutive ignition cycles in which the diagnostic runs with the fault active.
    • The PCM records the operating conditions at the time when the diagnostic fails. This information stores in the Freeze Frame and Failure Records buffers.
    • A history DTC stores.
    • The coolant fan turns ON.

Conditions for Clearing the MIL/DTC

    • The MIL will turn OFF after three consecutive ignition cycles in which the diagnostic runs without a fault.
    • A history DTC will clear after 40 consecutive warm-up cycles without a fault.
    • Use a scan tool to clear the DTCs.

Diagnostic Aids

    • If the complaint was Engine Cranks But Will Not Run, DTC P0335 may be set by attempting to start the engine more than 15 times without turning the ignition OFF between attempts.
    • An intermittent problem may be caused by the following conditions:
       - Rubbed-through wire insulation
       - A faulty electrical connection
       - A broken wire inside the insulation
    • Thoroughly inspect any suspected circuitry for the following conditions:
       - Backed-out terminals
       - Improper mating
       - Broken locks
       - Improperly formed or damaged terminals
       - Damaged terminals
       - Faulty terminal-to-wire connections
       - Physical damage to the wiring harness
    • An intermittent can also be the result of a defective reluctor wheel. Remove the crankshaft sensor and inspect the reluctor wheel through the hole. Check for the porosity and the condition of the wheel.

Test Description

The numbers below refer to the step numbers on the diagnostic table:

  1. When a medium resolution resync occurs, engine stumble should also occur. If a component's connection or wire is malfunctioning, an engine stumble or a medium resolution resync may be induced by wiggling the circuit and/or connector.

Step

Action

Values

Yes

No

1

Did you perform the Powertrain On-Board Diagnostic (OBD) System Check?

--

Go to Step 2

Go to Powertrain On Board Diagnostic (OBD) System Check

2

Attempt to start the engine.

Does the engine start and run?

--

Go to Step 3

Go to Engine Cranks but Does Not Run

3

Inspect the wiring harness of the CKP sensor including the CKP reference signal circuit from the ICM to the PCM for improper routing near the high voltage circuits. Inspect all other circuitry or for contact with metal surface and moving components.

Did you find and correct any condition?

--

Go to Step 8

Go to Step 4

4

Caution: Avoid contact with moving parts and hot surfaces while working around a running engine in order to prevent physical injury.

With the engine running, wiggle the harness connectors of the following components and related circuits, while listening for the engine to stumble:

    • The PCM
    • The ICM
    • The CKP

Does the engine stumble?

--

Go to Step 5

Go to Diagnostic Aids

5

  1. Inspect the CKP sensor signal circuit for the following conditions:
  2. • An open
    • A short to ground
    • A short to voltage
    • A faulty connection
  3. If a problem is found, repair the condition as necessary. Refer to Wiring Repairs in Wiring Systems.

Did you find and correct the condition?

--

Go to Step 8

Go to Step 6

6

  1. Inspect the CKP sensor ground circuit for the following conditions:
  2. • An open
    • A short to voltage
    • A faulty connection
  3. If a problem is found, repair the condition as necessary. Refer to Wiring Repairs in Wiring Systems.

Did you find and correct the condition?

--

Go to Step 8

Go to Step 7

7

Important: Refer to Powertrain Control Module Replacement/Programming .

Replace the PCM. Refer to Powertrain Control Module Replacement .

Did you complete the replacement?

--

Go to Step 8

Go to Diagnostic Aids

8

  1. Use a scan tool to clear the DTCs.
  2. Operate the vehicle within the Conditions for Setting the DTC as specified in the supporting text.

Does the DTC reset?

--

Go to Step 3

System OK