GM Service Manual Online
For 1990-2009 cars only

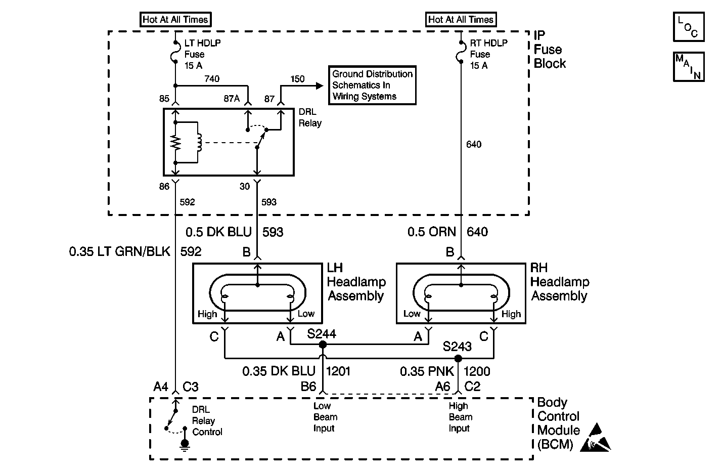
Object Number: 490918  Size: MF
Lighting Systems Components
Headlamps, Headlamp Switch and Body Control Module
Ground Distribution Schematics

Circuit Description

The daytime running lamps (DRL) are controlled by the body control module (BCM). The BCM grounds the DRL relay control circuit in order to energize the DRL relay coil. This action places both low and high beam headlamps in series with each other with the DRL relay terminal 87 providing the ground and the RT HDLP fuse providing battery positive voltage. The BCM monitors the low and high beam circuits to ensure that the DRLs are operating properly. If the BCM senses that the DRLs are not operating properly, DTC B2600 is set.

Conditions for Running the DTCs

    • The headlamp switch is off.
    • The park brake is unapplied.
    • The transaxle is in gear.

Conditions for Setting the DTC

One or more of the following conditions is/are present:

    • The DRL relay control circuit is open.
    • The DRL relay output circuit is open.
    • The right headlamp power feed circuit is open.
    • The left headlamp power feed circuit is open.
    • The DRL relay ground circuit is open.

Action Taken When the DTC Sets

    • The BCM turns off the DRL relay control for the remainder of the ignition cycle.
    • The SERVICE VEHICLE SOON indicator lights

Conditions for Clearing the DTC

    • A current DTC B2600 clears when the malfunction is no longer present and the ignition switch is cycled.
    • All BCM history codes clear after 100 ignition cycles (from OFF to ON) with no current codes active during the 100 ignition cycles.

Diagnostic Aids

    • Diagnose all other DRL DTCs before DTC B2600.
    • If the DTC is a history DTC, the problem may be intermittent. Perform the above tests while wiggling the wiring and connectors. This may often cause the malfunction to appear.

Test Description

The number(s) below refer to the step number(s) on the diagnostic table.

  1. Listen for an audible click when the DRL relay operates. Command both the ON and OFF states. Repeat the commands as necessary.

  2. Tests for voltage at the coil side of the DRL relay.

  3. Verifies that the body control module is providing ground to the DRL relay.

Step

Action

Yes

No

1

Did you perform the Lighting Systems Diagnostic System Check?

Go to Step 2

Go to Diagnostic System Check - Lighting Systems

2

Inspect the LT HDLP fuse.

Is the fuse open?

Go to Step 8

Go to Step 3

3

Inspect the RT HDLP fuse.

Is the fuse open?

Go to Step 10

Go to Step 4

4

  1. Install a scan tool.
  2. Turn ON the ignition, with the engine OFF.
  3. With a scan tool, command the DRL relay ON and OFF.

Does the DRL relay turn ON and OFF with each command?

Go to Step 12

Go to Step 5

5

  1. Turn OFF the ignition.
  2. Disconnect the DRL relay.
  3. Turn ON the ignition, with the engine OFF.
  4. Probe the coil side feed circuit of the DRL relay with a test lamp that is connected to a good ground.

Does the test lamp illuminate?

Go to Step 6

Go to Step 17

6

  1. Connect a test lamp between the control circuit of the DRL relay connector and the coil side feed circuit of the DRL relay connector.
  2. With a scan tool, command the DRL relay ON and OFF .

Does the test lamp turn ON and OFF with each command?

Go to Step 18

Go to Step 7

7

Test the control circuit of the DRL relay for an open. Refer to Circuit Testing and Wiring Repairs in Wiring Systems.

Did you find and correct the condition?

Go to Step 20

Go to Step 15

8

Test the coil side feed circuit of the DRL relay for a short to ground. Refer to Circuit Testing and Wiring Repairs in Wiring Systems.

Did you find and correct the condition?

Go to Step 20

Go to Step 9

9

Replace the LT HDLP fuse.

Did you complete the replacement?

Go to Step 20

--

10

Test the right headlamp feed for a short to ground. Refer to Circuit Testing and Wiring Repairs in Wiring Systems.

Did you find and correct the condition?

Go to Step 20

Go to Step 11

11

Replace the RT HDLP fuse.

Did you complete the replacement?

Go to Step 20

--

12

Test the ground feed of the DRL relay for an open. Refer to Circuit Testing and Wiring Repairs in Wiring Systems.

Did you find and correct the condition?

Go to Step 20

Go to Step 13

13

Test the DRL relay output circuit between the DRL relay and the left headlamp for an open. Refer to Circuit Testing and Wiring Repairs in Wiring Systems.

Did you find and correct the condition?

Go to Step 20

Go to Step 14

14

Test the following circuits for an open:

    • The lowbeam circuit
    • The highbeam circuit

Refer to Circuit Testing and Wiring Repairs in Wiring Systems.

Did you find and correct the condition?

Go to Step 20

Go to Step 15

15

Inspect for poor connections at the harness connector of the body control module. Refer to Testing for Intermittent Conditions and Poor Connections and Connector Repairs in Wiring Systems.

Did you find and correct the condition?

Go to Step 20

Go to Step 16

16

Important: Perform the set up procedure for the body control module. Refer to Body Control Module (BCM) Programming/RPO Configuration .

Replace the body control module. Refer to Body Control Module Replacement in Body Control System.

Did you complete the replacement?

Go to Step 20

--

17

Repair the coil side feed circuit of the DRL relay. Refer to Wiring Repairs in Wiring Systems.

Did you complete the repair?

Go to Step 20

--

18

Inspect for poor connections at the DRL relay. Refer to Testing for Intermittent Conditions and Poor Connections and Connector Repairs in Wiring Systems.

Did you find and correct the condition?

Go to Step 20

Go to Step 19

19

Replace the DRL relay.

Did you complete the replacement?

Go to Step 20

--

20

  1. Use the scan tool in order to clear the DTCs .
  2. Operate the vehicle within the Conditions for Running the DTC as specified in the supporting text.

Does the DTC reset?

Go to Step 2

System OK