GM Service Manual Online
For 1990-2009 cars only

Removal Procedure

  1. Drain the cooling system. Refer to Cooling System Draining and Filling .

  2. Object Number: 33611  Size: SH
  3. Remove the exhaust manifold heat shield bolts and shield.

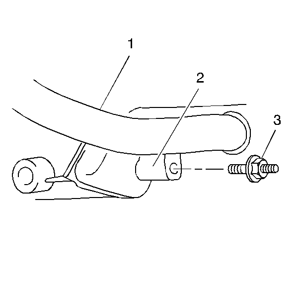
  4. Object Number: 25787  Size: SH
  5. Remove the cover to the outlet pipe bolt (1) through the exhaust manifold runners.
  6. Raise the vehicle. Refer to Lifting and Jacking the Vehicle in General Information.

  7. Object Number: 25807  Size: SH
  8. Disconnect the radiator outlet hose (1) from the radiator outlet pipe (3).

  9. Object Number: 25789  Size: SH
  10. Remove the radiator outlet pipe (1) to the oil pan (2) bolt (3).
  11. Remove right front wheel/tire assembly. Refer to Tire and Wheel Removal and Installation in Tires and Wheels.
  12. Remove right engine splash shield. Refer to Engine Splash Shield Replacement in Body Front End.
  13. Remove trans-to-engine brace.

  14. Object Number: 25784  Size: SH
  15. Remove the radiator outlet pipe.
  16. Remove the thermostat (2).
  17. Clean the mating surfaces of the radiator outlet pipe and the coolant pump cover.

Installation Procedure


    Object Number: 25784  Size: SH
  1. Install the thermostat (2).
  2. Install radiator outlet pipe.
  3. Notice: Use the correct fastener in the correct location. Replacement fasteners must be the correct part number for that application. Fasteners requiring replacement or fasteners requiring the use of thread locking compound or sealant are identified in the service procedure. Do not use paints, lubricants, or corrosion inhibitors on fasteners or fastener joint surfaces unless specified. These coatings affect fastener torque and joint clamping force and may damage the fastener. Use the correct tightening sequence and specifications when installing fasteners in order to avoid damage to parts and systems.


    Object Number: 25789  Size: SH
  4. Install the radiator outlet pipe (1) to oil pan (2).
  5. Tighten
    Tighten the outlet pipe to oil pan bolt to 26 N·m (19 lb ft).


    Object Number: 25807  Size: SH
  6. Connect the radiator hose (1) to the outlet pipe (3).
  7. Install trans-to-engine brace.
  8. Install right engine splash shield. Refer to Engine Splash Shield Replacement in Body Front End.
  9. Install right front wheel/tire assembly. Refer to Tire and Wheel Removal and Installation in Tires and Wheels.
  10. Lower the vehicle.

  11. Object Number: 25787  Size: SH
  12. Install the outlet pipe bolts(1) through the exhaust manifold runners.
  13. Tighten
    Tighten bolts to 14 N·m(10 lb ft).


    Object Number: 33611  Size: SH
  14. Install the exhaust manifold heat shield and bolts.
  15. Tighten
    Tighten the exhaust manifold heat shield bolts to 14 N·m (10 lb ft).

  16. Fill the cooling system. Refer to Cooling System Draining and Filling .
  17. Start the engine. After the engine reaches normal operating temperature, check for coolant leaks.