GM Service Manual Online
For 1990-2009 cars only

Trim Height Measurements

Trim height is a predetermined measurement relating to vehicle ride height. Incorrect trim heights can cause bottoming out over bumps, damage to the suspension components and symptoms similar to wheel alignment problems. Check the trim heights when diagnosing suspension concerns and before checking the wheel alignment.

Perform the following before measuring the trim heights:

  1. Set the tire pressures to the pressure shown on the certification label. Refer to Vehicle Certification Label in General Information.
  2. Check the fuel level. Add additional weight if necessary to simulate a full tank.
  3. Make sure the rear compartment is empty except for the spare tire.
  4. Make sure the vehicle is on a level surface, such as an alignment rack.
  5. Close the doors.
  6. Close the hood.
  7. All dimensions are measured vertical to the ground. Trim heights should be within +/- 10 mm (+/-3/8 in) to be considered correct.

Z Height Measurement

The Z height dimension measurement determines the proper ride height for the front end of the vehicle. There is no adjustment procedure. Repair may require replacement of suspension components.

  1. Lift the front bumper of the vehicle up about 38 mm (1.5 in).
  2. Gently remove your hands. Let the vehicle settle.
  3. Repeat this operation for a total of 3 times.

  4. Object Number: 597960  Size: SH
  5. Measure from bottom surface of the cradle (in line with the ball joint) to the bottom of the lower ball joint in order to obtain the Z height measurement.
  6. Push the front bumper of the vehicle down about 38 mm (1.5 in).
  7. Gently remove your hands.
  8. Allow the vehicle to settle into position.
  9. Repeat the jouncing operation 2 more times for a total of 3 times.
  10. Measure the Z dimension.
  11. The true Z height dimension number is the average of the high and the low measurements. Refer to Trim Height Specifications .

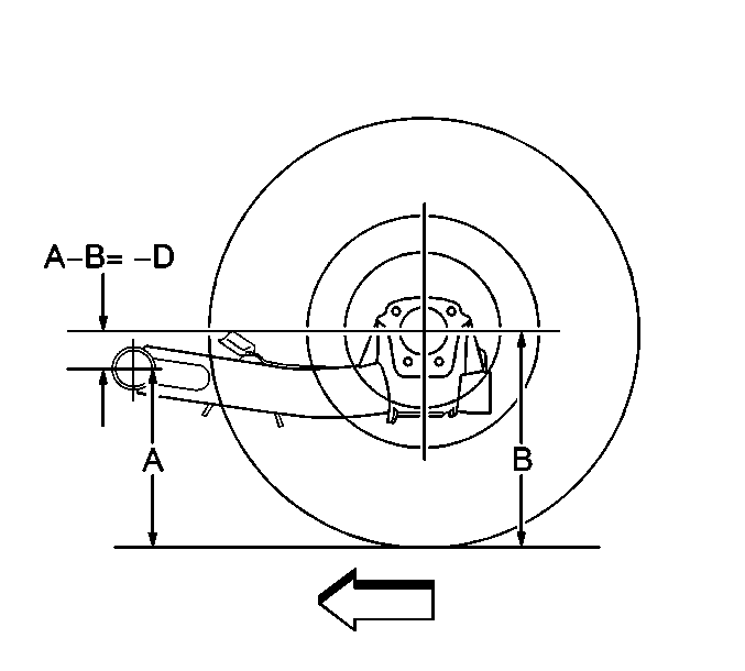
D Height Measurement

The D height dimension measurement determines the proper rear end ride height. There is no adjustment procedure. Repair may require replacement of suspension components.

  1. With the vehicle on a flat surface, lift upward on the rear bumper 38 mm (1.5 in).
  2. Gently remove your hands.
  3. Allow the vehicle to settle into position.

  4. Repeat the jouncing operation 2 more times for a total of 3 times.

  5. Object Number: 597962  Size: SH
  6. Measure the D height by measuring the distance between the bumper bracket and the top of the rear axle tube.
  7. Push the rear bumper downward to 38 mm (1.5 in).
  8. Gently remove your hands.
  9. Allow the vehicle to settle into position.

  10. Repeat the jouncing operation 2 more times for a total of 3 times.
  11. Measure the D height dimension.
  12. The true D height dimension number is the average of the high and the low measurements. Refer to Trim Height Specifications .
  13. If these measurements are out of specifications, inspect for the following conditions:
  14. • Improper weight distribution
    • Collision damage
    • Worn or damaged suspension components