GM Service Manual Online
For 1990-2009 cars only

Steering Shaft, Lower Bearing, and Jacket - Assemble - Off Vehicle Tilt

Tools Required

J 41688 Centering Sphere Installer


    Object Number: 332949  Size: SH
  1. Lubricate the centering sphere (1) with lithium grease.
  2. Install the centering sphere (1) and the joint preload spring (2) into J 41688 .

  3. Object Number: 299881  Size: SH
  4. Compress the centering sphere and joint preload spring with J 41688 .

  5. Object Number: 299885  Size: SH
  6. Install the upper shaft assembly.
  7. After the race and upper shaft assembly (1) is firmly attached to the centering sphere, rotate the shaft 90 degrees downward in order to lock the centering sphere in place.

  8. Object Number: 299887  Size: SH
  9. Remove the centering sphere installer and the race and upper shaft assembly from the vise.
  10. Disassemble J 41688 by separating the base. After the tool is disassembled, remove the race and upper shaft from J 41688 .

  11. Object Number: 299888  Size: SH
  12. Lubricate the centering sphere with lithium grease.
  13. Using the alignment marks from the disassemble procedure, tilt the upper and lower shafts 90 degrees to each other and engage.

  14. Object Number: 372991  Size: SH

    Notice: Use the correct fastener in the correct location. Replacement fasteners must be the correct part number for that application. Fasteners requiring replacement or fasteners requiring the use of thread locking compound or sealant are identified in the service procedure. Do not use paints, lubricants, or corrosion inhibitors on fasteners or fastener joint surfaces unless specified. These coatings affect fastener torque and joint clamping force and may damage the fastener. Use the correct tightening sequence and specifications when installing fasteners in order to avoid damage to parts and systems.

  15. Install the steering column support assembly to the steering column jacket assembly with the 4 support screws.
  16. Tighten
    Tighten the screws to 8 N·m (71 lb in).


    Object Number: 372988  Size: SH
  17. Install the steering shaft assembly into the steering column support assembly.

  18. Object Number: 372985  Size: SH
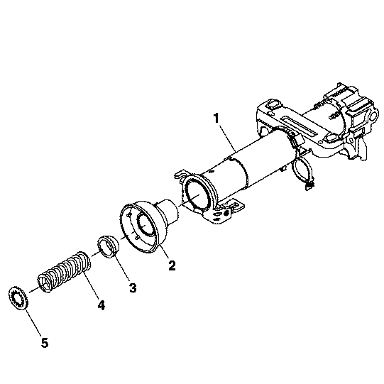
  19. Install the adapter and bearing assembly (2) to the steering column jacket assembly (1). Position the tab on the adapter and bearing assembly with the slot in steering column jacket assembly and push together.
  20. Install the lower bearing seat (3).
  21. Install the lower bearing spring (4).
  22. Install the new lower spring retainer (5).
  23. When installing, compress the lower bearing spring (4) to the length of 23.5 mm (0.93 in) between the lower bearing seat (3) and the lower spring retainer (5).

    Caution: Improper routing of the wire harness assembly may damage the inflatable restraint steering wheel module coil. This may result in a malfunction of the coil, which may cause personal injury.

  24. Install the steering column jacket. Refer to Steering Column Jacket - Assemble - Off Vehicle .
  25. Enable the inflatable restraint steering wheel module. Refer to Enabling the SIR System in SIR.