Removal Procedure
- Lower the window to the full DOWN position.
- Remove the door outer belt sealing strip. Refer to
Front Side Door Window Belt Outer Sealing Strip Replacement
or
Rear Door Window Belt Outer Sealing Strip Replacement
.
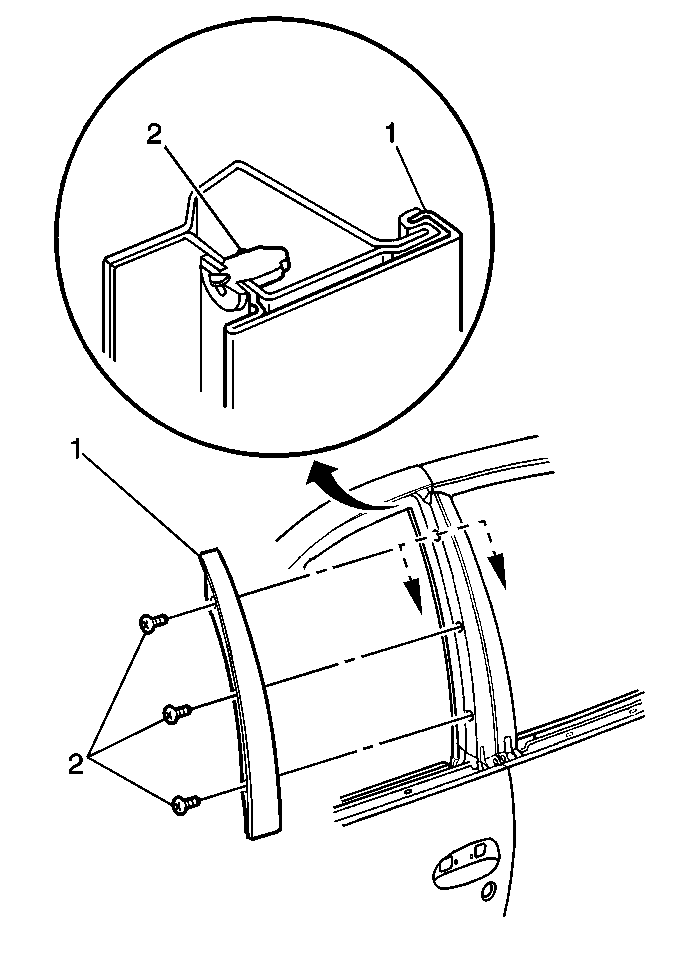
- Pull the door window channel
retainer at the door window frame applique (1) in order to access the
door window frame applique screws (2).
- Remove the screws (2) from the door window frame applique.
- Pull and slide the door window frame applique in order to disengage
the applique (1) from the door.
Installation Procedure
- Slide and push the door
window frame applique (1) in order to engage the applique onto the
door.
Notice: Use the correct fastener in the correct location. Replacement fasteners
must be the correct part number for that application. Fasteners requiring
replacement or fasteners requiring the use of thread locking compound or sealant
are identified in the service procedure. Do not use paints, lubricants, or
corrosion inhibitors on fasteners or fastener joint surfaces unless specified.
These coatings affect fastener torque and joint clamping force and may damage
the fastener. Use the correct tightening sequence and specifications when
installing fasteners in order to avoid damage to parts and systems.
- Install the screws (2)
to the door window frame applique.
Tighten
Tighten the door window frame applique screws (2) to 2 N·m
(20 lb in).
- Install the door outer belt sealing strip. Refer to
Front Side Door Window Belt Outer Sealing Strip Replacement
or
Rear Door Window Belt Outer Sealing Strip Replacement
.
- Push the door window channel retainer in order to seat the retainer.