GM Service Manual Online
For 1990-2009 cars only

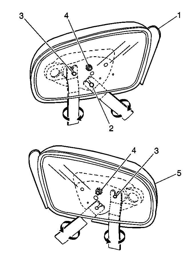
Tools Required

J 38778 Door Trim Pad Remover

Removal Procedure

Caution: When working with any type of glass or sheet metal with exposed or rough edges, wear approved safety glasses and gloves in order to reduce the chance of personal injury.

  1. Insert the J 38778 (or equivalent) between the mirror backing plate and the housing.

  2. Object Number: 279018  Size: MH
  3. Remove the mirror from the backing plate.
  4. • For the left mirror (1), twist the J 38778 counterclockwise.
    • For the right mirror (5), twist the J 38778 clockwise.

    Object Number: 748357  Size: SH
  5. If the jackscrews came off in the mirror backing plate, press them to the side opposite the key (on the ball end) to remove them.

Installation Procedure

  1. Insert the jackscrews onto the motor drive pins. Once started, press the jackscrew sides together, then press down to seat them.

  2. Object Number: 748359  Size: SH
  3. Rotate the jack screw keys (2) in order to ensure that the keys face the center hub (3).

  4. Object Number: 625761  Size: SH
  5. With the palm of your gloved hand, press firmly on the center of the glass until the case seats onto the hub.
  6. Pivot the mirror to engage the jackscrews.
  7. Rotate the mirror face back and forth. A clicking sound will be heard when the jack screws are properly engaged.