GM Service Manual Online
For 1990-2009 cars only

Tools Required

J 38778 Door Trim Pad and Garnish Clip Remover

Removal Procedure


    Object Number: 581560  Size: SH
  1. Remove the manual window regulator handle, if equipped. Refer to Door Window Regulator Handle Replacement .
  2. Remove the power window switch, if equipped. Refer to Front Side Door Window Switch Replacement .
  3. Remove the upper trim finish panel screw.
  4. Remove the upper trim finish panel.
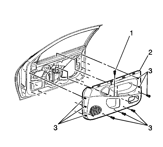
  5. Remove the door trim panel screws (3) from the trim panel.
  6. If sedan, remove the screws (1) by the pull handle.
  7. If coupe, remove the screw from the armrest.
  8. Using J 38778 and starting at the door bottom, disengage the door trim panel retainers.
  9. Lift up on the door trim panel to disengage the inner belt molding from the door flange.
  10. Remove the door trim panel from the door.
  11. Disconnect the power door lock switch connector.

Installation Procedure

  1. Position the trim panel to the front door.
  2. Connect the power door lock switch connector.
  3. Engage the inner belt molding over the door flange and press down.

  4. Object Number: 581560  Size: SH
  5. Align the front door trim panel retainers and press in until the retainers are fully seated.
  6. Notice: Use the correct fastener in the correct location. Replacement fasteners must be the correct part number for that application. Fasteners requiring replacement or fasteners requiring the use of thread locking compound or sealant are identified in the service procedure. Do not use paints, lubricants, or corrosion inhibitors on fasteners or fastener joint surfaces unless specified. These coatings affect fastener torque and joint clamping force and may damage the fastener. Use the correct tightening sequence and specifications when installing fasteners in order to avoid damage to parts and systems.

  7. Install the door panel door trim panel screws (3).
  8. Tighten
    Tighten the panel screws to 2 N·m (18 lb in).

  9. Install the door armrest screws (1).
  10. Tighten
    Tighten the armrest screws to 3 N·m (27 lb in).

  11. Install the window regulator handle to the door, if equipped. Refer to Door Window Regulator Handle Replacement .
  12. Install the power window switch, if equipped. Refer to Front Side Door Window Switch Replacement .
  13. Install the upper trim finish panel.
  14. Install the upper trim panel screws.
  15. Tighten
    Tighten the screw to 1 N·m (9 lb in).