GM Service Manual Online
For 1990-2009 cars only
Table 1: Door Jamb Switch -- Driver
Table 2: Door Jamb Switch -- Front Passenger (Coupe)
Table 3: Door Jamb Switch -- Front Passenger (Sedan)
Table 4: Door Jamb Switch -- RR
Table 5: Door Jamb Switch -- LR
Table 6: Door Lock Motor -- Driver
Table 7: Door Lock Motor -- Front Passenger
Table 8: Door Lock Motor -- LR
Table 9: Door Lock Motor -- RR
Table 10: Door Lock Relay
Table 11: Door Lock Switch -- Driver (+AUO)
Table 12: Door Lock Switch -- Driver (- AUO)
Table 13: Door Lock Switch -- Front Passenger (+ AUO)
Table 14: Door Lock Switch -- Front Passenger (- AUO)
Table 15: Master Window Switch C1 (4 Door)
Table 16: Master Window Switch C2 (4 Door)
Table 17: Master Window Switch (2 door)
Table 18: Outside Mirror -- Right
Table 19: Outside Mirror Switch C1
Table 20: Outside Mirror Switch C2
Table 21: Window Motor -- Driver
Table 22: Window Motor -- Front Passenger
Table 23: Window Motor -- LR
Table 24: Window Motor -- RR
Table 25: Window Switch -- LR
Table 26: Window Switch -- RR

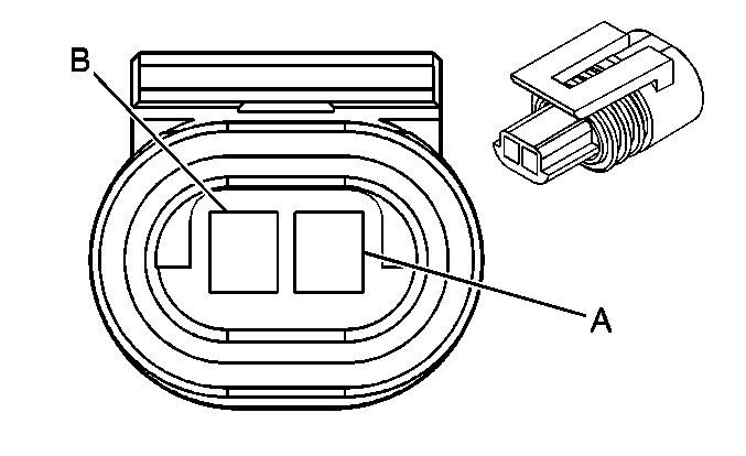
Door Jamb Switch -- Driver


Object Number: 295483  Size: CH

Connector Part Information

    • 15304635
    • 2-Way F Metri-Pack 150 Series (GRY)

Pin

Wire Color

Circuit No.

Function

A

LT GRN/BLK

394

Left Front Door Handle Switch Signal

B

BLK

150

Ground

Door Jamb Switch -- Front Passenger (Coupe)


Object Number: 295483  Size: CH

Connector Part Information

    • 15304635
    • 2-Way F Metri-Pack 150 Series (GRY)

Pin

Wire Color

Circuit No.

Function

A

LT BLU

395

Right Front Door Handle Switch Signal

B

BLK

250

Ground

Door Jamb Switch -- Front Passenger (Sedan)


Object Number: 295483  Size: CH

Connector Part Information

    • 15304635
    • 2-Way F Metri-Pack 150 Series (GRY)

Pin

Wire Color

Circuit No.

Function

A

LT BLU

395

Right Front Door Handle Switch Signal

B

BLK

250

Ground

Door Jamb Switch -- RR


Object Number: 35451  Size: CH

Connector Part Information

    • 12059251
    • 2-Way F Metri-Pack 150 Series (RED)

Pin

Wire Color

Circuit No.

Function

A

LT BLU

395

Right Front Door Handle Switch Signal

B

BLK

250

Ground

Door Jamb Switch -- LR


Object Number: 35451  Size: CH

Connector Part Information

    • 12059251
    • 2-Way F Metri-Pack 150 Series (RED)

Pin

Wire Color

Circuit No.

Function

A

LT BLU

395

Right Front Door Handle Switch Signal

B

BLK

250

Ground

Door Lock Motor -- Driver


Object Number: 68721  Size: CH

Connector Part Information

    • 15300027
    • 2-Way F Metri-Pack 280 Series (BLK)

Pin

Wire Color

Circuit No.

Function

A

TAN

294

Door Lock Motor Unlock

B

GRY

295

Door Lock Motor Lock

Door Lock Motor -- Front Passenger


Object Number: 68721  Size: CH

Connector Part Information

    • 15300027
    • 2-Way F Metri-Pack 280 Series (BLK)

Pin

Wire Color

Circuit No.

Function

A

TAN

294

Door Lock Motor Unlock

B

GRY

295

Door Lock Motor Lock

Door Lock Motor -- LR


Object Number: 68721  Size: CH

Connector Part Information

    • 15300027
    • 2-Way F Metri-Pack 280 Series (BLK)

Pin

Wire Color

Circuit No.

Function

A

TAN

294

Door Lock Motor Unlock

B

GRY

295

Door Lock Motor Lock

Door Lock Motor -- RR


Object Number: 68721  Size: CH

Connector Part Information

    • 15300027
    • 2-Way F Metri-Pack 280 Series (BLK)

Pin

Wire Color

Circuit No.

Function

A

TAN

294

Door Lock Motor Unlock

B

GRY

295

Door Lock Motor Lock

Door Lock Relay


Object Number: 62452  Size: CH

Connector Part Information

    • 12059561
    • 6-Way F Metri-Pack 280 Series (BLK)

Pin

Wire Color

Circuit No.

Function

A

LT BLU

195

Door Lock Control

B

GRY

295

Door Lock Motor Lock

C

ORN

1240

Battery Positive Voltage

D

BLK

250

Ground

E

TAN

294

Door Lock Motor Unlock

F

WHT

194

Door Unlock Control

Door Lock Switch -- Driver (+AUO)


Object Number: 73146  Size: CH

Connector Part Information

    • 12052854
    • 7-Way F Metri-Pack 280 Series (BLK)

Pin

Wire Color

Circuit No.

Function

A

--

--

Not Used

B

WHT

194

Door Unlock Control

C

LT BLU

195

Door Lock Control

D-E

--

--

Not Used

F

ORN

1240

Fuse Output Battery

G

--

--

Not Used

Door Lock Switch -- Driver (- AUO)


Object Number: 73146  Size: CH

Connector Part Information

    • 12052854
    • 7-Way F Metri-Pack 280 Series (BLK)

Pin

Wire Color

Circuit No.

Function

A

WHT

194

Door Unlock Control

B

TAN

294

Door Lock Actuator Unlock Control

C

GRY

295

Door Lock Actuator Lock Control

D-E

--

--

Not Used

F

ORN

1240

Fuse Output Battery

G

LT BLU

195

Door Lock Control"

Door Lock Switch -- Front Passenger (+ AUO)


Object Number: 73146  Size: CH

Connector Part Information

    • 12052854
    • 7-Way F Metri-Pack 280 Series (BLK)

Pin

Wire Color

Circuit No.

Function

A

BLK

250

Ground

A

--

--

Not Used

B

LT BLU

195

Door Lock Control

C

WHT

194

Door Unlock Control

D-E

--

--

Not Used

F

ORN

1240

Fuse Output Battery

G

--

--

Not Used

Door Lock Switch -- Front Passenger (- AUO)


Object Number: 73146  Size: CH

Connector Part Information

    • 12052854
    • 7-Way F Metri-Pack 280 Series (BLK)

Pin

Wire Color

Circuit No.

Function

A

BLK

250

Ground

A

--

--

Not Used

B

LT BLU

195

Door Lock Control

C

WHT

194

Door Unlock Control

D-E

--

--

Not Used

F

ORN

1240

Fuse Output Battery

G

BLK

250

Ground

Master Window Switch C1 (4 Door)


Object Number: 62456  Size: CH

Connector Part Information

    • 12064752
    • 6-Way F Metri-Pack 280 Series (BLK)

Pin

Wire Color

Circuit No.

Function

A

BLK

150

Ground

B

BRN

165

Power Window Motor Left Front Down

C

BRN

141

Ignition 3 Voltage

D

DK BLU

1307

Power Window Master Switch Lockout Signal

E

--

--

Not Used

F

DK BLU

164

Power Window Motor Left Front Up

Master Window Switch C2 (4 Door)


Object Number: 73155  Size: CH

Connector Part Information

    • 12089287
    • 8-Way F Metri-Pack 280 Series (NAT)

Pin

Wire Color

Circuit No.

Function

A

LT BLU

166

Power Window Master Switch Right Front Up Signal

B

GRY

8

Instrument Panel Lamp Supply Voltage - 1

C

DK GRN

168

Power Window Master Switch Left Rear Up Signal

D

--

--

Not Used

E

LT GRN

170

Power Window Master Switch Right Rear Up Signal

F

PPL

171

Power Window Master Switch Right Rear Down Signal

G

TAN

167

Power Window Master Switch Right Front Down Signal

H

PPL

169

Power Window Master Switch Left Rear Down Signal

Master Window Switch (2 door)


Object Number: 73155  Size: CH

Connector Part Information

    • 12089287
    • 8-Way F Metri-Pack 280 Series (WHT)

Pin

Wire Color

Circuit No.

Function

A

BRN

165

Power Window Motor Left Front Down

B

TAN

167

Power Window Master Switch Right Front Down Signal

C

--

--

Not Used

D

GRY

8

Instrument Panel Lamp Supply Voltage - 1

E

DK BLU

164

Power Window Motor Left Front Up

F

LT BLU

166

Power Window Master Switch Right Front Up Signal

G

BLK

150

Ground

H

BRN

141

Ignition 3 Voltage

Outside Mirror -- Right


Object Number: 39661  Size: CH

Connector Part Information

    • 12089925
    • 4-Way M Metri-Pack 150 Series (BLK)

Pin

Wire Color

Circuit No.

Function

A

LT BLU/WHT

1497

Right Mirror Select Switch

B

RED/WHT

881

Right Mirror Motor Right

C

BRN/WHT

1498

Right Mirror Motor Up

D

--

--

Not Used

Outside Mirror Switch C1


Object Number: 62434  Size: CH

Connector Part Information

    • 12059558
    • 8-Way M Metri-Pack 150 Series (BLK)

Pin

Wire Color

Circuit No.

Function

A

BLK

150

Ground

B

BRN/WHT

1498

Right Mirror Motor Up

C

RED/WHT

881

Right Mirror Motor Right

D

ORN

1040

Battery Positive Voltage

E

LT BLU/WHT

1497

Right Power Mirror Select

F-H

--

--

Not Used

Outside Mirror Switch C2


Object Number: 39661  Size: CH

Connector Part Information

    • 12089925
    • 4-Way M Metri-Pack 150 Series (BLK)

Pin

Wire Color

Circuit No.

Function

A

LT GRN

1499

Left Power Mirror Select Switch

B

WHT

81

Left Mirror Motor Right

C

YEL

88

Left Mirror Motor Up

D

--

--

Not Used

Window Motor -- Driver


Object Number: 295484  Size: CH

Connector Part Information

    • 12004140
    • 2-Way F Pack-Con (BLK)

Pin

Wire Color

Circuit No.

Function

A

BRN

165

Power Window Motor Left Front Down

B

DK BLU

164

Power Window Motor Left Front Up

Window Motor -- Front Passenger


Object Number: 295484  Size: CH

Connector Part Information

    • 12004140
    • 2-Way F Pack-Con (BLK)

Pin

Wire Color

Circuit No.

Function

A

LT BLU

166

Power Window Master Switch Output, Right Front Window (UP)

B

TAN

167

Power Window Master Switch Output, Right Front Window (DOWN)

Window Motor -- LR


Object Number: 295484  Size: CH

Connector Part Information

    • 12004140
    • 2-Way F Pack/ON 1

Pin

Wire Color

Circuit No.

Function

A

BRN

669

Power Window Motor Left Rear Down

B

DK BLU

668

Power Window Motor Left Rear Up

Window Motor -- RR


Object Number: 295484  Size: CH

Connector Part Information

    • 12004140
    • 2-Way F Pack-Con (BLK)

Pin

Wire Color

Circuit No.

Function

A

DK BLU

670

Power Window Motor Right Rear Up

B

BRN

671

Power Window Motor Right Rear Down

Window Switch -- LR


Object Number: 73146  Size: CH

Connector Part Information

    • 12052854
    • 7-Way Metri-Pack 280 Series (BLK)

Pin

Wire Color

Circuit No.

Function

A

PPL

169

Power Window Master Switch Left Rear Down Signal

B

BRN

669

Power Window Motor Left Rear Down

C

DK BLU

668

Power Window Motor Left Rear Up

D-E

--

--

Not Used

F

DK BLU

1307

Power Window Master Switch Lockout Signal

G

DK GRN

168

Power Window Master Switch Left Rear Up Signal

Window Switch -- RR


Object Number: 73146  Size: CH

Connector Part Information

    • 12052854
    • 7-Way Metri-Pack 280 Series (BLK)

Pin

Wire Color

Circuit No.

Function

A

PPL

171

Power Window Master Switch Right Rear Down Signal

B

BRN

671

Power Window Motor Right Rear Down

C

DK BLU

670

Power Window Motor Right Rear Up

D-E

--

--

Not Used

F

DK BLU

1307

Power Window Master Switch Lockout Signal

G

DK GRN

170

Power Window Master Switch Right Rear Up Signal