GM Service Manual Online
For 1990-2009 cars only

Removal Procedure


    Object Number: 424930  Size: MH

    Important: The following procedure was developed in order to repair stripped or damaged cagenuts when full lower rail replacement is not necessary. The procedure allows the cagenuts to be serviced from the underside of the vehicle. This is done by gaining access to and drilling out the hidden welds holding the cagenut bracket in place. The damaged cagenut and bracket can then be removed through the rail slot.

  1. Remove all the related panels and the components, including the suspension crossmember.

  2. Object Number: 424934  Size: SH
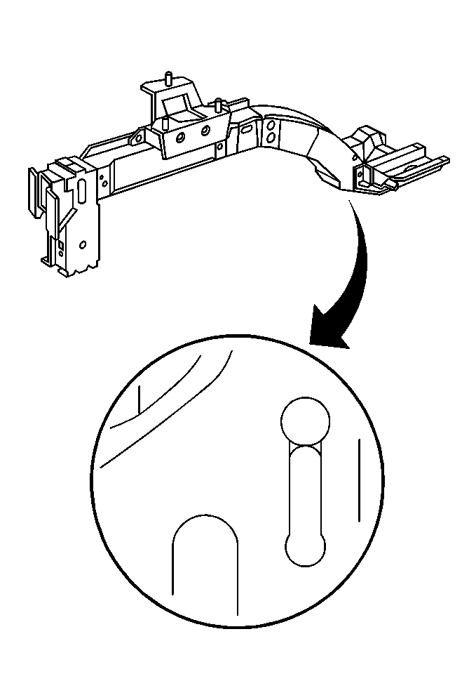
  3. Insert a pry bar between the torque box closeout panel and the lower rail in order to locate the 2 factory welds that secure the cagenut and for access to the lower rail surface (1).
  4. Bend the metal outward enough to expose the 2 factory welds.
  5. Mark the torque box area according to locations of the hidden welds.
  6. Straighten the torque box closeout panel.
  7. Center the punch and drill through the marked locations with a 10 mm (3/8 in) drill bit.
  8. Wrap a wire through the cagenut in order to keep the cagenut from sliding down into the rail.

  9. Object Number: 424937  Size: SH

    Important: If the rail slot is too narrow to remove the cagenut bracket, slightly grind the edges of the gap in order to make the rail slot wider. Do not remove more than 2 mm of metal from either side of the slot. Use care not to cut the wire holding the cagenut bracket.

  10. Rotate the damaged cageneut bracket. Remove the cagenut bracket through the rail slot (1).

Installation Procedure

  1. Prep the weld areas for installation as noted from the original part.
  2. Important: You may need to temporarily secure the new cagenut bracket to the rail using the crossmember mounting bolt.

  3. Wrap a wire through the new cagenut and install the cagenut and bracket through the rail slot (1).
  4. Position the new cagenut bracket. Inspect the fit using the body dimensions.
  5. Important: Grind the welds flush with the torque box surface to ensure proper fit of the suspension crossmember.


    Object Number: 424940  Size: LH
  6. Plug weld the cagenut bracket in place as noted from original locations. Completely fill the holes drilled in the torque box.
  7. Clean and prepare the welded surfaces.
  8. Prime the plug welds using two-part catalyzed primer.
  9. Important: Prior to refinishing, refer to GM 4901MD-99 Refinish Manual for recommended products. Do not combine paint systems. Refer to paint manufacturer's recommendations.

  10. Apply anti-corrosion protection materials, as necessary.
  11. Notice: Use the correct fastener in the correct location. Replacement fasteners must be the correct part number for that application. Fasteners requiring replacement or fasteners requiring the use of thread locking compound or sealant are identified in the service procedure. Do not use paints, lubricants, or corrosion inhibitors on fasteners or fastener joint surfaces unless specified. These coatings affect fastener torque and joint clamping force and may damage the fastener. Use the correct tightening sequence and specifications when installing fasteners in order to avoid damage to parts and systems.

  12. Install the suspension crossmember.
  13. Tighten
    Tighten the 6 suspension crossmember fasteners to 130 N·m (96 lb ft).

  14. Install all the related panels and components.