| Table 1: | Fuse Block--IP Label Usage |
| Table 2: | Fuse Block--IP Wire Entry |
| Table 3: | Fuse Block--Underhood Label Usage |
| Table 4: | Fuse Block--Underhood Wire Entry |
Fuse/Circuit Breaker | Rating | Description |
|---|---|---|
TURN-B/U Fuse | 10A | Turn Signal/Hazard Flasher Module, Back Up Lamp Switch (MM5), and PNP Switch (MX0/MX1) |
ERLS Fuse | 10A | A/C Relay (W/A/C), A/T Shift Lock Solenoid (MX0/MX1), Automatic Transaxle (MX0/MX1), Cruise Control Release Switch (W/K34), EVAP Canister Purge Soleniod, EVAP Canister Vent Soleniod, and Stop Lamp Switch (All MM5 or MX0/MX1 W/O K34) |
BCM/CLU Fuse | 10A | BCM and IPC |
PCM Fuse | 10A | PCM |
IGN MDL Fuse | 20A | ICM |
F/P-INJ Fuse | 15A | FUEL PUMP Relay |
AIR BG Fuse | 15A | SDM |
CRUISE Fuse (w/K34) | 10A | CCM and Cruise Control On/Off Switch Assembly |
ABS Fuse | 10A | EBCM |
RFA BATT Fuse | 15A | BCM |
MIRROR Fuse | 10A | Outside Rearview Mirror Switch |
LT HDLP Fuse | 15A | RELAY DRL Relay |
RDO/INTLP Fuse | 10A | BCM and Radio |
RT HDLP Fuse (Domestic) | 15A | Headlamp-Right |
FLS/PASS (Export) | 20A | Multifunction Turn Signal Switch |
CLSTR Fuse | 10A | BCM and IPC |
EXT LP Fuse | 20A | Multifunction Turn Signal Switch |
CIG Fuse | 20A | Cigar Lighter and DLC |
FOG Fuse | 10A | Fog Lamp Relay |
HORN Fuse | 15A | Horn Relay |
STOP/HZD Fuse | 20A | Stop Lamp Switch and Turn Signal/Hazard Flasher Module |
RR DEFOG Fuse | 30A | HVAC Control Assembly |
PWR ACC Fuse | 15A | Door Lock Swicth-Front Passenger, Door Lock Swicth-Driver and Door Lock/Unlock Relay (AUO) |
O2 HTR Fuse | 10A | HO2S Sensor 2 |
HVAC Fuse | 10A | HVAC Control Assembly and License Lamp Assembly (Pontiac Only) |
WIPER Fuse | 25A | Windshield Wiper Motor Assembly and Windshield Wiper Switch Assembly |
BCM Fuse | 10A | BCM |
AMPL | 20A(U85) 10A (UQ3) | Amplifier |
PWR WDO Circuit Breaker | 25A | Master Window Switch and Sunroof Control Module |
RELAY DRL Relay | -- | Headlights/Daytime Running Lights (DRL) |
HDLP Circuit Breaker (Export) | 20A | Multifunction Turn Signal Switch |
FUSE PULLER | -- | -- |
Connector Part Information |
| ||||||
|---|---|---|---|---|---|---|---|
Pin | Wire Color | Circuit No. | Function | ||||
A1 | -- | 3 | Ignition 1 Voltage Bus | ||||
A2 | PNK | 539 | Ignition 1 Voltage | ||||
PNK | 539 | Ignition 1 Voltage | |||||
A3 | -- | 3 | Ignition 1 Voltage Bus | ||||
A4 | PNK | 439 | Ignition 1 Voltage | ||||
A5 | -- | 3 | Ignition 1 Voltage Bus | ||||
A6 | PNK | 39 | Ignition 1 Voltage | ||||
PNK | 39 | Ignition 1 Voltage | |||||
A7 | PNK | 3 | Ignition 1 Voltage | ||||
A8 | PNK | 639 | Ignition 1 Voltage | ||||
A9 | -- | 3 | Ignition 1 Voltage Bus | ||||
A10 | PNK | 239 | Ignition 1 Voltage | ||||
B1 | -- | 3 | Ignition 1 Voltage Bus | ||||
B2 | PNK | 839 | Ignition 1 Voltage | ||||
B3 | -- | 3 | Ignition 1 Voltage Bus | ||||
B4 | YEL | 1139 | Ignition 1 Voltage | ||||
B5 | PNK | 3 | Ignition 1 Voltage | ||||
B6 | PNK | 339 | Ignition 1 Voltage | ||||
PNK | 339 | Ignition 1 Voltage | |||||
B7 | -- | 3 | Ignition 1 Voltage Bus | ||||
B8 | PNK | 739 | Ignition 1 Voltage | ||||
B9-B10 | -- | -- | Not Used | ||||
C1 | -- | 442 | Battery Positive Voltage Bus | ||||
C2 | ORN | 1940 | Battery Positive Voltage | ||||
C3 | -- | 442 | Battery Positive Voltage Bus | ||||
C4 | ORN | 1040 | Battery Positive Voltage | ||||
C5 | -- | 442 | Battery Positive Voltage Bus | ||||
C6 | ORN | 740 | Battery Positive Voltage | ||||
ORN | 740 | Battery Positive Voltage | |||||
C7 | RED | 442 | Battery Positive Voltage | ||||
C8 | ORN | 340 | Battery Positive Voltage | ||||
ORN | 340 | Battery Positive Voltage | |||||
C9 | -- | 442 | Battery Positive Voltage Bus | ||||
C10 | ORN | 640 | Battery Positive Voltage | ||||
D1 | -- | 442 | Battery Positive Voltage Bus | ||||
D2 | ORN | 1440 | Battery Positive Voltage | ||||
ORN | 1440 | Battery Positive Voltage | |||||
D3 | -- | 442 | Battery Positive Voltage Bus | ||||
D4 | ORN | 240 | Battery Positive Voltage | ||||
D5 | -- | 442 | Battery Positive Voltage Bus | ||||
D6 | ORN | 40 | Battery Positive Voltage | ||||
ORN | 40 | Battery Positive Voltage | |||||
D7 | RED | 442 | Battery Positive Voltage | ||||
D8 | ORN/BLK | 1140 | Battery Positive Voltage | ||||
D9 | -- | 442 | Battery Positive Voltage Bus | ||||
D10 | ORN | 1540 | Battery Positive Voltage | ||||
ORN | 1540 | Battery Positive Voltage | |||||
E1-E4 | -- | -- | Not Used | ||||
E5 | RED | 642 | Battery Positive Voltage | ||||
E6 | ORN | 140 | Battery Positive Voltage | ||||
ORN | 140 | Battery Positive Voltage | |||||
E7-E10 | -- | -- | Not Used | ||||
F1 | RED | 642 | Battery Positive Voltage | ||||
F2 | ORN | 1340 | Battery Positive Voltage | ||||
F3 | -- | 642 | Battery Positive Voltage Bus | ||||
F4 | ORN | 1240 | Battery Positive Voltage | ||||
F5-F10 | -- | -- | Not Used | ||||
G1 | ORN | 300 | Ignition 3 Voltage | ||||
G2 | BRN | 241 | Ignition 3 Voltage | ||||
G3 | -- | 300 | Ignition 3 Voltage Bus | ||||
G4 | BRN | 41 | Ignition 3 Voltage | ||||
G5-G10 | -- | -- | Not Used | ||||
H1 | BRN | 4 | Accessory Voltage | ||||
H2 | YEL | 143 | Accessory Voltage | ||||
YEL | 143 | Accessory Voltage | |||||
H3 | -- | 4 | Accessory Voltage Bus | ||||
H4 | YEL | 43 | Accessory Voltage | ||||
H5-H10 | -- | -- | Not Used | ||||
J1-J2 | -- | -- | Not Used | ||||
J3 | RED | 442 | Battery Positive Voltage | ||||
J4 | ORN | 440 | Battery Positive Voltage | ||||
J5-J10 | -- | -- | Not Used | ||||
K1 | -- | -- | Not Used | ||||
K2 | -- | 442 | Battery Positive Voltage Bus | ||||
K3 | ORN | 740 | Battery Positive Voltage -- Export Only | ||||
L1 | ORN | 740 | Battery Positive Voltage -- Domestic Only | ||||
L2 | -- | -- | Not Used | ||||
L3 | DK BLU | 593 | DRL Headlamp High Beam Supply Voltage -- Domestic Only | ||||
M1 | BLK | 150 | Ground -- Domestic Only | ||||
M2 | ORN | 740 | Battery Positive Voltage -- Domestic Only | ||||
M3 | LT GRN/BLK | 592 | DRL RelayControl -- Domestic Only | ||||
N1 | BRN | 141 | Ignition 3 Voltage | ||||
BRN | 141 | Ignition 3 Voltage | |||||
N2 | ORN | 300 | Ignition 3 Voltage | ||||
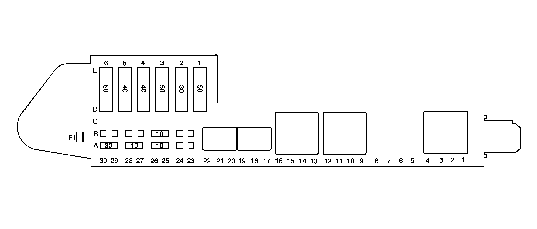
Fuse/Circuit Breaker | Rating | Description |
|---|---|---|
IGN Fuse | 50A | Ignition Switch |
BATT 1 Fuse | 40A | IP Fuse Block MIRROR, RT HDLP (Domestic), FLS/PASS (Export), RDO/INTLP, RFA BATT, AMPL, CIG, HORN, LT HDLP CLSTR, EXT LP, FOG Fuses and HDLP Circuit Breaker (Export Only) |
BATT 2 Fuse | 40A | CRANK Relay (Late Production), and IP Fuse Block RR DEFOG, PWR ACC, and STOP/HZD Fuses |
ABS Fuse | 50A | EBCM |
COOLING FAN Fuse | 30A | COOLING FAN Relay |
PCM/HVAC Fuse | 50A | A/C, BLO, and PCM Fuses |
TACH | -- | Not Used |
CRNK Fuse | 10A | CRANK Relay (MM5/Late Production) or PNP Switch (MX0/MX1/Late Production) |
BLO Fuse | 30A | HEATER BLOWER Relay |
PCM Fuse | 10A | PCM |
A/C Fuse | 10A | A/C Relay |
A/C Relay | -- | A/C Compressor Clutch and A/C Compressor Clutch Diode |
FUEL PUMP Relay | -- | Fuel Injectors and Fuel Pump |
CRANK Relay | -- | Starter Soleniod (Late Production) |
COOLING FAN Relay | -- | Cooling Fan Motor |
HEATER BLOWER Relay | -- | Blower Motor |
Connector Part Information |
| ||||||
|---|---|---|---|---|---|---|---|
Pin | Wire Color | Circuit No. | Function | ||||
A1 | -- | -- | Not Used | ||||
A2 | BRN/WHT | 64 | Blower Motor Relay Supply Voltage | ||||
A3 | -- | -- | Not Used | ||||
A4 | ORN | 540 | Battery Positive Voltage | ||||
A5-A9 | -- | -- | Not Used | ||||
A10 | DK GRN | 335 | Cooling Fan Relay Control | ||||
A11 | -- | -- | Not Used | ||||
A12 | RED | 542 | Battery Positive Voltage | ||||
A13 | -- | -- | Not Used | ||||
A14 | BLK | 150 | Ground (Late Production) | ||||
A15 | -- | -- | Not Used | ||||
A16 | RED | 642 | Battery Positive Voltage (Late Production) | ||||
A17 | BLK/WHT | 451 | Ground | ||||
A18 | -- | -- | Not Used | ||||
A19 | PNK | 839 | Ignition 1 Voltage | ||||
A20 | DK GRN/ WHT | 459 | A/C Compressor Clutch Relay Control | ||||
A21 | -- | -- | Not Used | ||||
A22 | ORN | 440 | Battery Positive Voltage | ||||
A23 | -- | -- | Not Used | ||||
A24 | -- | 1 | Battery Positive Voltage Bus | ||||
A25 | ORN | 440 | Battery Positive Voltage | ||||
A26 | -- | 1 | Battery Positive Voltage | ||||
A27 | ORN | 480 | Load Management Control | ||||
A28 | -- | 1 | Battery Positive Voltage Bus | ||||
A29 | ORN | 540 | Battery Positive Voltage | ||||
A30 | -- | 1 | Battery Positive Voltage Bus | ||||
B1 | -- | -- | Not Used | ||||
B2 | PPL | 65 | Blower Motor Supply Voltage | ||||
B3 | -- | -- | Not Used | ||||
B4 | BLK | 150 | Ground | ||||
B5-B9 | -- | -- | Not Used | ||||
B10 | LT BLU | 409 | Cooling Fan Motor Supply Voltage | ||||
B11 | -- | -- | Not Used | ||||
B12 | RED | 542 | Battery Positive Voltage | ||||
B13 | -- | -- | Not Used | ||||
B14 | PPL | 6 | Starter Soleniod Crank Voltage | ||||
B15 | -- | -- | Not Used | ||||
B16 | PPL/WHT | 1035 | Starter Relay Coil Supply Voltage (MX0/MX1/Late Production) | ||||
B16 | PPL | 806 | Crank Voltage (MM5/Late Production) | ||||
B17 | GRY | 120 | Fuel Pump Supply Voltage | ||||
B18 | -- | -- | Not Used | ||||
B19 | DK GRN/WHT | 465 | Fuel Pump Relay Control | ||||
B20 | DK GRN | 59 | A/C COmpressor Clutch Supply Voltage | ||||
B21 | -- | -- | Not Used | ||||
B22 | PNK | 439 | Ignition 1 Voltage | ||||
B23-B24 | -- | -- | Not Used | ||||
B25 | PPL | 806 | Crank Voltage (Late Production) | ||||
B26 | YEL | 5 | Crank Voltage (MX0/MX1/Late Production) | ||||
B26 | PPL/WHT | 1035 | Starter Relay Coil Supply Voltage (MM5/Late Production) | ||||
B27-B30 | -- | -- | Not Used | ||||
C1-C30 | -- | -- | Not Used | ||||
D1 | RED | 1 | Battery Positive Voltage | ||||
D2 | RED | 542 | Battery Positive Voltage | ||||
RED | 542 | Battery Positive Voltage | |||||
D3 | RED | 342 | Battery Positive Voltage | ||||
D4 | RED | 642 | Battery Positive Voltage | ||||
D5 | RED | 442 | Battery Positive Voltage | ||||
D6 | RED | 242 | Battery Positive Voltage | ||||
E1 | -- | 1 | Battery Positive Voltage Bus | ||||
E2 | -- | 1 | Battery Positive Voltage Bus | ||||
E3 | -- | 1 | Battery Positive Voltage Bus | ||||
E4 | -- | 1 | Battery Positive Voltage Bus | ||||
E5 | -- | 1 | Battery Positive Voltage Bus | ||||
E6 | -- | 1 | Battery Positive Voltage Bus | ||||
F1 | -- | 1 | Battery Positive Voltage Bus | ||||