GM Service Manual Online
For 1990-2009 cars only
Makes
🢒
Pontiac
🢒
2001
🢒
Sunfire
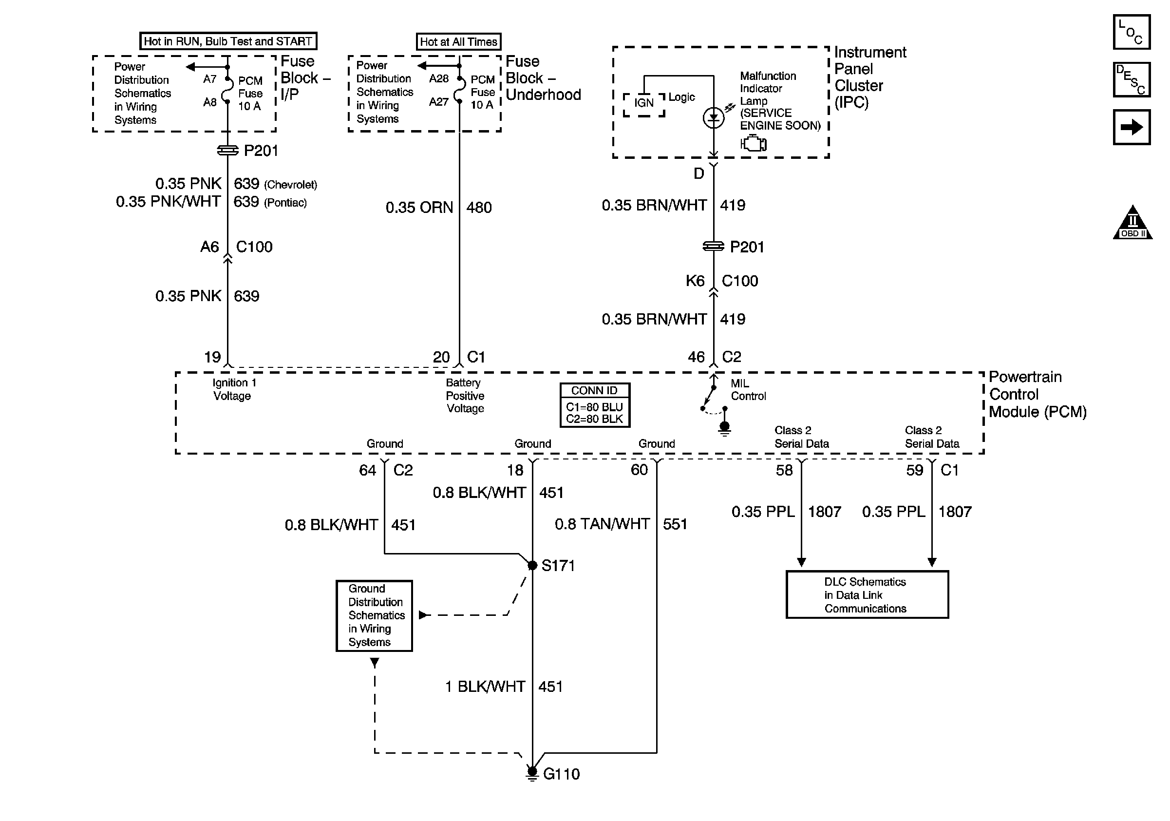
🢒 Module Power, Ground, Serial Data, and MIL
Module Power, Ground, Serial Data, and MIL
Module Power, Ground, Serial Data, and MIL
Master Electrical Component List
OBD II Symbol Description Notice
Ignition Controls
G110
G110
IP Fuse Block TURN - B/U, IGN MDL, PCM, BCM /CLU Fuses
IP Fuse Block TURN - B/U, IGN MDL, PCM, BCM /CLU Fuses