GM Service Manual Online
For 1990-2009 cars only
Makes
🢒
Pontiac
🢒
2001
🢒
Sunfire
🢒 Indicators and Switches
Indicators and Switches
Indicators and Switches
Master Electrical Component List
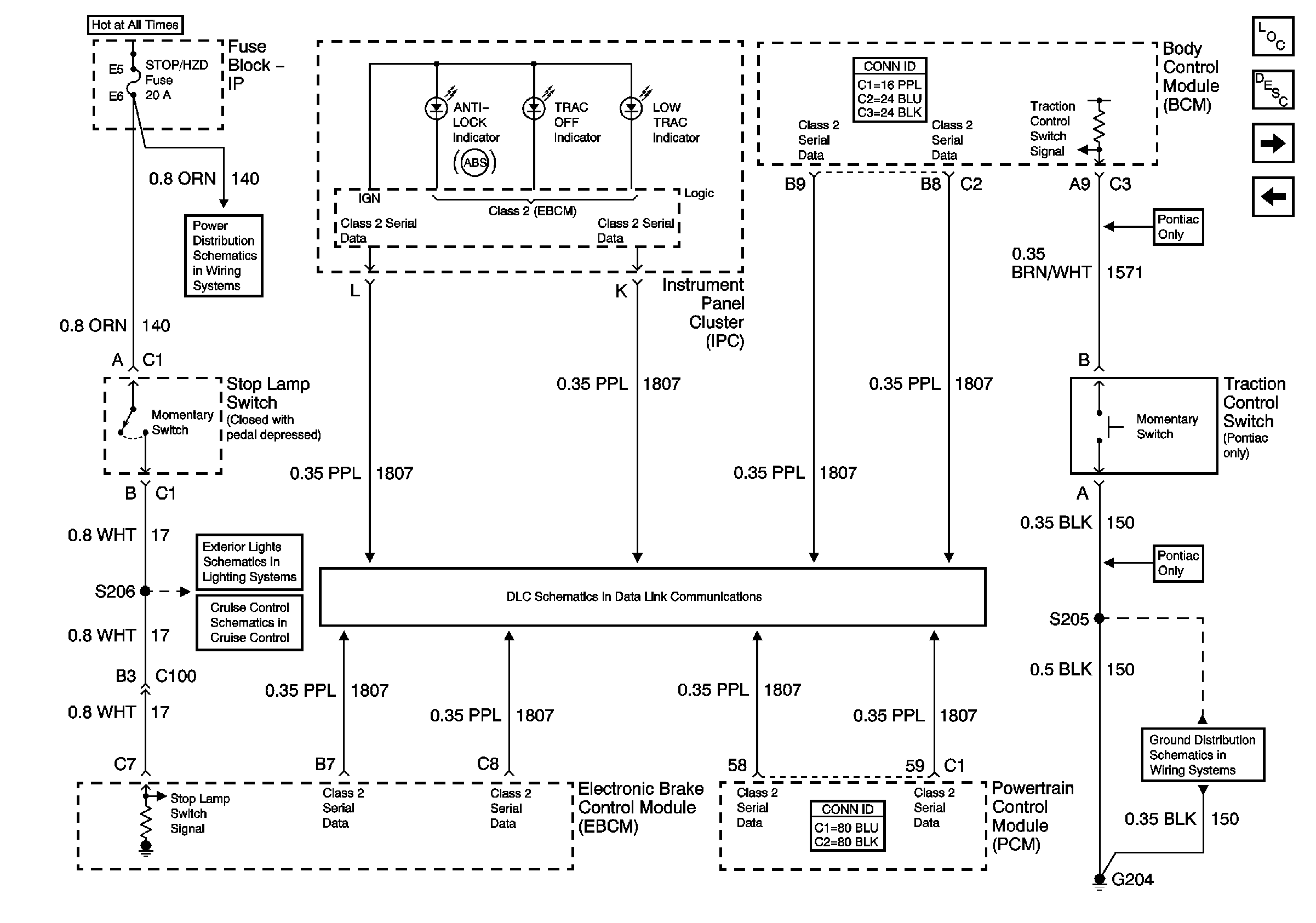
ABS Schematics Figure
Module Power and Ground
G102 - 1 of 2
Underhood Fuse Block BATT 2 Fuse, IP Fuse Block RR DEFOG, PWR ACC and STOP/HZD Fuses