GM Service Manual Online
For 1990-2009 cars only
Makes
🢒
Pontiac
🢒
2001
🢒
Sunfire
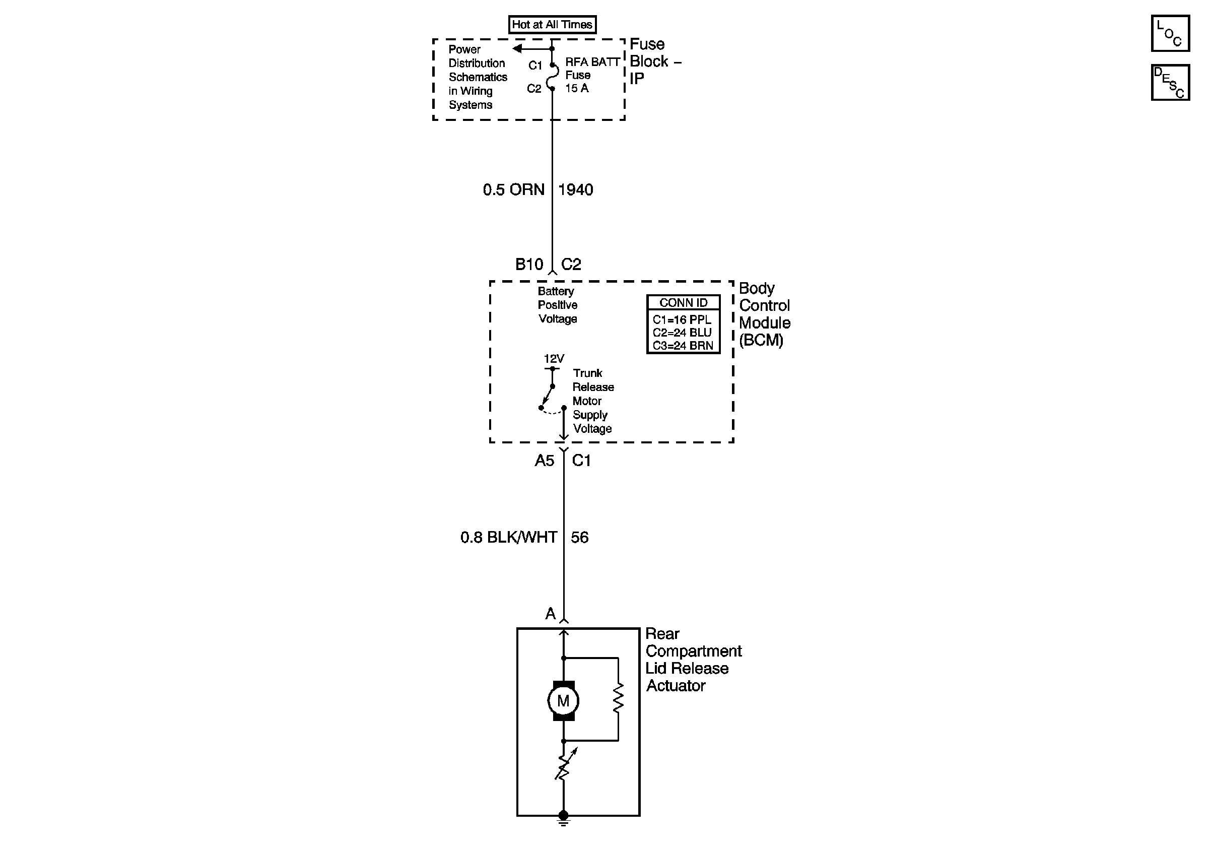
🢒 Rear Compartment schematics Figure
Rear Compartment schematics Figure
Master Electrical Component List