GM Service Manual Online
For 1990-2009 cars only
Makes
🢒
Pontiac
🢒
2001
🢒
Sunfire
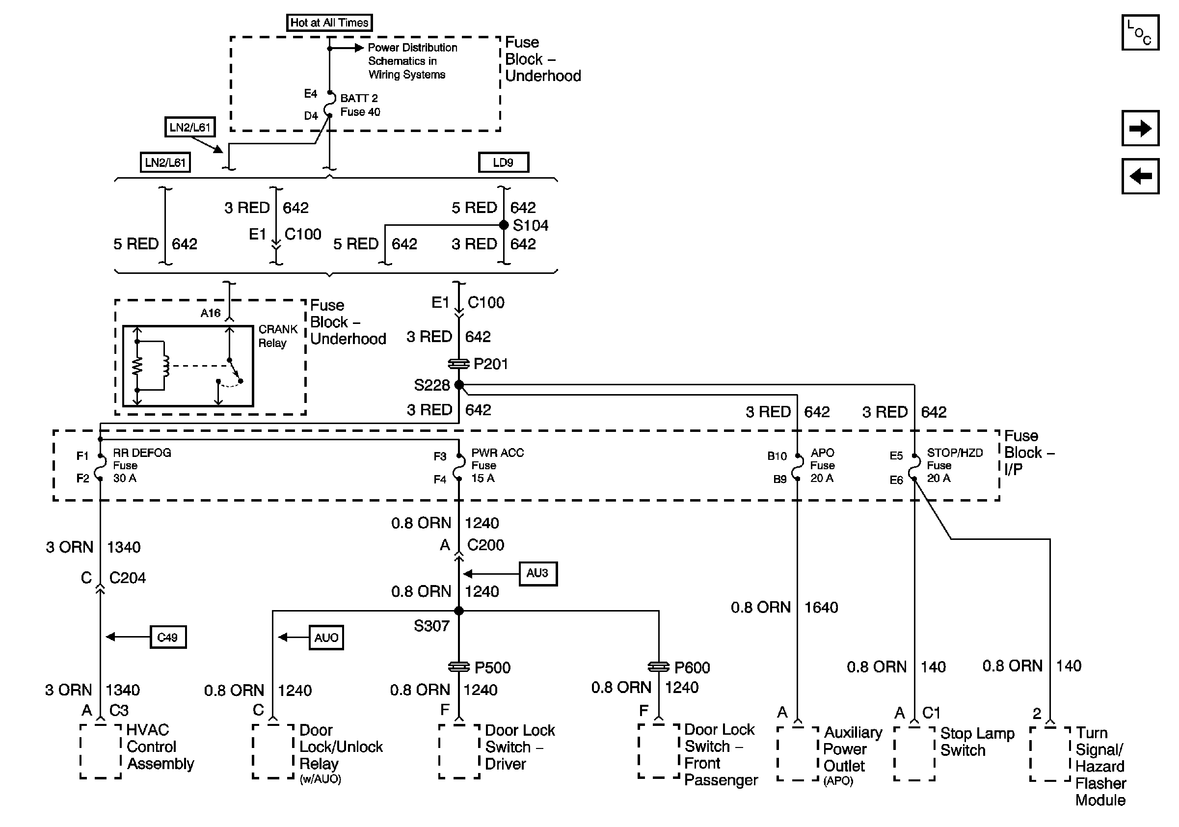
🢒 Underhood Fuse Block BATT 2 Fuse, I/P Fuse Block RR DEFOG, PWR ACC, AUX PWR and STOP/HZD Fuses
Underhood Fuse Block BATT 2 Fuse, I/P Fuse Block RR DEFOG, PWR ACC, AUX PWR and STOP/HZD Fuses
Underhood Fuse Block BATT2 Fuse, I/P Fuse Block RR DEFOG, PWR ACC, AUX PWR and STOP/HZD Fuses
Master Electrical Component List
Underhood Fuse Block IGN and ABS Fuses, I/P Fuse Block ABS, F/P-INJ, AIR BG and Cruise Fuses
I/P Fuse Block CIG, HORN, CLSTR, EXT LAMP, FOG, LT HDLP Fuses and HDLP Circuit Breaker