GM Service Manual Online
For 1990-2009 cars only
Table 1: Applique Lamp-Left (Pontiac Sedan)
Table 2: Applique Lamp-Right (Pontiac Sedan)
Table 3: Backup Lamp--Left
Table 4: Backup Lamp--Right
Table 5: Backup Lamp Switch (MM5)
Table 6: Center High Mounted Stop Lamp (CHMSL) Assembly (Pontiac Sedan/ Cheverolet Coupe and Sedan w/ T43)
Table 7: Center High Mounted Stop Lamp (CHMSL) Assembly (Pontiac Coupe/ Cheverolet Z24 w/ T43)
Table 8: Center High Mounted Stop Lamp (CHMSL)--Left (w/o T43)
Table 9: Center High Mounted Stop Lamp (CHMSL)--Right (w/o T43)
Table 10: Dome Lamp
Table 11: Door Jamb Switch -- Driver
Table 12: Door Jamb Switch -- Front Passenger
Table 13: Door Jamb Switch -- RR (Sedan)
Table 14: Door Jamb Switch -- LR (Sedan)
Table 15: Fog Lamp -- LF (Domestic)
Table 16: Fog Lamp -- RF (Domestic)
Table 17: Fog Lamp -- Rear (Export)
Table 18: Fog Lamp Relay (Domestic)
Table 19: Fog Lamp Relay (Export)
Table 20: Fog Lamp Switch
Table 21: Headlamp -- Left (Domestic)
Table 22: Headlamp -- Left (Export)
Table 23: Headlamp -- Right (Domestic)
Table 24: Headlamp -- Right (Export)
Table 25: Inverter Module -- Left (Export)
Table 26: Inverter Module -- Right (Export)
Table 27: I/P Dimmer Switch
Table 28: License Lamp (Cheverolet/ Pontiac Sedan)
Table 29: License Lamp Assembly (Pontiac Coupe)
Table 30: Marker Lamp--LF (Pontiac)
Table 31: Marker Lamp--RF (Pontiac)
Table 32: Marker Lamp--LR (Pontiac Coupe)
Table 33: Marker Lamp--RR (Pontiac Coupe)
Table 34: Park/Turn Signal Lamp--LF
Table 35: Park/Turn Signal Lamp--RF
Table 36: Rearview Mirror Reading Lamps (Base w/ CF5)
Table 37: Repeater Lamp--LF (Cheverolet Export)
Table 38: Repeater Lamp--RF (Cheverolet Export)
Table 39: Reading Lamp-- Left (Uplevel)
Table 40: Reading Lamp--Right (Uplevel)
Table 41: Reading/ Courtesy Lamp Switch--Left (Uplevel)
Table 42: Reading/ Courtesy Lamp Switch--Right (Uplevel)
Table 43: Rear Compartment Lamp
Table 44: Stop Lamp Switch C1
Table 45: Stop Lamp Switch C2
Table 46: Shift Indicator Lamp
Table 47: Tail/ Stop and Turn Signal Lamp--Left
Table 48: Tail/ Stop and Turn Signal Lamp--Right
Table 49: Turn Signal/ Multifunction Switch C1
Table 50: Turn Signal/ Multifunction Switch C2
Table 51: Turn Signal/Hazard Flasher Module

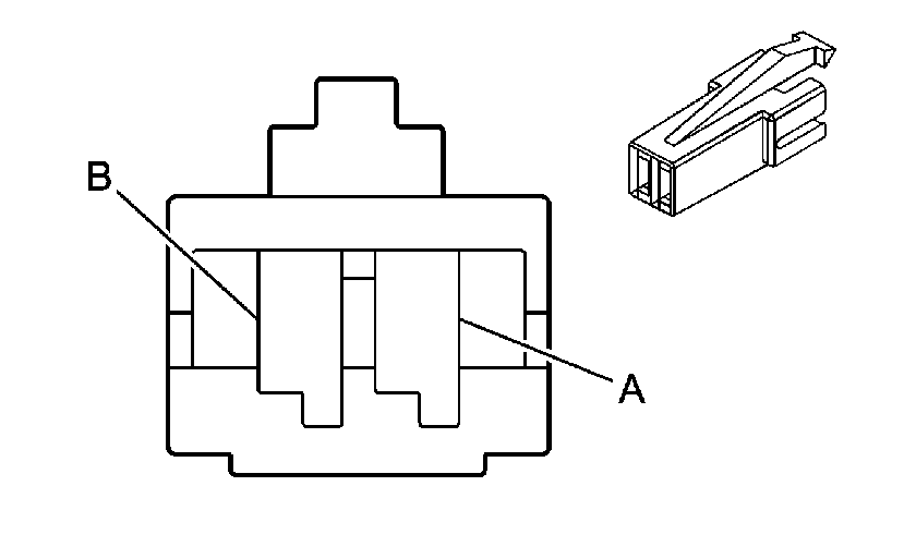
Applique Lamp-Left (Pontiac Sedan)


Object Number: 365949  Size: CH

Connector Part Information

    • 12084388
    • 2-Way Bulb Base W-2 Axial (BLK)

Pin

Wire Color

Circuit No.

Function

A

BRN

9

Park Lamp Supply Voltage

B

BLK

150

Ground

Applique Lamp-Right (Pontiac Sedan)


Object Number: 365949  Size: CH

Connector Part Information

    • 12084388
    • 2-Way Bulb Base W-2 Axial (BLK)

Pin

Wire Color

Circuit No.

Function

A

BRN

9

Park Lamp Supply Voltage

B

BLK

150

Ground

Backup Lamp--Left


Object Number: 744036  Size: CH

Connector Part Information

    • 12110053
    • 2-Way Bulb Base W-2 (GRY)

Pin

Wire Color

Circuit No.

Function

A

LT GRN

24

Backup Lamp Supply Voltage

B

BLK

150

Ground

Backup Lamp--Right


Object Number: 744036  Size: CH

Connector Part Information

    • 12110053
    • 2-Way Bulb Base W-2 (GRY)

Pin

Wire Color

Circuit No.

Function

A

LT GRN

24

Backup Lamp Supply Voltage

B

BLK

150

Ground

Backup Lamp Switch (MM5)


Object Number: 635009  Size: CH

Connector Part Information

    • 12052641
    • 2-Way F Metri-Pack 150 Series, Sealed (BLK)

Pin

Wire Color

Circuit No.

Function

A

LT GRN

24

Backup Lamp Supply Voltage

B

PNK

539

Ignition 1 Voltage

Center High Mounted Stop Lamp (CHMSL) Assembly (Pontiac Sedan/ Cheverolet Coupe and Sedan w/ T43)


Object Number: 320526  Size: CH

Connector Part Information

    • 12052907
    • 2-Way M Metri Pack 150 Series (BLK)

Pin

Wire Color

Circuit No.

Function

A

WHT

17

Stop Lamp Switch Signal

B

BLK

150

Ground

Center High Mounted Stop Lamp (CHMSL) Assembly (Pontiac Coupe/ Cheverolet Z24 w/ T43)


Object Number: 35441  Size: CH

Connector Part Information

    • 12052907
    • 2-Way M Metri Pack 150 Series (BLK)

Pin

Wire Color

Circuit No.

Function

A

WHT

17

Stop Lamp Switch Signal

B

BLK

150

Ground

Center High Mounted Stop Lamp (CHMSL)--Left (w/o T43)


Object Number: 405580  Size: CH

Connector Part Information

    • 08911772
    • 2-Way F Pac Con (BLK)

Pin

Wire Color

Circuit No.

Function

A

WHT

17

Stop Lamp Switch Signal

B

BLK

150

Ground

Center High Mounted Stop Lamp (CHMSL)--Right (w/o T43)


Object Number: 405580  Size: CH

Connector Part Information

    • 08911772
    • 2-Way F Pac Con (BLK)

Pin

Wire Color

Circuit No.

Function

A

WHT

17

Stop Lamp Switch Signal

B

BLK

150

Ground

Dome Lamp


Object Number: 295468  Size: CH

Connector Part Information

    • 12129903
    • Lamp Socket Wedge Base W2 (BLK)

Pin

Wire Color

Circuit No.

Function

A

WHT

156

Courtesy Lamp Low Control

BRN

156

Courtesy Lamp Low Control (Base W/CF5)

B

ORN

1732

Courtesy Lamp Supply Voltage

ORN

1732

Courtesy Lamp Supply Voltage (Base W/CF5)

Door Jamb Switch -- Driver


Object Number: 295483  Size: CH

Connector Part Information

    • 15304635
    • 2-Way F Metri-Pack 150 Series (LT GRY)

Pin

Wire Color

Circuit No.

Function

A

LT GRN/BLK

394

Driver Door Jamb Switch Signal

B

BLK

150

Ground

Door Jamb Switch -- Front Passenger


Object Number: 295483  Size: CH

Connector Part Information

    • 15304635
    • 2-Way F Metri-Pack 150 Series (LT GRY)

Pin

Wire Color

Circuit No.

Function

A

LT BLU

395

Passenger Door Jamb Switch Signal

B

BLK

250

Ground

Door Jamb Switch -- RR (Sedan)


Object Number: 35451  Size: CH

Connector Part Information

    • 12059251
    • 2-Way F Metri-Pack 150 Series (RED)

Pin

Wire Color

Circuit No.

Function

A

LT BLU

395

Passenger Door Jamb Switch Signal

B

BLK

250

Ground

Door Jamb Switch -- LR (Sedan)


Object Number: 35451  Size: CH

Connector Part Information

    • 12059251
    • 2-Way F Metri-Pack 150 Series (RED)

Pin

Wire Color

Circuit No.

Function

A

LT BLU

395

Passenger Door Jamb Switch Signal

B

BLK

250

Ground

Fog Lamp -- LF (Domestic)


Object Number: 646148  Size: CH

Connector Part Information

    • 12020599
    • 2-Way F Metri-Pack 280 Series (BLK)

Pin

Wire Color

Circuit No.

Function

A

BLK

150

Ground

B

PPL

34

Fog Lamps Supply Voltage

Fog Lamp -- RF (Domestic)


Object Number: 646148  Size: CH

Connector Part Information

    • 12020599
    • 2-Way F Metri-Pack 280 Series (BLK)

Pin

Wire Color

Circuit No.

Function

A

BLK

150

Ground

B

PPL

34

Fog Lamps Supply Voltage

Fog Lamp -- Rear (Export)


Object Number: 68737  Size: CH

Connector Part Information

    • 12129489
    • 3-Way F Metri-Pack 280 Series

Pin

Wire Color

Circuit No.

Function

A

RED

122

Fog Lamps Supply Voltage

B

-

-

Not Used

C

BLK

150

Ground

Fog Lamp Relay (Domestic)


Object Number: 535912  Size: CH

Connector Part Information

    • 12129716
    • 4-Way F Metri-Pack 280 Series (GRY)

Pin

Wire Color

Circuit No.

Function

30

ORN

1140

Battery Positive Voltage

85

DK GRN/WHT

1317

Fog Lamp Relay Control

86

BRN

9

Park Lamp Supply Voltage (Chevrolet)

ORN

1140

Battery Positive Voltage ( Pontiac)

87

PPL

34

Fog Lamps Supply Voltage

Fog Lamp Relay (Export)


Object Number: 281201  Size: CH

Connector Part Information

    • 12110541
    • 6-Way F Metri-Pack 280 Series (BLK)

Pin

Wire Color

Circuit No.

Function

A1

BRN

9

Park lamp Supply Voltage

A2

ORN

1140

Battery Positive Voltage

B1-B2

-

-

Not Used

C1

RED

122

Rear Fog Lamp Supply Voltage

C2

DK GRN/WHT

1317

Fog Lamp Relay Control

Fog Lamp Switch


Object Number: 333035  Size: CH

Connector Part Information

    • 12047781
    • 3-Way F Metri-Pack 150 Series (BLK)

Pin

Wire Color

Circuit No.

Function

A

ORN

192

Fog Lamp Switch Signal

B

BLK

150

Ground

C

PPL

34

Fog Lamps Supply Voltage (Domestic)

RED

122

Fog Lamps Supply Voltage (Export)

Headlamp -- Left (Domestic)


Object Number: 295492  Size: CH

Connector Part Information

    • 12048369
    • 3-Way F Metri-Pack 280 Series (BLU)

Pin

Wire Color

Circuit No.

Function

A

DK BLU

1201

Headlamp Lamp Low Beam Signal

B

DK BLU

593

DRL Headlamp High Beam Supply Voltage

C

PNK

1200

Headlamp High Beam Signal

Headlamp -- Left (Export)


Object Number: 306269  Size: CH

Connector Part Information

    • 12034372
    • 3-Way F Metri-Pack 800 Series (BLK)

Pin

Wire Color

Circuit No.

Function

A

BLK

150

Ground

B

PNK

1200

Headlamp High Beam Signal

C

DK BLU

1201

Headlamp Low Beam Signal

Headlamp -- Right (Domestic)


Object Number: 295492  Size: CH

Connector Part Information

    • 12048369
    • 3-Way F Metri-Pack 280 Series (BLU)

Pin

Wire Color

Circuit No.

Function

A

DK BLU

1201

Headlamp Lamp Low Beam Signal

B

ORN

640

Battery Positive Voltage

C

PNK

1200

Headlamp Lamp High Beam Signal

Headlamp -- Right (Export)


Object Number: 306269  Size: CH

Connector Part Information

    • 12034372
    • 3-Way F Metri-Pack 800 Series (BLK)

Pin

Wire Color

Circuit No.

Function

A

BLK

150

Ground

B

PNK

1200

Headlamp High Beam Signal

C

DK BLU

1201

Headlamp Low Beam Signal

Inverter Module -- Left (Export)


Object Number: 40419  Size: CH

Connector Part Information

    • 12015410
    • 6-Way F P/L Edgeboard Standard (GRN)

Pin

Wire Color

Circuit No.

Function

A-B

--

--

Not Used

C

PNK

1200

Headlamp High Beam Signal

D

BLK/WHT

251

Ground

E

PNK

1200

Headlamp High Beam Signal

F

--

--

Not Used

Inverter Module -- Right (Export)


Object Number: 40419  Size: CH

Connector Part Information

    • 12015410
    • 6-Way F P/L Edgeboard Standard (GRN)

Pin

Wire Color

Circuit No.

Function

A-B

--

--

Not Used

C

DK BLU

1201

Headlamp Low Beam Signal

D

BLK/WHT

251

Ground

E

DK BLU

1201

Headlamp Low Beam Signal

F

--

--

Not Used

I/P Dimmer Switch


Object Number: 287975  Size: CH

Connector Part Information

    • 12020299
    • 5-Way F PC Edgeboard-STD (NAT)

Pin

Wire Color

Circuit No.

Function

A

WHT

156

Courtesy Lamp Low Control

B

PPL

719

Low Reference

C

BRN/WHT

230

Instrument Panel Lamps Dimming Control

D

BLK

150

Ground

E

GRY

8

Instrument Panel Lamp Supply Voltage (Pontiac)

License Lamp (Cheverolet/ Pontiac Sedan)


Object Number: 744036  Size: CH

Connector Part Information

    • 15324945
    • 2-Way Bulb Base W-2 (LT GRY)

Pin

Wire Color

Circuit No.

Function

A

BRN

9

Park Lamp Supply Voltage

B

BLK

150

Ground

License Lamp Assembly (Pontiac Coupe)


Object Number: 35455  Size: CH

Connector Part Information

    • 12084470
    • 2-Way M Metri-Pack 150 Series (RED)

Pin

Wire Color

Circuit No.

Function

A

BRN

41

Ignition 3 Voltage

B

BLK

150

Ground

Marker Lamp--LF (Pontiac)


Object Number: 744036  Size: CH

Connector Part Information

    • 12110053
    • 2-Way Bulb Base W-2 (GRY)

Pin

Wire Color

Circuit No.

Function

A

LT BLU

14

Left Turn Signal Lamps Supply Voltage

B

BRN

9

Park Lamp Supply Voltage

Marker Lamp--RF (Pontiac)


Object Number: 744036  Size: CH

Connector Part Information

    • 12110053
    • 2-Way Bulb Base W-2 (GRY)

Pin

Wire Color

Circuit No.

Function

A

DK BLU

15

Right Turn Signal Lamps Supply Voltage

B

BRN

9

Park Lamp Supply Voltage

Marker Lamp--LR (Pontiac Coupe)


Object Number: 130733  Size: CH

Connector Part Information

    • 12146418
    • 2-Way Bulb Base W-2 Right Angle (LT GRY)

Pin

Wire Color

Circuit No.

Function

A

BRN

9

Park Lamp Supply Voltage

B

BLK

150

Ground

Marker Lamp--RR (Pontiac Coupe)


Object Number: 130733  Size: CH

Connector Part Information

    • 12146418
    • 2-Way Bulb Base W-2 Right Angle (LT GRY)

Pin

Wire Color

Circuit No.

Function

A

BRN

9

Park Lamp Supply Voltage

B

BLK

150

Ground

Park/Turn Signal Lamp--LF


Object Number: 38605  Size: CH

Connector Part Information

    • 12160394 (Chevrolet)
    • 12160395 (Pontiac)
    • 3-Way Bulb Base W3 Right Angle (NAT) (Chevrolet)
    • 3-Way Bulb Base W3 Right Angle (MD GRY) (Pontiac)

Pin

Wire Color

Circuit No.

Function

A

LT BLU

14

Left Turn Signal Lamps Supply Voltage

B

BRN

9

Park Lamp Supply Voltage

G

BLK

150

Ground

Park/Turn Signal Lamp--RF


Object Number: 38605  Size: CH

Connector Part Information

    • 12160394 (Chevrolet)
    • 12160395 (Pontiac)
    • 3-Way Bulb Base W3 Right Angle (NAT) (Chevrolet)
    • 3-Way Bulb Base W3 Right Angle (MD GRY) (Pontiac)

Pin

Wire Color

Circuit No.

Function

A

DK BLU

15

Right Turn Signal Lamps Supply Voltage

B

BRN

9

Park Lamp Supply Voltage

G

BLK

150

Ground

Rearview Mirror Reading Lamps (Base w/ CF5)


Object Number: 153632  Size: CH

Connector Part Information

    • 12124782
    • 7-Way F Metri-Pack 150 Series (BLK)

Pin

Wire Color

Circuit No.

Function

1

Not Used

2

BLK

150

Ground

3-5

--

--

Not Used

6

BRN

156

Courtesy Lamp Low Control

7

BLK/WHT

1732

Courtesy Lamps Supply Voltage

Repeater Lamp--LF (Cheverolet Export)


Object Number: 744036  Size: CH

Connector Part Information

    • 12110053
    • 2-Way Bulb Base W-2 (GRY)

Pin

Wire Color

Circuit No.

Function

A

LT BLU

14

Left Turn Signal Lamps Supply Voltage

B

BRN

9

Park Lamp Supply Voltage

Repeater Lamp--RF (Cheverolet Export)


Object Number: 744036  Size: CH

Connector Part Information

    • 12110053
    • 2-Way Bulb Base W-2 (GRY)

Pin

Wire Color

Circuit No.

Function

A

DK BLU

15

Right Turn Signal Lamps Supply Voltage

B

BRN

9

Park Lamp Supply Voltage

Reading Lamp-- Left (Uplevel)


Object Number: 295486  Size: CH

Connector Part Information

    • 09433040
    • 2-Way Socket (BLK)

Pin

Wire Color

Circuit No.

Function

A

ORN

1732

Courtesy Lamps Supply Voltage

B

LT GRN

522

Courtesy Lamps Low Control

Reading Lamp--Right (Uplevel)


Object Number: 295486  Size: CH

Connector Part Information

    • 09433040
    • 2-Way Socket (BLK)

Pin

Wire Color

Circuit No.

Function

A

ORN

1732

Courtesy Lamps Supply Voltage

B

DK GRN

523

Courtesy Lamps Low Control

Reading/ Courtesy Lamp Switch--Left (Uplevel)


Object Number: 295489  Size: CH

Connector Part Information

    • 12047781
    • Hardwired (WHT)

Pin

Wire Color

Circuit No.

Function

1

BLK

150

Ground

2

WHT

156

Courtesy Lamp Low Control

C

LT GRN

522

Courtesy Lamp Low Control

Reading/ Courtesy Lamp Switch--Right (Uplevel)


Object Number: 295489  Size: CH

Connector Part Information

    • 12047781
    • Hardwired (WHT)

Pin

Wire Color

Circuit No.

Function

1

BLK

150

Ground

2

WHT

156

Courtesy Lamp Low Control

C

DK GRN

523

Courtesy Lamp Low Control

Rear Compartment Lamp


Object Number: 82383  Size: CH

Connector Part Information

    • 12047662
    • 2-Way F Metri-Pack 150 Series (BLK)

Pin

Wire Color

Circuit No.

Function

A

ORN

1732

Courtesy Lamps Supply Voltage

B

ORN/BLK

737

Rear Compartment Lamp Control

Stop Lamp Switch C1


Object Number: 73251  Size: CH

Connector Part Information

    • 12033701
    • 2-Way F Metri-Pack 480 Series (GRY)

Pin

Wire Color

Circuit No.

Function

A

ORN

140

Battery Positive Voltage

B

WHT

17

Stop Lamp Switch Signal

Stop Lamp Switch C2


Object Number: 40397  Size: CH

Connector Part Information

    • 12033706
    • 4-Way Metri-Pack 280 Series (BLU)

Pin

Wire Color

Circuit No.

Function

A

PNK

439

Ignition 1 Voltage

B

PPL

420

Clutch Anticipate Signal (MM5 w/o K34) or Clutch Anticipate/ Cruise Control Release Signal (MM5 w/ K34) or TCC Release/ A/T Shift Lock Release Signal (MX0 w/o K34)

C-D

-

-

Not Used

Shift Indicator Lamp


Object Number: 365949  Size: CH

Connector Part Information

    • 12084388
    • 2-Way Bulb Base W-2 Axial (BLK)

Pin

Wire Color

Circuit No.

Function

A

GRY

8

Instrument Panel Lamp Supply Voltage

B

BLK

150

Ground

Tail/ Stop and Turn Signal Lamp--Left


Object Number: 68737  Size: CH

Connector Part Information

    • 12129489
    • 3-Way F Metri-Pack 280 Series (BLK)

Pin

Wire Color

Circuit No.

Function

A

YEL

18

Left Rear Stop/Turn Lamp Supply Voltage

B

BRN

9

Park Lamp Supply Voltage

C

BLK

150

Ground

Tail/ Stop and Turn Signal Lamp--Right


Object Number: 68737  Size: CH

Connector Part Information

    • 12129489
    • 3-Way F Metri-Pack 280 Series (BLK)

Pin

Wire Color

Circuit No.

Function

A

DK GRN

19

Right Rear Stop/Turn Lamp Supply Voltage

B

BRN

9

Park Lamp Supply Voltage

C

BLK

250

Ground

Turn Signal/ Multifunction Switch C1


Object Number: 295507  Size: CH

Connector Part Information

    • 12084699
    • 6-Way F Metri-Pack 280 Series (BLU)

Pin

Wire Color

Circuit No.

Function

A

BLK/WHT

251

Ground (Domestic)

ORN

640

Battery Positive Voltage (Export)

B

PNK

1200

Headlamp High Beam Signal

PNK

1200

Headlamp High Beam Signal

C

DK BLU

1201

Headlamp Low Beam Signal

DK BLU

1201

Headlamp Low Beam Signal

D

ORN

240

Battery Positive Voltage

E

BLK

251

Ground (Domestic)

ORN

740

Battery Positive Voltage (Export)

F

BRN

9

Park Lamp Supply Voltage

Turn Signal/ Multifunction Switch C2


Object Number: 295503  Size: CH

Connector Part Information

    • 12092237
    • 8-Way F Metri-Pack 280 Series (MD GRY)

Pin

Wire Color

Circuit No.

Function

A

WHT

17

Stop Lamp Switch Signal

B

DK GRN

19

Right Rear Stop/Turn Lamp Supply Voltage

C

YEL

18

Left Rear Stop/Turn Lamp Supply Voltage

D

BRN

27

Hazard Flasher Signal

E

PPL

16

Turn Signal Flasher Signal

F

LT BLU

14

Left Turn Signal Lamps Supply Voltage

G

DK BLU

15

Right Turn Signal Lamps Supply Voltage

H

BLK

28

Horn Relay Control

Turn Signal/Hazard Flasher Module


Object Number: 281199  Size: CH

Connector Part Information

    • 12034003
    • 5-Way F Metri-Pack 630 Series (BLK)

Pin

Wire Color

Circuit No.

Function

1

PNK

539

Ignition 1 Voltage

2

ORN

140

Battery Positive Voltage

3

BRN

27

Hazard Flasher Signal

4

PPL

16

Turn Signal Flasher Signal

5

BLK

150

Ground