Instrument Cluster Replacement Chevrolet
Removal Procedure
- Remove the instrument
panel (IP) accessory trim plate. Refer to
Instrument Panel Accessory Trim Plate Replacement
.
- Remove the screws (6) from the top of the IP cluster (5).
- Remove the IP cluster (5) pulling rearward.
- Disconnect the electrical connector (1) from the IP cluster (5).
- Remove the IP cluster (5) from IP (3).
Installation Procedure
- Connect the electrical
connector (1) to the IP cluster (5).
- Position the IP cluster retainer tabs (4) into the IP (3).
- Install the instrument panel cluster (5) to the IP (3).
Notice: Use the correct fastener in the correct location. Replacement fasteners
must be the correct part number for that application. Fasteners requiring
replacement or fasteners requiring the use of thread locking compound or sealant
are identified in the service procedure. Do not use paints, lubricants, or
corrosion inhibitors on fasteners or fastener joint surfaces unless specified.
These coatings affect fastener torque and joint clamping force and may damage
the fastener. Use the correct tightening sequence and specifications when
installing fasteners in order to avoid damage to parts and systems.
- Install the IP cluster
screws (6).
Tighten
Tighten the screws to 2 N·m (18 lb in).
- Install the instrument panel accessory trim plate. Refer to
Instrument Panel Accessory Trim Plate Replacement
.
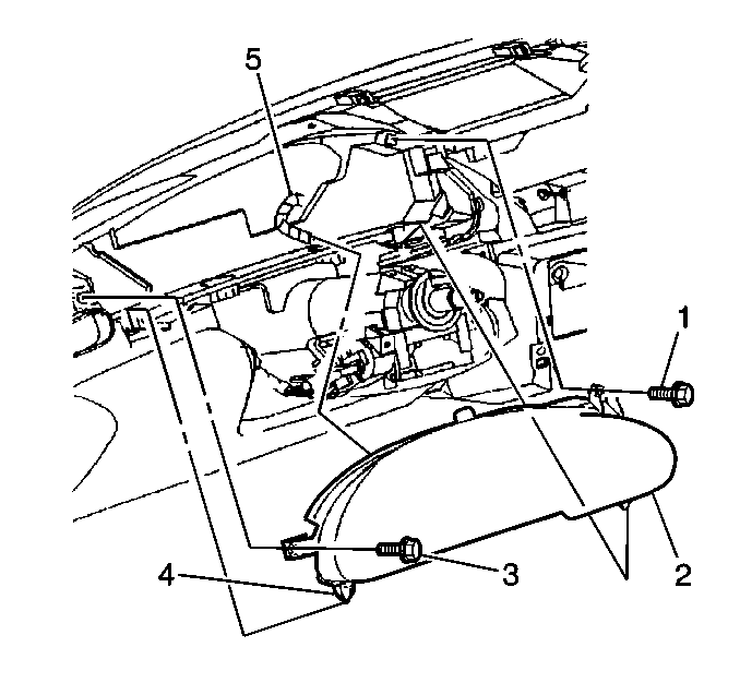
Instrument Cluster Replacement Pontiac
Removal Procedure
- Remove the instrument
panel (IP) trim pad. Refer to
Instrument Panel Trim Pad Replacement
- Remove the screws (1, 3) from the top of the IP
cluster (2).
- Remove the IP cluster (2) pulling rearward.
- Disconnect the electrical connector (5) from the IP cluster (2).
- Remove the IP cluster (2) from IP carrier.
Installation Procedure
- Connect the electrical
connector (5) to the IP cluster (2).
- Position the IP cluster retainer tabs (4) into the IP carrier.
- Install the IP cluster (2) to the IP carrier.
Notice: Use the correct fastener in the correct location. Replacement fasteners
must be the correct part number for that application. Fasteners requiring
replacement or fasteners requiring the use of thread locking compound or sealant
are identified in the service procedure. Do not use paints, lubricants, or
corrosion inhibitors on fasteners or fastener joint surfaces unless specified.
These coatings affect fastener torque and joint clamping force and may damage
the fastener. Use the correct tightening sequence and specifications when
installing fasteners in order to avoid damage to parts and systems.
- Install the IP cluster
screws (1, 3).
Tighten
Tighten the screws to 2 N·m (18 lb in).
- Install the IP trim pad. Refer to
Instrument Panel Trim Pad Replacement
.