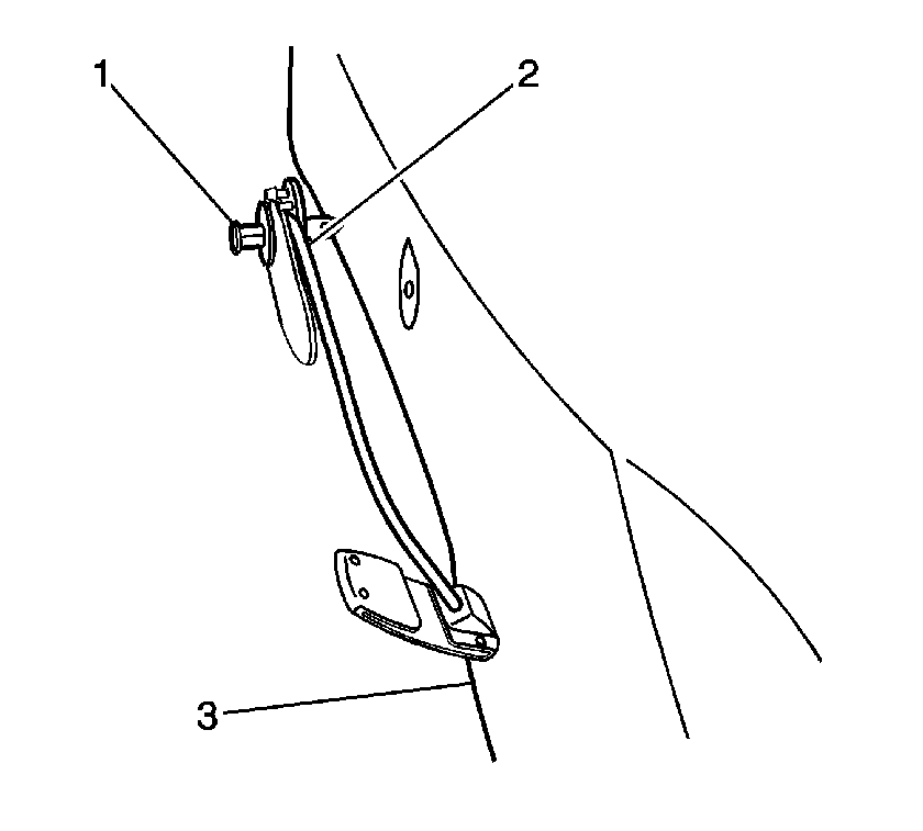
Removal Procedure
- Position the rear seat back (3) to
remove the child comfort guide (2).
- Release the push pin retainer (1) from the rear seat back (3).
- Remove the child comfort guide (2) from the rear seat back (3).
- Remove the shoulder belt from the comfort guide, if necessary.
Installation Procedure
- Install the shoulder belt to the child comfort
guide (2).
- Install the comfort guide to the rear seat back (3).
- Install the push pin retainer (1) to the rear seat back (3).
- Reposition the rear seat back (3) to the original position.