GM Service Manual Online
For 1990-2009 cars only
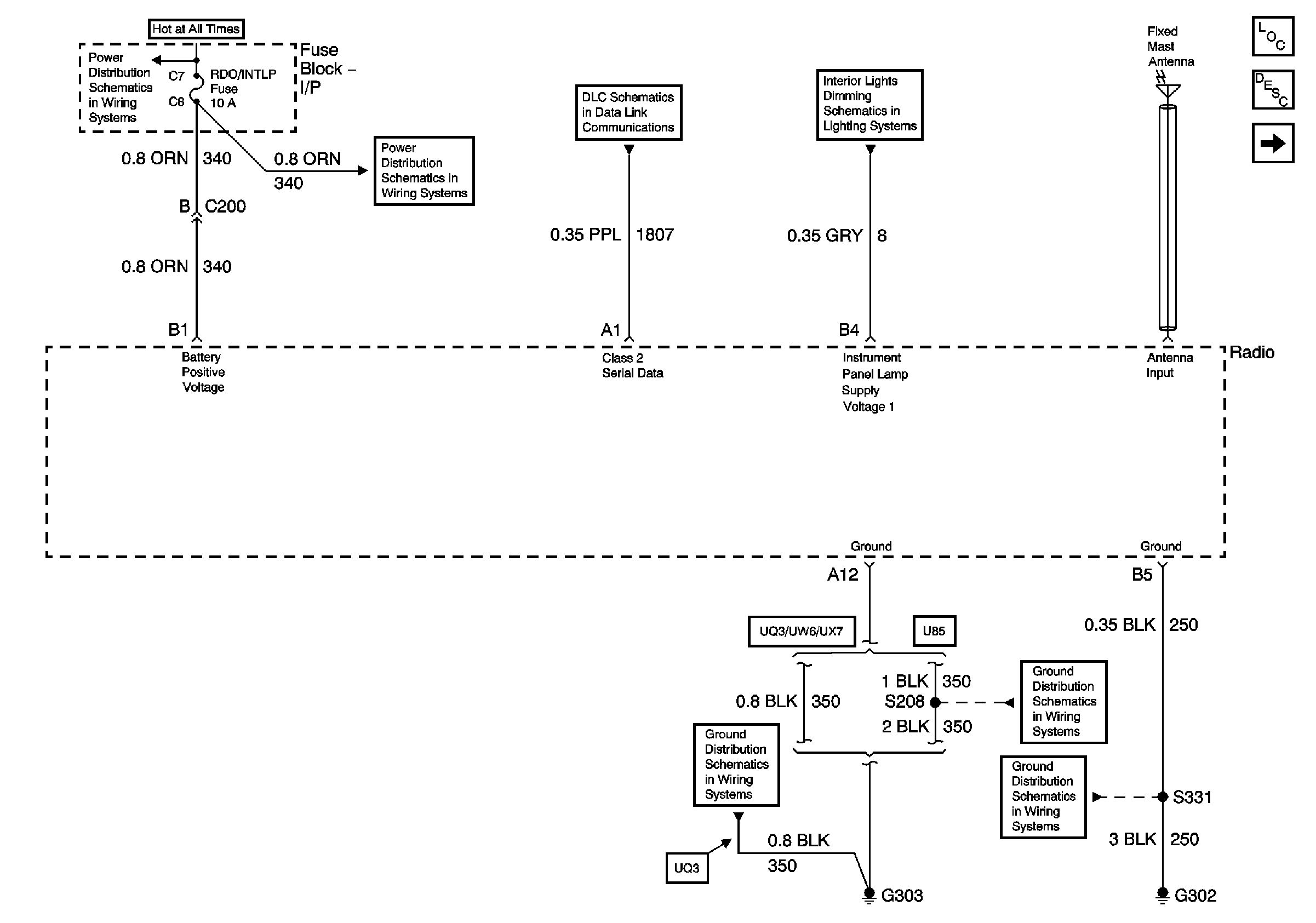
Figure 1:

Power, Ground and Antenna


Object Number: 825228  Size: FS
Master Electrical Component List
Radio/Audio System Description and Operation
Amplifier Power, Ground and Outputs (UQ3)
G302
Interior Controls Illumination Lamps
Controlled/Monitored Subsystem References (2 of 3)
Underhood Fuse Block BATT 1, and I/P Fuse Block MIRROR, RT HDLP, FLS/PASS, RDO/INTLP, RFA BATT and AMPL Fuses
Figure 2:

Amplifier Power, Ground and Outputs (UQ3)


Object Number: 825229  Size: FS
Master Electrical Component List
Radio/Audio System Description and Operation
Amplifier Power, Ground and Outputs (U85)
Power, Ground and Antenna
G102 - 2 of 2, G201 and G303
Figure 3:

Amplifier Power, Ground and Outputs (U85)


Object Number: 696823  Size: FS
Master Electrical Component List
Radio/Audio System Description and Operation
Speakers (U79)
Amplifier Power, Ground and Outputs (UQ3)
Underhood Fuse Block BATT 1, and I/P Fuse Block MIRROR, RT HDLP, FLS/PASS, RDO/INTLP, RFA BATT and AMPL Fuses
I/P Fuse Block BCM, WIPER, HVAC, 02 HTR Fuses and PWR WDO Circuit Breaker
Dimmer Controls
Interior Controls Illumination Lamps
Figure 4:

Speakers (U79)


Object Number: 696848  Size: FS
Master Electrical Component List
Speakers - Front (UX7/UW6/UQ3) Speakers - Rear (UX7/UW6)
Amplifier Power, Ground and Outputs (U85)
Power, Ground and Antenna
Figure 5:

Speakers -- Front (UX7/UW6/UQ3 Speakers -- Rear (UX7/UW6)


Object Number: 822322  Size: FS
Master Electrical Component List
Radio/Audio System Description and Operation
Speakers - Rear (UQ3)
Speakers (U79)
Figure 6:

Speakers -- Rear (UQ3)


Object Number: 696867  Size: FS
Master Electrical Component List
Radio/Audio System Description and Operation
Speakers - Front (U85)
Speakers - Front (UX7/UW6/UQ3) Speakers - Rear (UX7/UW6)
Figure 7:

Speakers -- Front (U85)


Object Number: 696829  Size: FS
Master Electrical Component List
Radio/Audio System Description and Operation
Speakers - Rear (U85)
Speakers - Rear (UQ3)
Figure 8:

Rear Speakers; U85


Object Number: 696831  Size: FS
Master Electrical Component List
Radio/Audio System Description and Operation
Speakers - Front (U85)