|
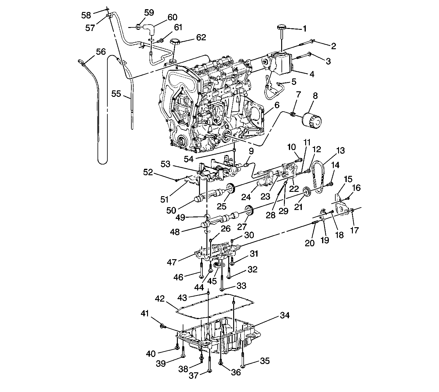
| (1) | Power Steering Fluid Level Indicator |
| (2) | Power Steering Pump to Camshaft Carrier Bolt |
| (3) | Power Steering Pump to Camshaft
Carrier Bolt |
| (4) | Power Steering Pump and Reservoir |
| (5) | Power Steering High Pressure Line |
| (6) | Engine Block |
| (7) | Oil Filter Adapter |
| (8) | Oil Filter |
| (9) | Oil Pump to Balance Shaft Housing
Alignment Pin |
| (10) | Oil Pump to Balance Shaft Housing Bolt |
| (11) | Oil Pump
to Balance Shaft Housing Alignment Pin |
| (12) | Oil Pump to Balance Shaft Housing
Bolt |
| (13) | Balance Shaft Drive Chain |
| (14) | Balance Shaft Driven Sprocket Bolt |
| (15) | Balance Shaft Chain Cover |
| (16) | Balance Shaft Drive Chain Cover
Bolt |
| (17) | Balance Shaft Drive Chain Cover Nut |
| (18) | Balance Shaft Drive Chain Guide
Bolt |
| (19) | Balance Shaft Drive Chain Guide |
| (20) | Balance Shaft Drive Chain Cover
Stud |
| (21) | Balance Shaft Driven Sprocket |
| (22) | Oil Pump Cover |
| (23) | Oil Pump
Gerotor Assembly |
| (24) | Oil Pump Housing |
| (25) | Balance Shaft Driven Gear |
| (26) | Balance
Shaft Housing Alignment Pin |
| (27) | Balance Shaft Drive Gear |
| (28) | Oil Pump Pressure Relief Valve Spring |
| (29) | Oil Pump Pressure Relief Valve |
| (30) | Balance Shaft Housing Alignment
Pin |
| (31) | Balance Shaft Housing Bolt |
| (32) | Balance Shaft Housing Bolt |
| (33) | Balance Shaft Housing Bolt |
| (34) | Oil Pan |
| (35) | Oil Pan to Engine Block Bolt |
| (36) | Oil Pan to Engine Block Bolt |
| (37) | Oil Pan to Engine Block Bolt |
| (38) | Oil Pan to
Engine Block Bolt |
| (39) | Oil Pan to Engine Block Bolt |
| (40) | Oil Pan to Engine Block Bolt |
| (41) | Oil Pan to Engine Block Bolt |
| (42) | Engine Oil Pan Gasket |
| (43) | Engine Oil Pan Alignment Pin |
| (44) | Balance Shaft Housing Bolt |
| (45) | Engine Oil Pick Up Screen |
| (46) | Balance Shaft
Housing Bolt |
| (47) | Balance Shaft Housing -- Lower |
| (48) | Balance Shaft |
| (49) | Balance Shaft Bearing |
| (50) | Balance Shaft |
| (51) | Balance Shaft Housing End Plate |
| (52) | Balance
Shaft Housing End Plate Bolt |
| (53) | Balance Shaft Housing -- Upper |
| (54) | Balance
Shaft Housing Alignment Pin |
| (55) | Oil Level Indicator Tube |
| (56) | Oil Level Indicator |
| (57) | Power Brake
Vacuum Harness |
| (58) | Power Brake Vacuum Harness Bolt |
| (59) | Power Brake Vacuum Harness Clamp |
| (60) | Power
Brake Vacuum Harness Connector |
| (61) | Power Brake Vacuum Harness Bolt |
| (62) | Engine Oil
Fill Cap |