GM Service Manual Online
For 1990-2009 cars only
Figure 1:

Case and Associated Parts (1 of 3)


Object Number: 55152  Size: MF
(1)Side Cover (Structural)
(2)Axle Oil Seal
(3)Side Cover Bolt
(4)Side Cover Stud
(5)Side Cover Gasket
(6)Side Cover Oil Level Control Gasket
(7)Thrust Washer (Side Cover to Driven Sprocket)
(8)Oil Pump Bolt
(9)Oil Pump Bolt
(10)Transaxle Oil Pump Assembly
(11)Transaxle Wiring Assembly
(12)TFP Manual Valve Position Switch Assembly Bolt
(13)TFP Manual Valve Position Switch Assembly
(14)Wiring Harness Pass-Through Connector O-Ring Seal
(15)Wiring Harness Bracket Bolt/Input Speed Sensor Bolt
(51)Transaxle Case
(52)Vent Cap
(55)Torque Converter Assembly
(61)Output Speed Sensor Stud
(62)Output Shaft Speed Sensor
(63)O-Ring Seal (Output Speed Sensor)
(64)Band Anchor Pin (Lo/Reverse)
(65)Oil Level Control Plug
(81)Tube Assembly Bolt/Bottom Pan Bolt
(84)Transaxle Oil Filter Seal
(85)Transaxle Oil Filter Assembly
(86)Oil Level Control Valve
(87)Transaxle Bottom Pan Gasket
(88)Transaxle Oil Pan
(89)Chip Collector Magnet
(126)Side Cover Stud
(127)Transmission Wiring Harness Assembly (Some Models)
(128)Electrical Connector Retaining Bracket (Some Models)
Figure 2:

Case and Associated Parts (2 of 3)


Object Number: 768685  Size: LF
(16)Control Valve Body Bolt
(18)Control Valve Body Assembly
(19)Oil Pump Drive Shaft
(20)Spacer Plate Support Bolt
(21)Spacer Plate Support
(22)Control Valve Body to Spacer Plate Gasket
(23)Control Valve Body Spacer Plate
(24)Spacer Plate to Channel Plate Gasket
(25)Channel Plate Bolt/Servo Cover Bolt
(25)Channel Plate Bolt/Servo Cover Bolt
(25)Channel Plate Bolt/Servo Cover Bolt
(26)Checkballs (7)
(27)Channel Plate
(28)Case To Channel Plate Gasket
(29)Accumulator Piston (1-2, 2-3 and 3-4)
(29)Accumulator Piston (1-2, 2-3 and 3-4)
(29)Accumulator Piston (1-2, 2-3 and 3-4)
(30)Accumulator Piston Seal (1-2, 2-3 and 3-4)
(30)Accumulator Piston Seal (1-2, 2-3 and 3-4)
(30)Accumulator Piston Seal (1-2, 2-3 and 3-4)
(31)1-2 Accumulator Piston Spring
(32)2-3 and 3-4 Accumulator Piston Spring
(32)2-3 and 3-4 Accumulator Piston Spring
(45)Dowel Pin
(47)2-3 Accumulator Piston Cushion Spring
(48)Line Pressure Tap Plug
(49)Cooler Pipe Seal
(51)Transaxle Case
(66)Servo Return Spring (Lo/Reverse)
(67)Servo Apply Pin (Lo/Reverse)
(68)Servo Cushion Spring
(68)Servo Cushion Spring
(69)Servo Piston (Lo/Reverse)
(70)Servo Snap Ring
(70)Servo Snap Ring
(71)Servo Piston Seal (Lo/Reverse)
(72)Servo Cover Seal (Lo/Reverse)
(73)Servo Cover (Lo/Reverse)
(75)Servo Return Spring (Intermediate/4th)
(76)Servo Apply Pin (Intermediate/4th)
(77)Servo Piston (Intermediate/4th)
(78)Servo Piston Seal (Intermediate/4th)
(79)Servo Cover Seal (Intermediate/4th)
(80)Servo Cover (Intermediate/4th)
(81)Tube Assembly Bolt/Bottom Pan Bolt
(81)Tube Assembly Bolt/Bottom Pan Bolt
(81)Tube Assembly Bolt/Bottom Pan Bolt
(82)Oil Feed Tube Assembly Seal
(82)Oil Feed Tube Assembly Seal
(82)Oil Feed Tube Assembly Seal
(82)Oil Feed Tube Assembly Seal
(83)Oil Feed Tube Assembly
(125)1-2 Accumulator Piston Cushion Spring and Retainer Assembly
Figure 3:

Case and Associated Parts (3 of 3)


Object Number: 55189  Size: LF
(2)Axle Oil Seal
(15)Wiring Harness Bracket Bolt/Input Speed Sensor Bolt
(33)Turbine Shaft To Channel Plate Sleeve Seal
(34)Thrust Washer (Channel Plate to Drive Sprocket)
(35)Snap Ring (Turbine Shaft To Drive Sprocket)
(36)Drive Link Assembly
(37)Drive Sprocket
(38)Thrust Washer (Drive Sprocket to Support)
(39)Turbine Shaft
(40)Turbine Shaft to Support Seal
(41)O-Ring Seal (Torque Converter)
(42)Drive Sprocket Support Bearing
(43)Drive Sprocket Support
(44)Drive Sprocket Support Bushing
(46)Input Speed Sensor
(51)Transaxle Case
(53)Drive Sprocket Support Screw
(54)Converter Seal
(56)Output/Stub Shaft Sleeve
(56)Output/Stub Shaft Sleeve
(57)Output/Stub Shaft Snap Ring
(57)Output/Stub Shaft Snap Ring
(57)Output/Stub Shaft Snap Ring
(58)Output Stub Shaft
(60)Case To Final Drive Bushing
(91)Driven Sprocket
(92)Thrust Washer (Driven Sprocket to Support)
(94)Output Shaft
(95)Driven Sprocket Support Assembly
(96)2nd Clutch Plate (Waved)
(97)2nd Clutch Plate (Steel)
(98)2nd Clutch Plate (Fiber)
(99)2nd Clutch Plate (Backing)
(100)Intermediate/4th Band
(101)Thrust Washer (Support To Reverse Input Clutch)
(102)Reverse Input Clutch Assembly
(103)Thrust Bearing
(104)Thrust Washer (Selective)
(105)Direct and Coast Clutch Assembly
(106)Input Carrier Assembly
(107)Thrust Bearing
(108)Input Flange and Forward Clutch Hub Assembly
(109)Thrust Washer
(110)Forward Clutch Assembly
(111)Lo/Reverse Band
(112)Snap Ring (Forward Clutch Support to Case)
(113)Thrust Bearing
(114)Forward Clutch Support Assembly
(115)Final Drive Sun Gear
(116)Differential and Final Drive Assembly
(117)Thrust Bearing
(118)Final Drive Internal Gear
(119)Internal Gear to Case Fretting Ring
Figure 4:

Oil Pump Assembly


Object Number: 20843  Size: LF
(200)Oil Pump Bearing and Seal Assembly
(201)Oil Pump Base
(202)Oil Pump Vane Ring
(202)Oil Pump Vane Ring
(203)Oil Pump Vane
(204)Oil Pump Rotor
(205)Pivot Pin (Oil Pump Slide)
(206)Oil Pump Slide
(207)Oil Pump Slide Seal Support
(208)Oil Pump Slide Seal
(209)O-Ring Seal (Oil Pump Slide)
(210)Fluid Seal Ring (Slide to Body)
(212)Oil Pump Priming Spring
(213)Locating Pin
(214)Pressure Relief Ball
(215)Pressure Relief Spring
(216)Oil Pump Body
(217)Pump Cover
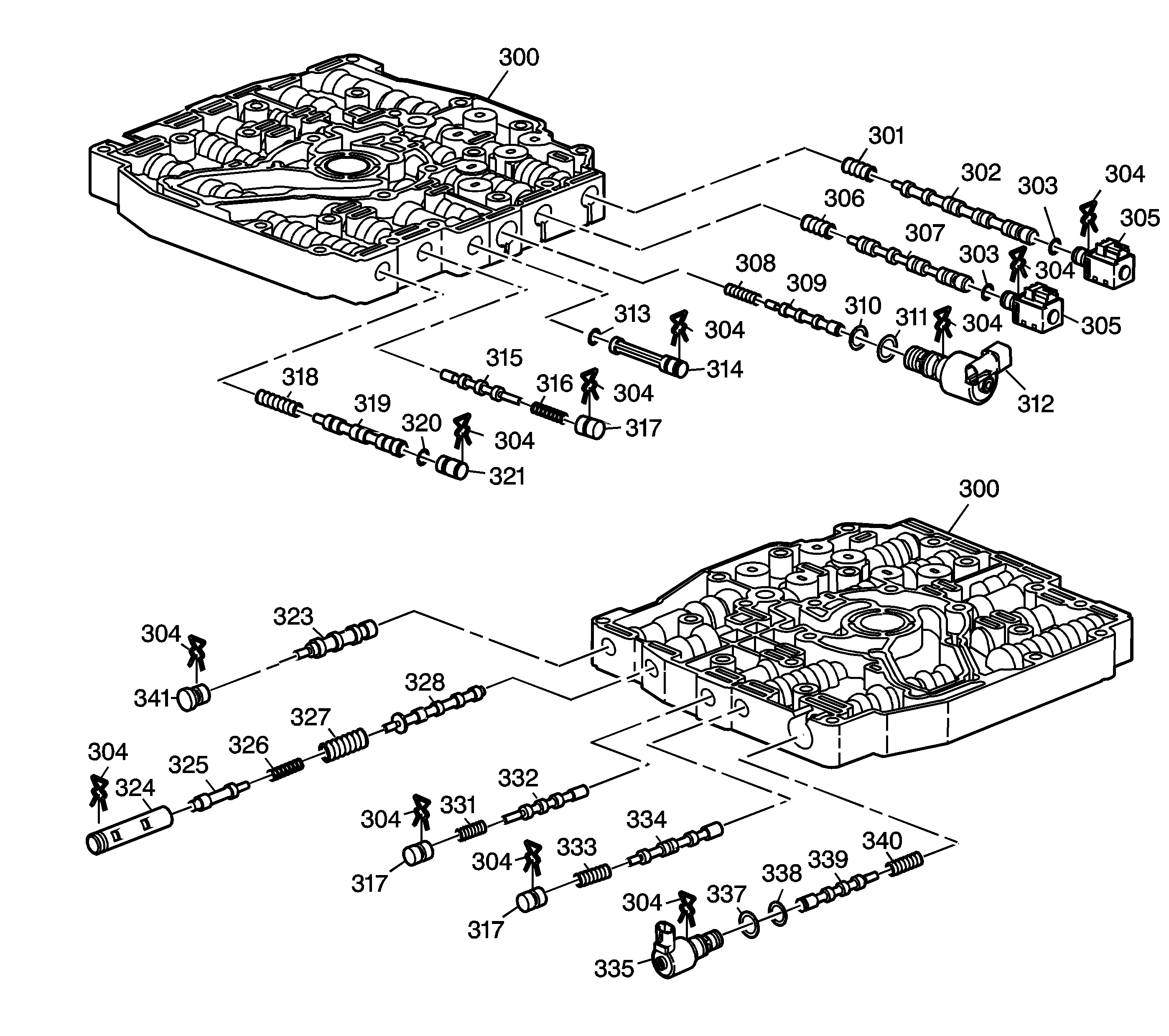
Figure 5:

Control Valve Body Assembly


Object Number: 768687  Size: LF
(300)Control Valve Body Assembly
(300)Control Valve Body Assembly
(301)1-2 Shift Valve Spring
(302)1-2 Shift Valve
(303)Shift Solenoid O-Ring (1-2 and 2-3)
(303)Shift Solenoid O-Ring (1-2 and 2-3)
(304)Retainer Clip
(304)Retainer Clip
(304)Retainer Clip
(304)Retainer Clip
(304)Retainer Clip
(304)Retainer Clip
(304)Retainer Clip
(304)Retainer Clip
(304)Retainer Clip
(304)Retainer Clip
(304)Retainer Clip
(305)Shift Solenoid (1-2 and 2-3)
(305)Shift Solenoid (1-2 and 2-3)
(306)2-3 Shift Valve Spring
(307)2-3 Shift Valve
(308)Torque Signal Regulator Valve Spring
(309)Torque Signal Regulator Valve
(310)Pressure Control Solenoid O-Ring
(311)Pressure Control Solenoid O-Ring
(312)Pressure Control Solenoid
(313)Actuator Oil Filter O-Ring
(314)Actuator Oil Filter
(315)Actuator Feed Limit Valve
(316)Actuator Feed Limit Valve Spring
(317)Bore Plug
(317)Bore Plug
(318)3-4 Shift Valve Spring
(319)3-4 Shift Valve
(320)3-4 Shift Valve Plug O-Ring
(321)Bore Plug
(323)1-2/3-4 Accumulator Valve
(324)Pressure Regulator Boost Valve Bushing
(325)Pressure Regulator Boost Valve
(326)Isolator Spring
(327)Pressure Regulator Valve Spring
(328)Pressure Regulator Valve
(331)TCC Feed Limit Valve Spring
(332)TCC Feed Limit Valve
(333)TCC Control Valve Spring
(334)TCC Control Valve
(335)TCC Control PWM Solenoid
(337)TCC Control Solenoid O-Ring
(338)TCC Control Solenoid O-Ring
(339)TCC Regulated Apply Valve
(340)TCC Regulated Apply Valve Spring
(341)Bore Plug
Figure 6:

Driven Sprocket Support Assembly and 2nd Clutch


Object Number: 55200  Size: MF
(400)Driven Sprocket Support Bearing
(401)Driven Sprocket Support
(402)Driven Sprocket Support Bushing
(403)Oil Seal Ring
(404)2nd Clutch Piston Assembly
(405)2nd Clutch Spring Assembly
(406)2nd Clutch Spring Retaining Ring
(407)Reverse Intermediate Clutch Housing Valve Assembly
Figure 7:

Reverse Input Clutch Assembly


Object Number: 55161  Size: MF
(450)2nd Roller Clutch Retainer
(451)2nd Roller Clutch Cam
(452)2nd Roller Clutch Assembly
(453)Reverse Clutch Bushing
(454)Reverse Clutch Housing
(455)Reverse Clutch Bushing
(456)Reverse Clutch Center Retainer and Seal Assembly
(457)Reverse Clutch Piston Assembly
(458)Reverse Clutch Spring and Retainer Assembly
(459)Snap Ring (Reverse Clutch Spring Retainer)
(460)Reverse Clutch Plate (Waved)
(461)Reverse Clutch Plate (Steel)
(462)Reverse Clutch Plate (Fiber)
(463)Reverse Clutch Backing Plate (Selective)
(464)Snap Ring (Reverse Clutch)
Figure 8:

Direct and Coast Clutch Assemblies


Object Number: 20847  Size: MF
(500)Input Shaft Oil Seal Ring
(501)Input Shaft Bushing
(502)Direct and Coast Clutch and Input Shaft Housing
(503)Direct Clutch Housing to Output Shaft Bushing
(504)Coast Clutch Piston Assembly
(505)Coast Clutch Release Spring
(506)Coast Clutch Spring Retainer
(507)Snap Ring (Coast Clutch Spring Retainer)
(508)Coast Clutch Plate (Steel)
(509)Coast Clutch Plate (Fiber)
(510)Thrust Bearing
(511)Input Sun Gear Shaft and Inner Race Assembly
(512)Outer Race (Input Sprag)
(514)Sprag Clutch End Bearings (2)
(514)Sprag Clutch End Bearings (2)
(515)Input Sprag Assembly
(516)Snap Ring (Outer Race to Sprag Assembly)
(517)Snap Ring (Direct/Coast Clutch Retaining)
(518)Direct Clutch Piston Assembly
(519)Direct Clutch Spring and Retainer Assembly
(520)Direct Clutch Spring Retainer Ring
(521)Direct Clutch Plate (Steel)
(522)Direct Clutch Plate (Fiber)
(523)Direct Clutch Plate (Backing)
(524)Thrust Bearing
(525)Reaction Carrier Shaft Bushing
(526)Reaction Carrier Shaft Shell
(527)Thrust Bearing (Carrier Shaft to Shell)
(528)Reaction Sun Gear Bushing
(529)Reaction Sun Shell
(531)Reaction Carrier Assembly
(532)Thrust Bearing (Reaction Carrier to Sun Gear)
(533)Input Sun Gear
(534)Snap Ring
Figure 9:

Reaction Carrier Assembly


Object Number: 20848  Size: SF
(550)Reaction Carrier
(551)Thrust Bearing
(552)Planetary Pinion Gear Pin
(553)Pinion Thrust Reaction Washer
(553)Pinion Thrust Reaction Washer
(554)Pinion Thrust Inner Washer
(554)Pinion Thrust Inner Washer
(555)Roller Needle Bearing
(556)Reaction Planetary Pinion Gear
Figure 10:

Input Carrier Assembly


Object Number: 20849  Size: MF
(560)Internal Gear (Input and Reaction)
(561)Thrust Bearing
(562)Input Carrier
(563)Snap Ring (Input Carrier to Internal Gear)
(564)Planetary Pinion Gear Pin
(565)Pinion Thrust Input Washer
(565)Pinion Thrust Input Washer
(566)Pinion Thrust Inner Washer
(566)Pinion Thrust Inner Washer
(567)Roller Needle Bearing
(568)Input Planetary Pinion Gear
Figure 11:

Input Internal Gear and Forward Clutch Hub


Object Number: 20850  Size: SF
(560)Internal Gear (Input and Reaction)
(575)Input Flange Bushing
(577)Input Flange and Forward Clutch Hub
(578)Snap Ring (Input Internal Gear to Input Flange)
Figure 12:

Forward Clutch Assembly


Object Number: 728426  Size: LF
(600)Snap Ring (Forward Clutch)
(601)Forward Clutch Plate (Backing)
(602)Forward Clutch Plate (Fiber)
(603)Forward Clutch Plate (Steel)
(604)Forward Clutch Plate (Waved)
(605)Snap Ring (Forward Clutch Spring Assembly)
(606)Forward Clutch Return Spring Assembly
(607)Forward Clutch Piston Assembly
(608)Forward Clutch Inner Seal and Sleeve Assembly
(609)Forward Clutch Housing
(610)Forward Clutch Support Bushing
(611)Forward Clutch Support Bushing
Figure 13:

Forward Clutch Support Assembly


Object Number: 20852  Size: MF
(650)Final Drive Sun Shaft Bushing
(651)Final Drive Sun Shaft
(652)Lo Roller Clutch Assembly
(654)Oil Seal Ring (Forward Clutch Support)
(656)Forward Clutch Support
(658)Thrust Bearing (Forward Support to Park Gear)
(659)Park Lock Gear
(660)Snap Ring (Final Drive Sun Shaft)
(661)Parking Lock Pawl Shaft
(662)Parking Lock Pawl Return Spring
(663)Parking Lock Pawl
Figure 14:

Final Drive and Differential Assembly


Object Number: 20853  Size: MF
(115)Sun Gear (Final Drive)
(700)Thrust Bearing
(701)Spiral Pin Retaining Ring
(702)Differential and Final Drive Carrier
(703)Differential Pinion Shaft
(704)Differential Pinion Shaft Retaining Pin
(705)Speed Sensor Rotor
(706)Thrust Washer (Differential Pinion)
(706)Thrust Washer (Differential Pinion)
(707)Differential Pinion Gear
(707)Differential Pinion Gear
(708)Thrust Washer (Differential Side Gear)
(708)Thrust Washer (Differential Side Gear)
(709)Differential Side Gear
(709)Differential Side Gear
(710)Pinion Thrust Washer
(710)Pinion Thrust Washer
(711)Pinion Gear (Final Drive Planetary)
(712)Roller Needle Bearing
(713)Pinion Needle Bearing Spacer
(714)Planetary Pinion Gear Pin
Figure 15:

Manual Shaft, Parking Pawl and Actuator Assembly


Object Number: 55168  Size: MF
(51)Transaxle Case
(800)Manual Valve
(801)Manual Valve to Link Clip
(802)Manual Valve to Detent Lever Link
(803)Manual Shaft to Case Pin
(804)Manual Detent Spring and Roller Assembly
(805)Spring and Roller Assembly to Channel Plate Bolt
(806)Manual Shaft and Detent Lever Assembly
(807)Parking Lock Actuator Assembly
(809)Manual Shaft to Case Seal
(810)Actuator Guide Spring Pin
(811)Actuator Guide Seal
(812)Actuator Guide