GM Service Manual Online
For 1990-2009 cars only
Makes
🢒
Pontiac
🢒
2002
🢒
Sunfire
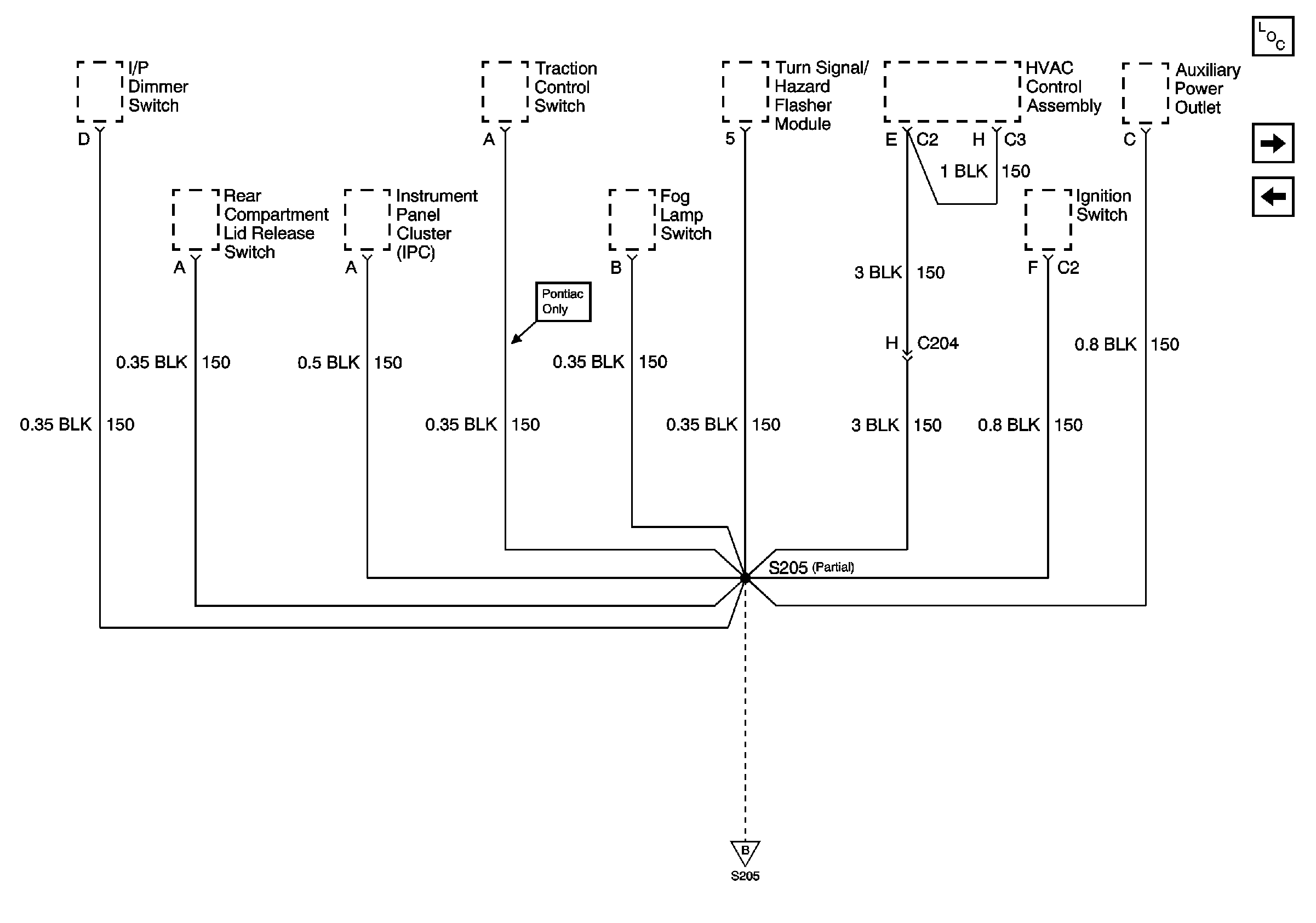
🢒 G204 - 2 of 2
G204 - 2 of 2
G204-2 of 2
Master Electrical Component List
G302
G204 - 1 of 2