GM Service Manual Online
For 1990-2009 cars only
Makes
🢒
Pontiac
🢒
2002
🢒
Sunfire
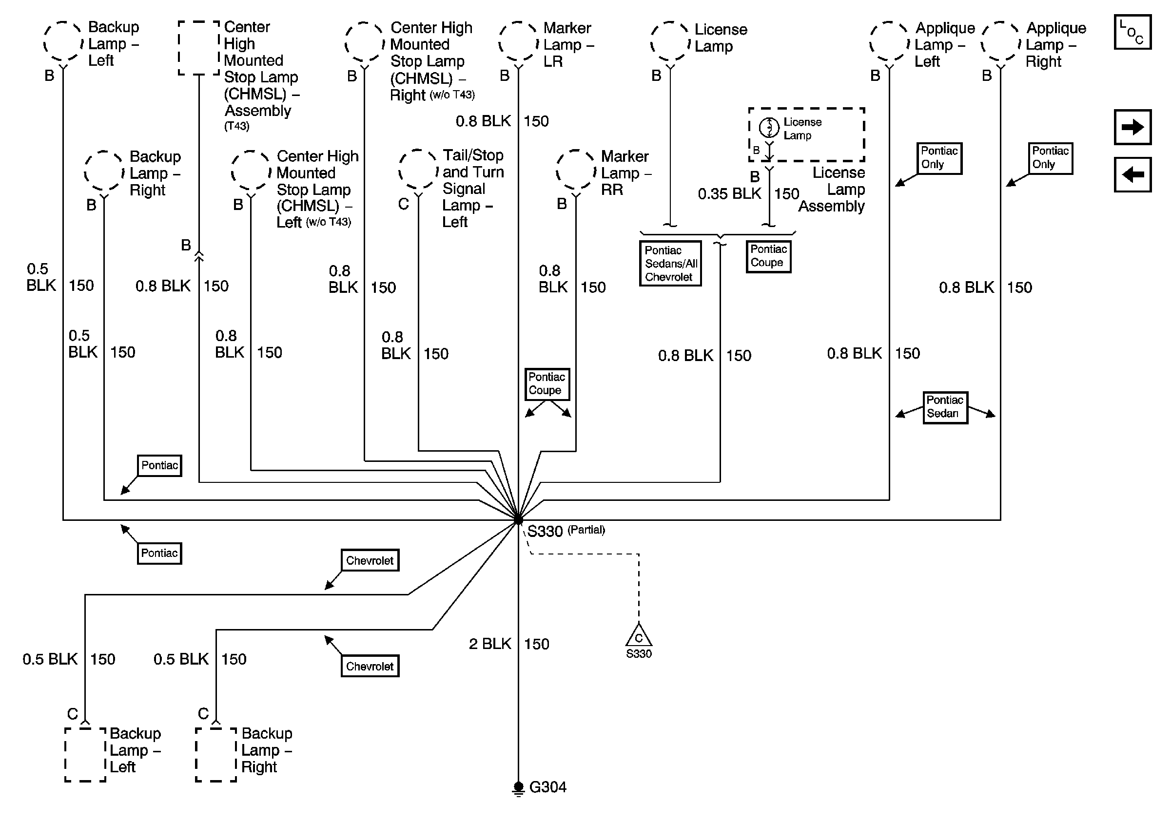
🢒 G304 - 1 of 2
G304 - 1 of 2
G304-1 of 2
Master Electrical Component List
G304 - 2 of 2
G302