GM Service Manual Online
For 1990-2009 cars only
Makes
🢒
Pontiac
🢒
2002
🢒
Sunfire
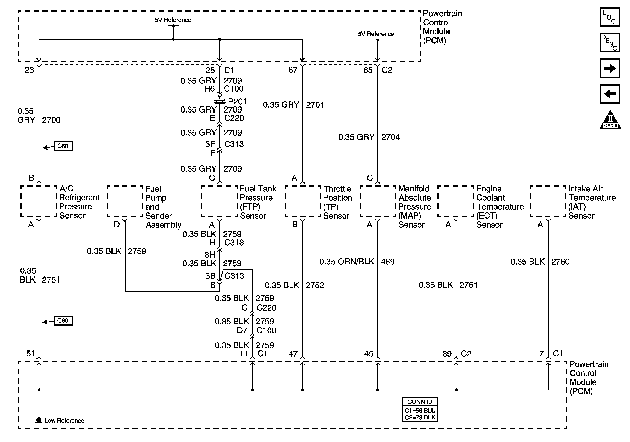
🢒 Five Volt Bus Bar
Five Volt Bus Bar
Engine Data Sensors--5 Volt and Low Reference
Master Electrical Component List
Powertrain Control Module Description
Engine Data Sensors - Pressure and Temperature
Module, Power, Ground, Serial Data and MIL
OBD II Symbol Description Notice