GM Service Manual Online
For 1990-2009 cars only
Makes
🢒
Pontiac
🢒
2002
🢒
Sunfire
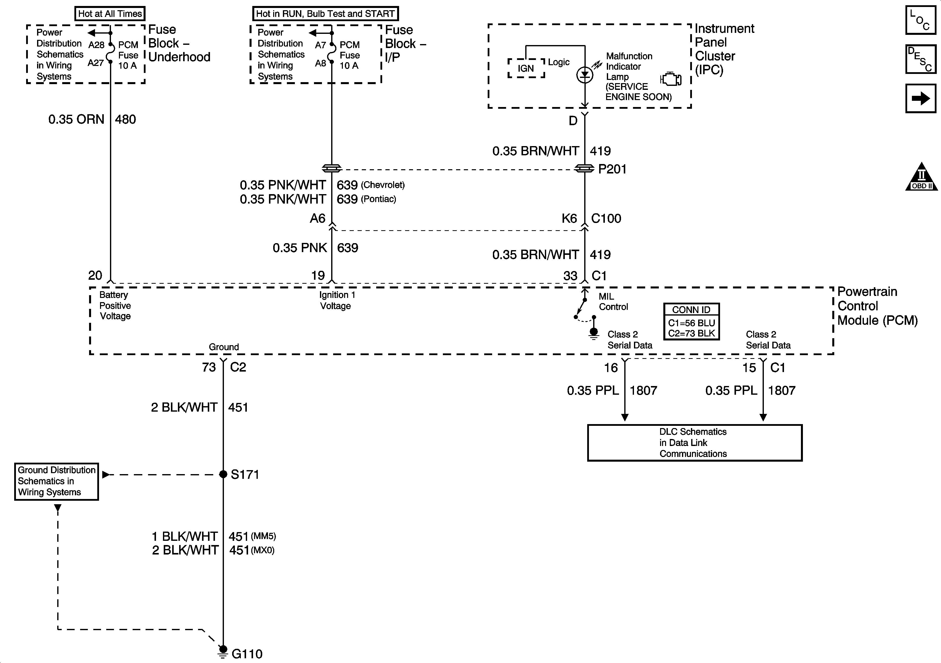
🢒 Module Power, Ground, Serial Data and MIL
Module Power, Ground, Serial Data and MIL
Module Power, Ground, and Serial Data and MIL
Master Electrical Component List
Powertrain Control Module Description
Five Volt Bus Bar
OBD II Symbol Description Notice
B+ Bus Bar
I/P Fuse Block TURN-B/U, IGN MDL, PCM and BCM/CLU Fuses
G110 and G111
Data Link Connector (DLC)