GM Service Manual Online
For 1990-2009 cars only
Makes
🢒
Pontiac
🢒
2002
🢒
Sunfire
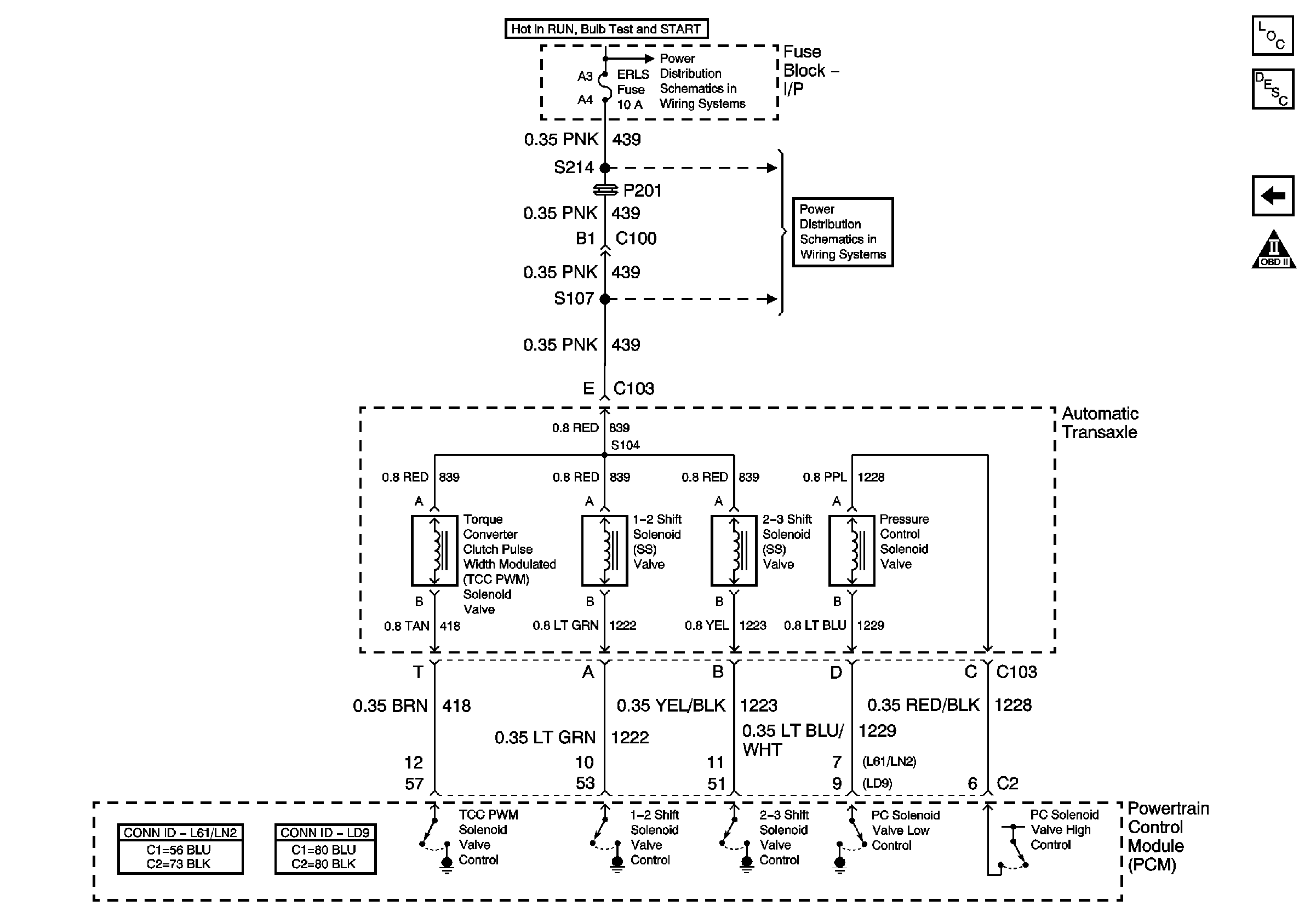
🢒 Solenoid Controls
Solenoid Controls
Solenoid Controls
Master Electrical Component List
Electronic Component Description
PNP Switch and TCC Release Signal
TFP Switch and Speed Sensors
OBD II Symbol Description Notice
I/P Fuse Block ERLS Fuse
2002 J Car Cruise Control Schematics (Power, Ground, and Controls)
Auomatic Transmission Shift Lock Control
I/P Fuse Block ERLS Fuse
I/P Fuse Block ERLS Fuse