GM Service Manual Online
For 1990-2009 cars only
Figure 1:

Antenna Lead and Radio Connector


Object Number: 292098  Size: LF
(1)Antenna Lead (Pontiac)
(2)Radio (Pontiac)
(3)Radio Connector (Chevrolet)
(4)Antenna Lead (Chevrolet)
(5)Radio (Chevrolet)
(6)Radio Connector (Pontiac)
Figure 2:

OnStar Cellular Antenna


Object Number: 882559  Size: MF
(1)Headliner
(2)OnStar Cellular Antenna
(3)Headliner Wiring Harness
(4)Shelf Panel
(5)Navigation Antenna
(6)Digital Radio Receiver
Figure 3:

Driver Door


Object Number: 903623  Size: LF
(1)Inflatable Restraint Side Impact Sensor -- LF (Sedan)
(2)Door Lock Connector -- LF
(3)Outside Rearview Mirror Switch -- LF
(4)Outside Rearview Mirror -- LF Connector
(5)Outside Rearview Mirror Switch Connector -- LF
(6)Window Motor Connector
(7)Speaker -- LF
(8)Speaker Connector -- LF
(9)Door Lock Switch Connector -- LF
(10)Inflatable Restraint Side Impact Sensor --LF (Coupe)
(11)Door Jamb Switch -- LF
(12)Center Pillar -- Left (Sedan)
Figure 4:

Front Center of the Roof


Object Number: 900845  Size: LF
(1)Pigtail Connector
(2)Digital Radio Antenna
Figure 5:

Passenger Door


Object Number: 902710  Size: LF
(1)Outside Rearview Mirror Switch Connectors
(2)Inflatable Restraint Side Impact Sensor -- RF (Sedan)
(3)Door Lock Connector
(4)Center Pillar -- Right (Sedan)
(5)Door Jamb Switch -- Passenger
(6)Inflatable Restraint Side Impact Sensor -- RF (Coupe)
(7)Door Lock Switch Connector
(8)Speaker Connector
(9)Speaker
(10)Window Motor Connector
Figure 6:

Rear Compartment


Object Number: 795413  Size: MF
(1)Audio Amplifier (U85)
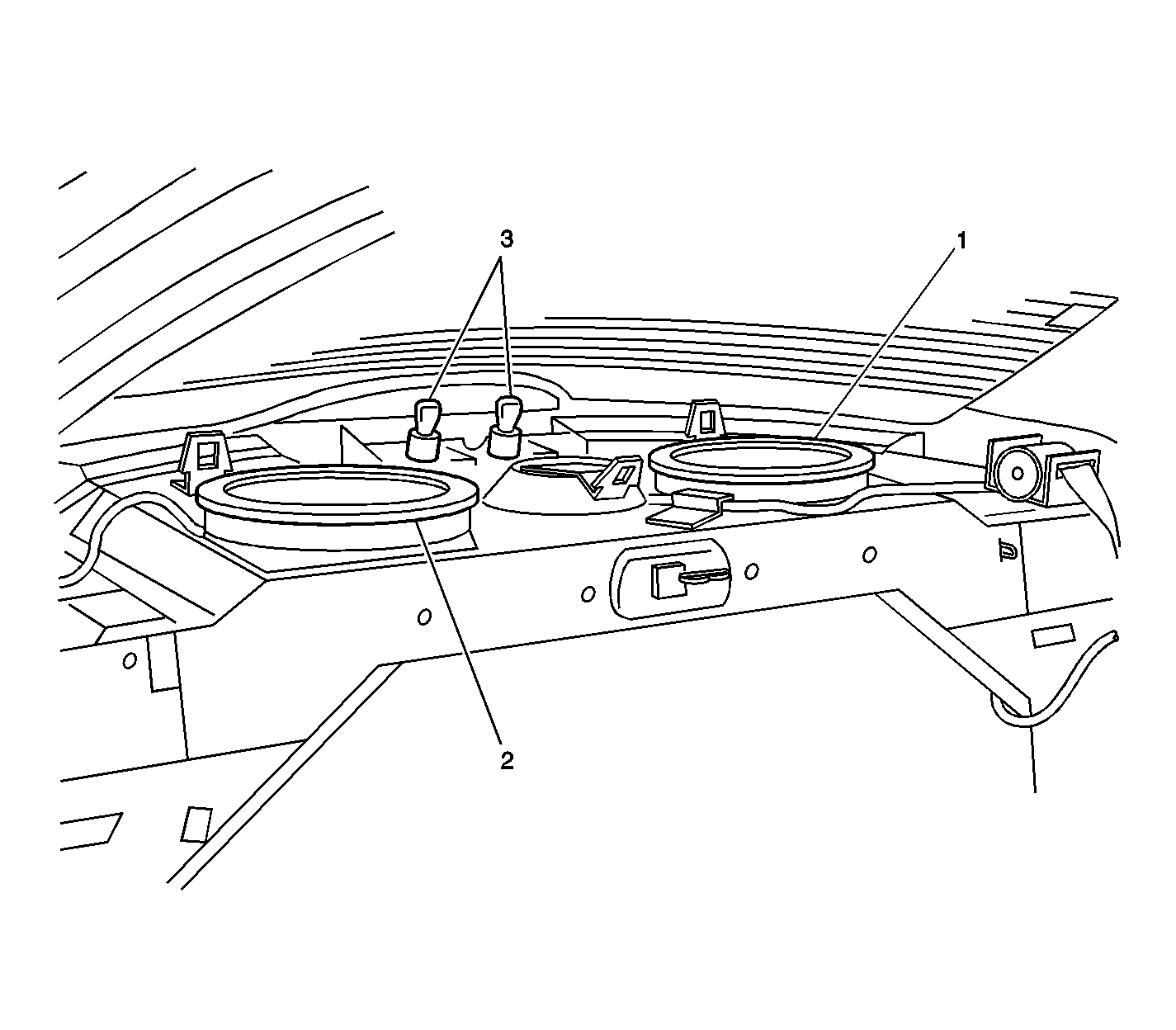
Figure 7:

Rear Package Shelf -- Speakers and CHMSL


Object Number: 793695  Size: LF
(1)Left Rear Speaker
(2)Right Rear Speaker
(3)Center High Mounted Stop Lamp--Chevrolet (-T43)