Removal Procedure
- Remove enough of the headliner in order to expose the antenna base and the electrical
connections. Refer to
Headlining Trim Panel Replacement
in Interior Trim.
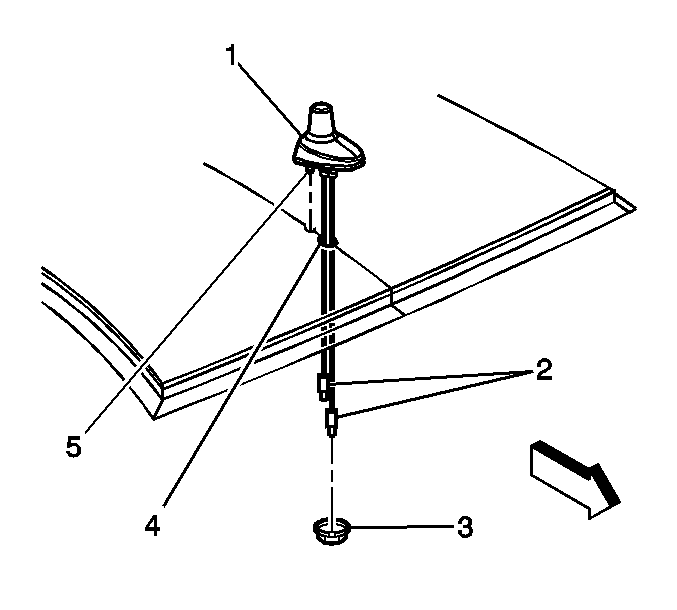
- Release the locking tabs for the antenna leads (2).
- Disconnect the antenna leads (2) from the headliner wire harness
assembly.
- Remove the power sunroof motor/actuator, if equipped. Refer to
Sunroof Motor/Actuator Replacement
in Roof.
- Remove the antenna base nut (3).
- Remove the antenna base (1) from the vehicle roof.
- Route the antenna leads (2) through the opening in the vehicle
roof (4).
Installation Procedure
- Route the antenna leads (2) through the opening in the vehicle roof (4).
- Align the locating pin (5) on the antenna base (1) to the
vehicle roof.
- Install the antenna base (1) to the vehicle roof.
Notice: Use the correct fastener in the correct location. Replacement fasteners
must be the correct part number for that application. Fasteners requiring
replacement or fasteners requiring the use of thread locking compound or sealant
are identified in the service procedure. Do not use paints, lubricants, or
corrosion inhibitors on fasteners or fastener joint surfaces unless specified.
These coatings affect fastener torque and joint clamping force and may damage
the fastener. Use the correct tightening sequence and specifications when
installing fasteners in order to avoid damage to parts and systems.
- Install the antenna mounting nut (3).
Tighten
Tighten the nut to 6 N·m (53 lb in).
- Install the power sunroof motor/actuator. Refer to
Sunroof Motor/Actuator Replacement
in Roof.
- Connect the antenna lead (2) to headliner wire harness assembly.
- Press the connector until the locking tabs are fully engaged.
- Install the headliner. Refer to
Headlining Trim Panel Replacement
in Interior Trim.