GM Service Manual Online
For 1990-2009 cars only

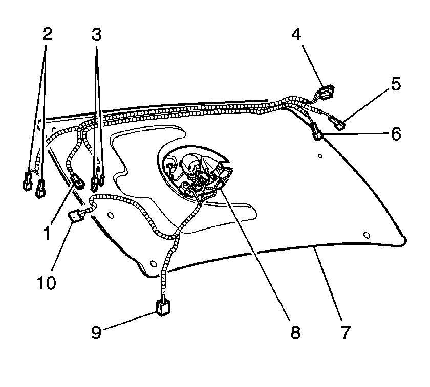
Removal Procedure


    Object Number: 880096  Size: SH
  1. Remove the rear window trim panel. Refer to Rear Window Shelf Trim Panel Replacement in Interior Trim.
  2. Disconnect the coaxial cable connector (4) from the digital radio receiver.
  3. Cut off the visible end from the coaxial cable.
  4. Lower the headliner enough to access the wire harness. Refer to Headlining Trim Panel Replacement in Interior Trim.
  5. Disconnect the coaxial cable connectors (3) at the antenna base.
  6. Cut off the visible end of the coaxial cable.

Installation Procedure


    Object Number: 885693  Size: SH
  1. Position the replacement coaxial cable (4) along side the old coaxial cable harness. Secure the new coaxial cable to the old coaxial harness every 150 mm (6 in) with electrical tape, nylon straps, or a hot glue gun.
  2. Connect the coaxial cable to the pigtail connector (2) at the antenna base.
  3. Install the headliner (8) to the original position. Refer to Headlining Trim Panel Replacement in Interior Trim.
  4. Install the coax cable connector (5) to the digital radio receiver.
  5. Install the rear window trim panel. Refer to Rear Window Shelf Trim Panel Replacement in Interior Trim.