Removal Procedure
- Remove rear shelf trim panel. Refer to
Rear Window Shelf Trim Panel Replacement
in Interior
Trim.
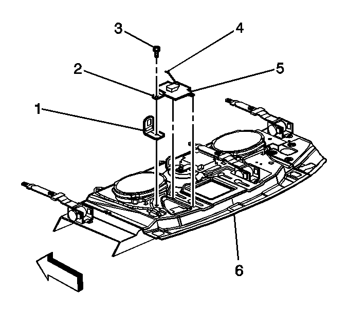
- Remove the rosebud retainers securing the global position sensor (GPS)
antenna wire harness to the rear shelf and the upper rear quarter panel.
- Disconnect the electrical connection for the GPS antenna wire harness
from the headliner wire harness.
- Remove the child tether attachment bolt (3) form the GPS antenna
bracket (2).
- Lift the GPS antenna bracket (2) at a 45-degree angle to disengage
the locating tabs (5) from the slots in the rear shelf (6).
- Remove the GPS antenna assembly from the rear shelf (6).
Installation Procedure
Important: The GPS antenna bracket and the child tether attachment use the same fastener.
Check the alignment of the child tether attachment and the GPS bracket to the rear
shelf prior to installing the fastener.
- Install the GPS antenna bracket (2) at a 45-degree angle to engage the
locating tabs (5) into the slots in the rear shelf (6).
Notice: Refer to Fastener Notice in the Preface section.
- Install the child tether attachment bolt (3).
Tighten
Tighten the bolt to 28 N·m (20 lb ft).
- Connect the electrical connection for the GPS antenna wire harness to
the headliner wire harness.
- Install the rosebud retainers securing the GPS antenna wire harness to
the rear shelf and the upper rear quarter panel.
- Install the rear shelf trim panel. Refer to
Rear Window Shelf Trim Panel Replacement
in Interior Trim.