GM Service Manual Online
For 1990-2009 cars only
Makes
🢒
Pontiac
🢒
2004
🢒
Sunfire
🢒
Transmission/Transaxle
🢒
Automatic Transaxle - 4T40-E/4T45-E
🢒 Automatic Transmission Controls Schematics
Figure
1:
Automatic Transmission Controls
Master Electrical Component List
Transmission General Description
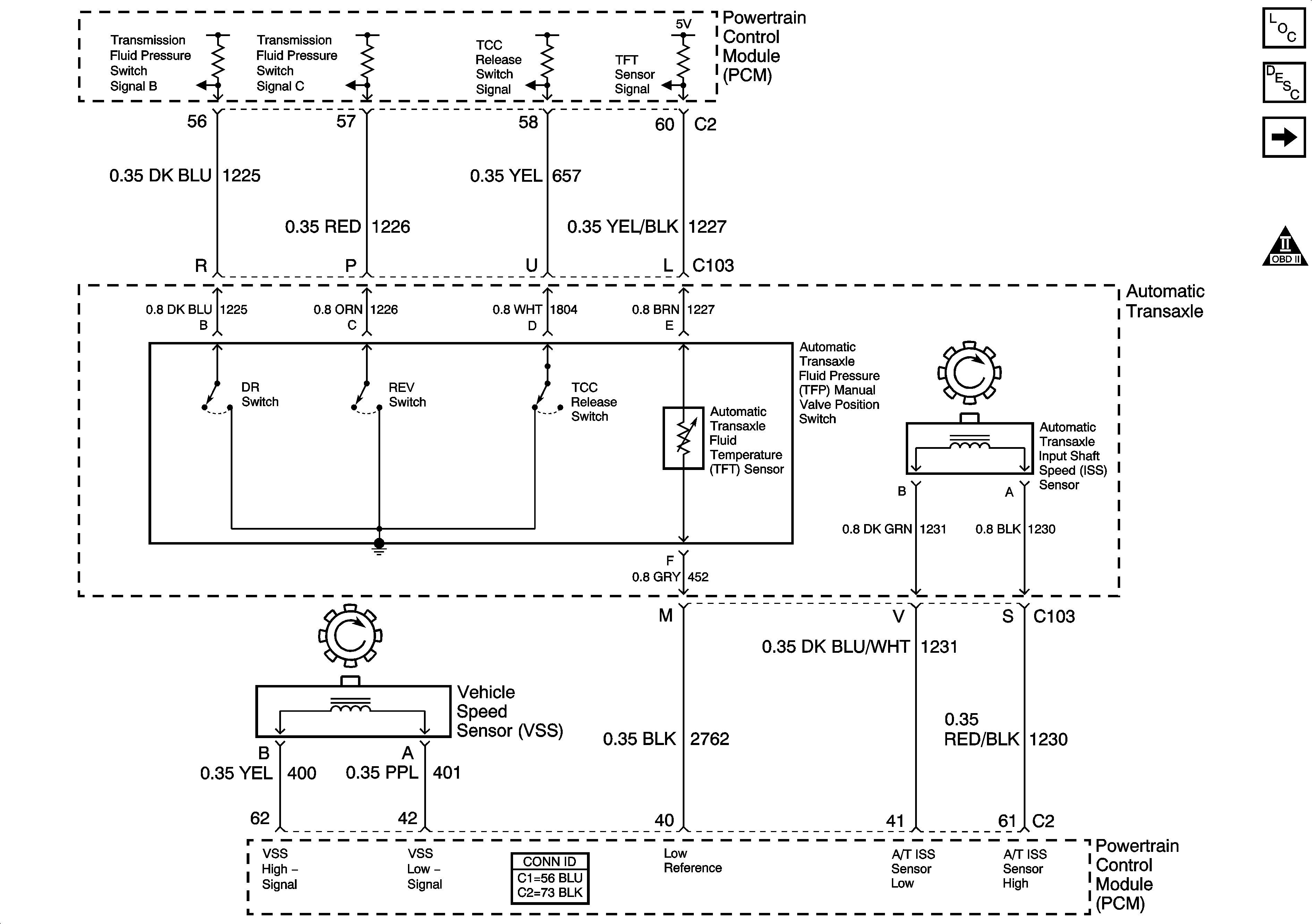
PNP Switch and TCC Release Signal
OBD II Symbol Description Notice
Figure
2:
PNP Switch and TCC Release Signal
Master Electrical Component List
Transmission General Description
Automatic Transmission Controls
Solenoid Controls
Figure
3:
Solenoid Controls
Master Electrical Component List
Transmission General Description
PNP Switch and TCC Release Signal
OBD II Symbol Description Notice
Fuse Block I/P, ERLS Fuses
Fuse Block I/P, ERLS Fuses