GM Service Manual Online
For 1990-2009 cars only
Figure 1:

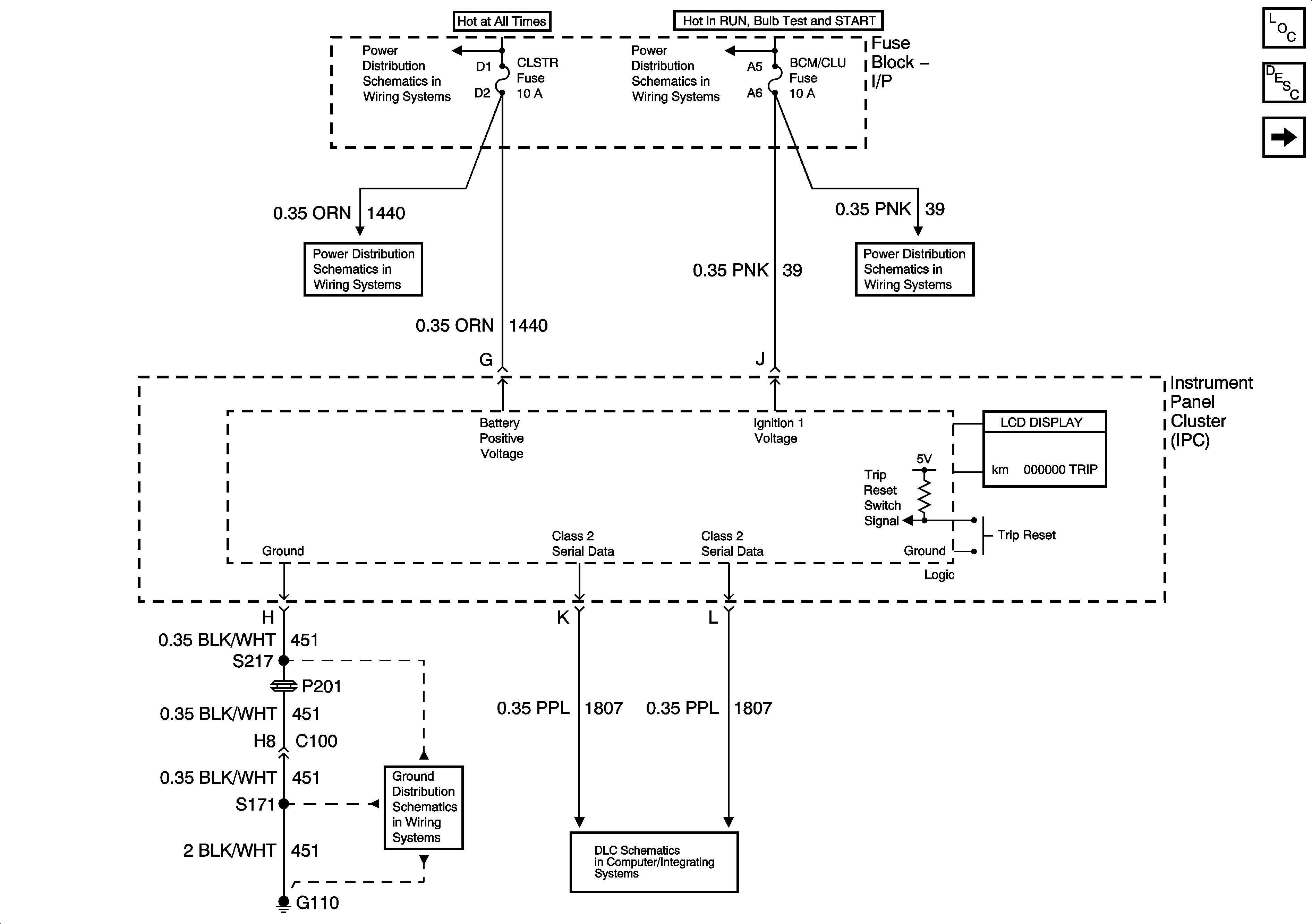
Power, Ground and Serial Data


Object Number: 1400627  Size: FS
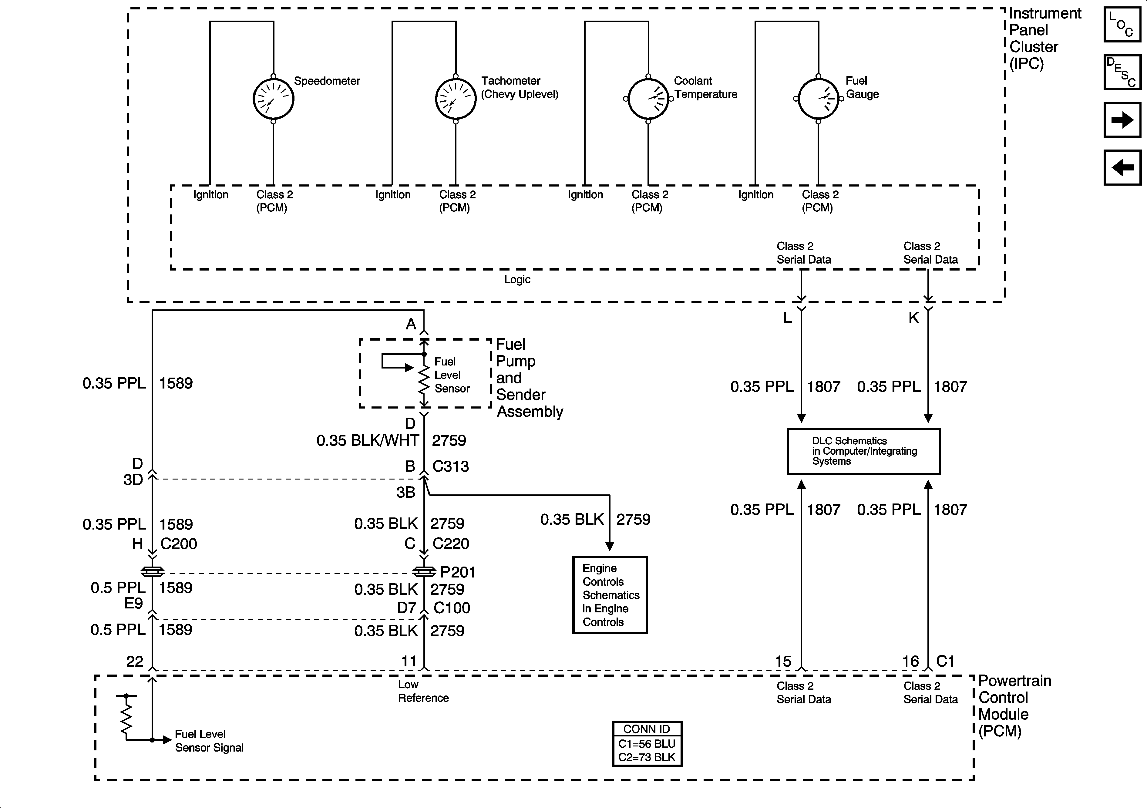
Figure 2:

Gages


Object Number: 1401032  Size: FS
Figure 3:

Indicator Lights and EOP


Object Number: 1400628  Size: FS