GM Service Manual Online
For 1990-2009 cars only
Connector 1: Ambient Light Sensor
Connector 2: Backup Lamp - Left
Connector 3: Backup Lamp - Right
Connector 4: Center High Mounted Stop Lamp (CHMSL)
Connector 5: Courtesy/Map Lamp
Connector 6: Daytime Running Lamps (DRL) Resistor
Connector 7: Dimmer Switch
Connector 8: Dome Lamp - Center
Connector 9: Dome Lamp - Rear
Connector 10: Fog Lamp - Left (T96)
Connector 11: Fog Lamp - Right (T96)
Connector 12: Fog Lamp Switch (T96)
Connector 13: Hazard Switch
Connector 14: Headlamp - Left (Chevrolet)
Connector 15: Headlamp - Left (Pontiac)
Connector 16: Headlamp - Right (Chevrolet)
Connector 17: Headlamp - Right (Pontiac)
Connector 18: Headlamp Switch
Connector 19: License Lamp - Left
Connector 20: License Lamp - Right
Connector 21: Marker Lamp - LF (Chevrolet)
Connector 22: Marker Lamp - LF (Pontiac)
Connector 23: Marker Lamp - LR
Connector 24: Marker Lamp - RF (Chevrolet)
Connector 25: Marker Lamp - RF (Pontiac)
Connector 26: Marker Lamp - RR
Connector 27: Park Lamp - LF (Chevrolet)
Connector 28: Park Lamp - RF (Chevrolet)
Connector 29: Park/Stop Lamp - LR
Connector 30: Park/Stop Lamp - RR
Connector 31: Park/Turn Signal Lamp - LF (Pontiac)
Connector 32: Park/Turn Signal Lamp - LR
Connector 33: Park/Turn Signal Lamp - RF (Pontiac)
Connector 34: Park/Turn Signal Lamp - RR
Connector 35: Stop Lamp Switch
Connector 36: Trailer Connector (V92)
Connector 37: Turn Signal Lamp - LF (Chevrolet)
Connector 38: Turn Signal Lamp - RF (Chevrolet)
Connector 39: Turn Signal Relay

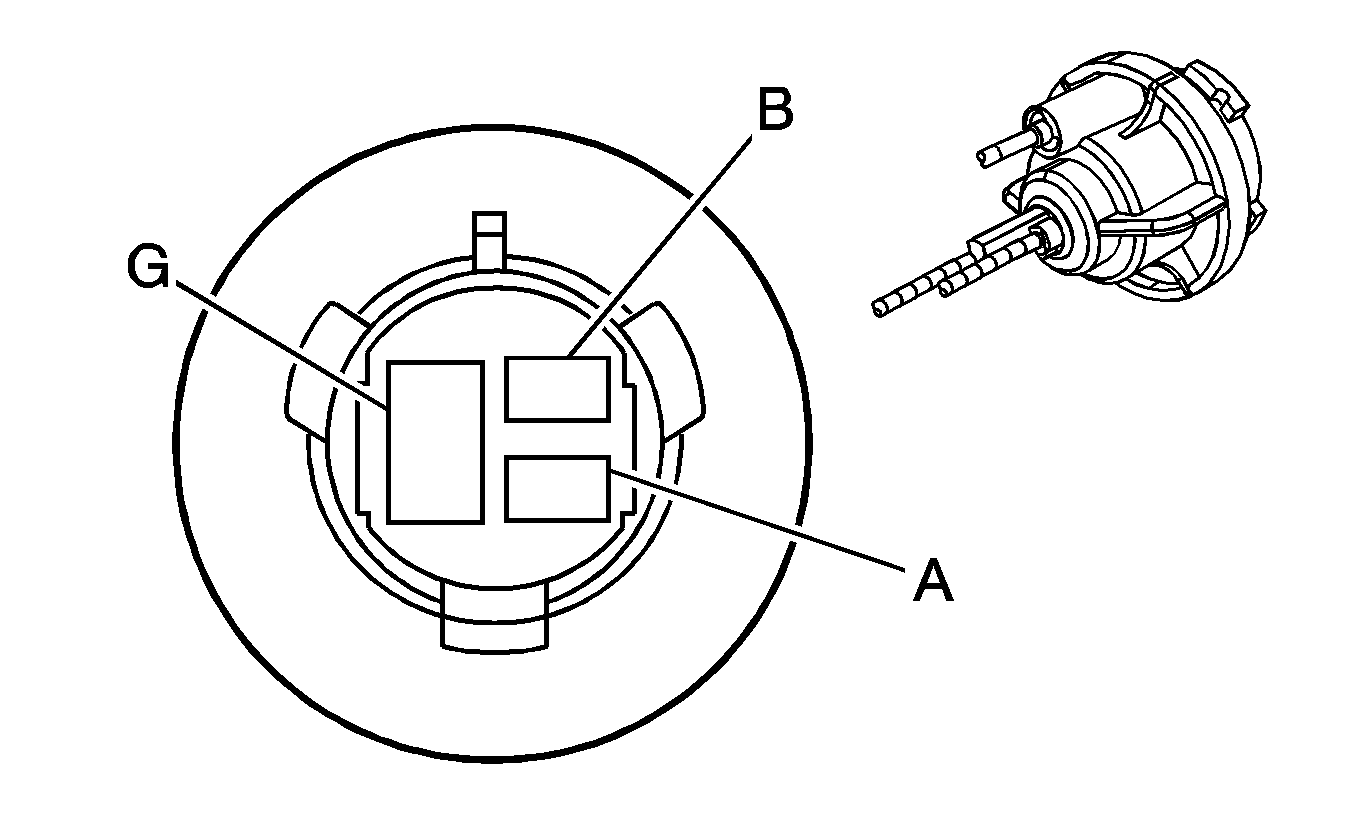
Ambient Light Sensor


Object Number: 82383  Size: CH

Connector Part Information

  • OEM: 12047662
  • Service: 12085535
  • Description: 2-Way F Metri-Pack 150 Series (BK)

Ambient Light Sensor

Pin

Wire Color

Circuit No.

Function

A

L-GN/BK

1137

DRL/Ambient Light Sensor Signal

B

YE/BK

1138

DRL Ambient Light Sensor Low Reference

Backup Lamp - Left


Object Number: 1470039  Size: CH

Connector Part Information

  • OEM: Stanley
  • Service: N/A
  • Description: 2-Way F Bulb Socket (BK)

Backup Lamp - Left

Pin

Wire Color

Circuit No.

Function

A

RD

24

Backup Lamps Supply Voltage

B

BK

850

Ground

Backup Lamp - Right


Object Number: 1470039  Size: CH

Connector Part Information

  • OEM: Stanley
  • Service: N/A
  • Description: 2-Way F Bulb Socket (BK)

Backup Lamp - Right

Pin

Wire Color

Circuit No.

Function

A

RD

24

Backup Lamps Supply Voltage

B

BK

850

Ground

Center High Mounted Stop Lamp (CHMSL)


Object Number: 1413080  Size: CH

Connector Part Information

  • OEM: 7223-1324
  • Service: See Catalog
  • Description: 2-Way F (NAT)

Center High Mounted Stop Lamp (CHMSL)

Pin

Wire Color

Circuit No.

Function

1

L-BU

20

Stop Lamp Switch Signal

2

BK

850

Ground

Courtesy/Map Lamp


Object Number: 333035  Size: CH

Connector Part Information

  • OEM: 12047781
  • Service: 12101864
  • Description: 3-Way F (BK)

Courtesy/Map Lamp

Pin

Wire Color

Circuit No.

Function

A

OG

1732

Courtesy Lamps Supply Voltage

B

GY

157

Courtesy Lamp Control

C

BK

750

Ground

Daytime Running Lamps (DRL) Resistor


Object Number: 68721  Size: CH

Connector Part Information

  • OEM Assembly: 15300027
  • OEM Connector Body: 15300008
  • Service: 12101855
  • Description: 2-Way F Metri-Pack 280 Series Sealed (BK)

Daytime Running Lamps (DRL) Resistor

Pin

Wire Color

Circuit No.

Function

A

GY

589

DRL Resistor Supply Voltage

B

BK

150

Ground

Dimmer Switch


Object Number: 808685  Size: CH

Connector Part Information

  • OEM: 12020299
  • Service: 12102566
  • Description: 5-Way F P/C Edgeboard - Standard (NA)

Dimmer Switch

Pin

Wire Color

Circuit No.

Function

A

--

--

Not Used

B

BN/WH

230

Instrument Panel Lamps Dimming Control

C

TN

470

Low Reference

D-E

--

--

Not Used

Dome Lamp - Center


Object Number: 130635  Size: CH

Connector Part Information

  • OEM: 12045813
  • Service: 12101889
  • Description: 4-Way F (NA)

Dome Lamp - Center

Pin

Wire Color

Circuit No.

Function

A

WH

156

Courtesy Lamp Switch Signal

B

GY

157

Interior Lamp Control

C

BK

750

Ground

D

OG

1732

Courtesy Lamps Supply Voltage

Dome Lamp - Rear


Object Number: 130635  Size: CH

Connector Part Information

  • OEM: 12045813
  • Service: 12101889
  • Description: 4-Way F (NA)

Dome Lamp - Rear

Pin

Wire Color

Circuit No.

Function

A

--

--

Not Used

B

GY

157

Interior Lamp Control

C

--

--

Not Used

D

OG

1732

Courtesy Lamps Supply Voltage

Fog Lamp - Left (T96)


Object Number: 1413064  Size: CH

Connector Part Information

  • OEM: 12124819
  • Service: 12085498
  • Description: 2-Way F Metri-Pack 280 Series (BK)

Fog Lamp - Left (T96)

Pin

Wire Color

Circuit No.

Function

A

PU

34

Front Fog Lamp Supply Voltage

B

BK

150

Ground

Fog Lamp - Right (T96)


Object Number: 1413064  Size: CH

Connector Part Information

  • OEM: 12124819
  • Service: 12085498
  • Description: 2-Way F Metri-Pack 280 Series (BK)

Fog Lamp - Right (T96)

Pin

Wire Color

Circuit No.

Function

A

PU

34

Front Fog Lamp Supply Voltage

B

BK

150

Ground

Fog Lamp Switch (T96)


Object Number: 1413094  Size: CH

Connector Part Information

  • OEM: 6098-1779
  • Service: See Catalog
  • Description: 5-Way F (GN)

Fog Lamp Switch (T96)

Pin

Wire Color

Circuit No.

Function

A

YE

317

Fog Lamp Relay Control

B

BK

550

Ground

C

GY

8

Instrument Panel Lamps Supply Voltage

D

PK

139

Ignition 1 Voltage

E

OG

192

Front Fog Lamp Switch Signal

Hazard Switch


Object Number: 1412993  Size: CH

Connector Part Information

  • OEM: 7183-7201-80
  • Service: 88988593
  • Description: 10-Way F (BN)

Hazard Switch

Pin

Wire Color

Circuit No.

Function

A

PU

1697

Turn Signal Relay Signal

B

RD/WH

1040

Battery Positive Voltage

C

L-GN

665

Turn Signal Relay Control

D

YE

243

Accessory Voltage

E

D-BU

15

Right Turn Signal Lamp Supply Voltage

F-G

--

--

Not Used

H

L-BU

14

Left Turn Signal Lamp Supply Voltage

I

GY

8

Instrument Panel Lamps Supply Voltage

J

BK/WH

151

Signal Ground

Headlamp - Left (Chevrolet)


Object Number: 1413067  Size: CH

Connector Part Information

  • OEM: 6189-0112
  • Service: 88988457
  • Description: 3-Way F HW 090 Series, Sealed (WH)

Terminal Part Information

  • Terminal: Service by Connector Assembly - 88988457
  • Release Tool/Test Probe: 15315247/J-35616-4A (PU)

Headlamp - Left (Chevrolet)

Pin

Wire Color

Circuit No.

Function

1

D-BU

1201

Headlamp Low Beam Signal

2

RD/WH

740

Battery Positive Voltage

3

PK

1200

Headlamp High Beam Signal

Headlamp - Left (Pontiac)


Object Number: 1591675  Size: CH

Connector Part Information

  • OEM: 7900-1486-003
  • Service:88988364
  • Description: 3-Way F Lamp Socket Sealed (BK)

Headlamp - Left (Pontiac)

Pin

Wire Color

Circuit No.

Function

1

D-BU

1201

Headlamp Low Beam Signal

2

RD/WH

740

Battery Positive Voltage

3

PK

1200

Headlamp High Beam Signal

Headlamp - Right (Chevrolet)


Object Number: 1413067  Size: CH

Connector Part Information

  • OEM: 6189-0112
  • Service: 88988457
  • Description: 3-Way F HW 090 Series, Sealed (WH)

Terminal Part Information

  • Terminal: Service by Connector Assembly - 88988457
  • Release Tool/Test Probe: 15315247/J-35616-4A (PU)

Headlamp - Right (Chevrolet)

Pin

Wire Color

Circuit No.

Function

1

D-BU

1201

Headlamp Low Beam Signal

2

RD/WH

640

Battery Positive Voltage

3

PK

1200

Headlamp High Beam Signal

Headlamp - Right (Pontiac)


Object Number: 1591675  Size: CH

Connector Part Information

  • OEM: 7900-1486-003
  • Service: 88988364
  • Description: 3-Way F Lamp Socket Sealed (BK)

Headlamp - Right (Pontiac)

Pin

Wire Color

Circuit No.

Function

1

D-BU

1201

Headlamp Low Beam Signal

2

RD/WH

640

Battery Positive Voltage

3

PK

1200

Headlamp High Beam Signal

Headlamp Switch


Object Number: 1283124  Size: CH

Connector Part Information

  • OEM: 929504-3
  • Service: 15318085
  • Description: 8-Way F (BK)

Headlamp Switch

Pin

Wire Color

Circuit No.

Function

1

BK

550

Ground

2

L-BU

14

Left Turn Signal Lamp Supply Voltage

3

GY

691

Headlamp Relay Output

4

PU

1697

Turn Signal Relay Signal

5

D-BU

1201

Headlamp Low Beam Signal

6

D-BU

15

Right Turn Signal Lamp Supply Voltage

7

PK

1200

Headlamp High Beam Signal

8

L-BU

74

Park Lamp Switch Signal

License Lamp - Left


Object Number: 1199757  Size: CH

Connector Part Information

  • OEM: 15317651
  • Service: 15306330
  • Description: 2-Way F LP Socket WGE BSE W2 (GY)

License Lamp - Left

Pin

Wire Color

Circuit No.

Function

A

BK

750

Ground

B

BN

9

Park Lamp Supply Voltage

License Lamp - Right


Object Number: 1199757  Size: CH

Connector Part Information

  • OEM: 15317651
  • Service: 15306330
  • Description: 2-Way F LP Socket WGE BSE W2 (GY)

License Lamp - Right

Pin

Wire Color

Circuit No.

Function

A

BK

750

Ground

B

BN

9

Park Lamp Supply Voltage

Marker Lamp - LF (Chevrolet)


Object Number: 1413065  Size: CH

Connector Part Information

  • OEM: 7123-5228
  • Service: 88988459
  • Description: 2-Way F 250 Housing ET Lock Series (NA)

Marker Lamp - LF (Chevrolet)

Pin

Wire Color

Circuit No.

Function

1

BN

9

Park Lamp Supply Voltage

2

BK

150

Ground

Marker Lamp - LF (Pontiac)


Object Number: 1283850  Size: CH

Connector Part Information

  • OEM: E-3550
  • Service: 89046838
  • Description: 2-Way F 1.5 mm Series (BK)

Marker Lamp - LF (Pontiac)

Pin

Wire Color

Circuit No.

Function

1

BN

9

Park Lamp Supply Voltage

2

BK

150

Ground

Marker Lamp - LR


Object Number: 1470039  Size: CH

Connector Part Information

  • OEM: Stanley 140
  • Service: N/A
  • Description: 2-Way F Bulb Socket (BK)

Marker Lamp - LR

Pin

Wire Color

Circuit No.

Function

A

RD/BU

9

Park Lamp Supply Voltage

B

BK

750

Ground

Marker Lamp - RF (Chevrolet)


Object Number: 1413065  Size: CH

Connector Part Information

  • OEM: 7123-5228
  • Service: 88988459
  • Description: 2-Way F 250 Housing ET Lock Series (NAT)

Marker Lamp - RF (Chevrolet)

Pin

Wire Color

Circuit No.

Function

1

BN

9

Park Lamp Supply Voltage

2

BK

150

Ground

Marker Lamp - RF (Pontiac)


Object Number: 1283850  Size: CH

Connector Part Information

  • OEM: E-3550
  • Service: 89046838
  • Description: 2-Way F 1.5 mm Series (BK)

Marker Lamp - RF (Pontiac)

Pin

Wire Color

Circuit No.

Function

1

BN

9

Park Lamp Supply Voltage

2

BK

150

Ground

Marker Lamp - RR


Object Number: 1470039  Size: CH

Connector Part Information

  • OEM: Stanley 140
  • Service: N/A
  • Description: 2-Way F Bulb Socket (BK)

Marker Lamp - RR

Pin

Wire Color

Circuit No.

Function

A

RD/BU

9

Park Lamp Supply Voltage

B

BK

850

Ground

Park Lamp - LF (Chevrolet)


Object Number: 1290303  Size: CH

Connector Part Information

  • OEM: 6189-0890
  • Service: 88988458
  • Description: 2-Way F Series Sealed (BK)

Park Lamp - LF (Chevrolet)

Pin

Wire Color

Circuit No.

Function

1

BN

9

Park Lamp Supply Voltage

2

BK

150

Ground

Park Lamp - RF (Chevrolet)


Object Number: 1290303  Size: CH

Connector Part Information

  • OEM: 6189-0890
  • Service: 88988458
  • Description: 2-Way F Series Sealed (BK)

Park Lamp - RF (Chevrolet)

Pin

Wire Color

Circuit No.

Function

1

BN

9

Park Lamp Supply Voltage

2

BK

150

Ground

Park/Stop Lamp - LR


Object Number: 1470037  Size: CH

Connector Part Information

  • OEM: Stanley 1480
  • Service: N/A
  • Description: 3-Way F Bulb #3057 Socket (BK)

Park/Stop Lamp - LR

Pin

Wire Color

Circuit No.

Function

A

RD/BU

20

Stop Lamp Switch Signal

B

D-GN/WH

9

Park Lamps Supply Voltage

G

BK

750

Ground

Park/Stop Lamp - RR


Object Number: 1470037  Size: CH

Connector Part Information

  • OEM: Stanley 1480
  • Service: N/A
  • Description: 3-Way F Bulb #3057 Socket (BK)

Park/Stop Lamp - RR

Pin

Wire Color

Circuit No.

Function

A

RD/BU

20

Stop Lamp Switch Signal

B

D-GN/WH

9

Park Lamps Supply Voltage

G

BK

850

Ground

Park/Turn Signal Lamp - LF (Pontiac)


Object Number: 898467  Size: CH

Connector Part Information

  • OEM: 7900-1493-000
  • Service: Service By Harness - See Part Catlog
  • Description: 3-Way F (TN)

Park/Turn Signal Lamp - LF (Pontiac)

Pin

Wire Color

Circuit No.

Function

1

L-BU

14

Left Turn Signal Lamps Supply Voltage

2

BN

9

Park Lamp Supply Voltage

3

BK

150

Ground

Park/Turn Signal Lamp - LR


Object Number: 1470037  Size: CH

Connector Part Information

  • OEM: Stanley 1500
  • Service: Service By Harness - See Part Catlog
  • Description: 3-Way F Bulb #3057 Socket (TN)

Park/Turn Signal Lamp - LR

Pin

Wire Color

Circuit No.

Function

A

RD/BU

18

Left Turn Signal Supply Voltage

B

GN

9

Park Lamps Supply Voltage

G

BK

750

Ground

Park/Turn Signal Lamp - RF (Pontiac)


Object Number: 898467  Size: CH

Connector Part Information

  • OEM: 7900-1493-000
  • Service: Service By Harness - See Part Catlog
  • Description: 3-Way F (BK)

Park/Turn Signal Lamp - RF (Pontiac)

Pin

Wire Color

Circuit No.

Function

1

D-BU

15

Right Turn Signal Lamps Supply Voltage

2

BN

9

Park Lamp Supply Voltage

3

BK

150

Ground

Park/Turn Signal Lamp - RR


Object Number: 1470037  Size: CH

Connector Part Information

  • OEM: Stanley 1500
  • Service: Service By Harness - See Part Catlog
  • Description: 3-Way F Bulb #3057 Socket (TN)

Park/Turn Signal Lamp - RR

Pin

Wire Color

Circuit No.

Function

A

RD/BU

19

Right Turn Signal Supply Voltage

B

D-GN

9

Park Lamps Supply Voltage

G

BK

850

Ground

Stop Lamp Switch


Object Number: 73251  Size: CH

Connector Part Information

  • OEM: 12033701
  • Service: See Catalog
  • Description: 2-Way F Metri-Pack 480 Series (GY)

Stop Lamp Switch

Pin

Wire Color

Circuit No.

Function

A

RD/WH

540

Battery Positive Voltage

B

L-BU

20

Stop Lamp Switch Signal

Trailer Connector (V92)


Object Number: 1479630  Size: CH

Connector Part Information

  • OEM: 15A416
  • Service: Not Serviced
  • Description: 4-Way F (BK)

Trailer Connector (V92)

Pin

Wire Color

Circuit No.

Function

1

BK

750

Ground

2

BN

2109

Park Lamp Supply Voltage

3

YE

1618

Left Turn Signal Lamp Supply Voltage

4

D-GN

1619

Right Turn Signal Lamp Supply Voltage

Turn Signal Lamp - LF (Chevrolet)


Object Number: 1413080  Size: CH

Connector Part Information

  • OEM: 7223-1324-40
  • Service: 88988460
  • Description: 2-Way F (GY)

Turn Signal Lamp - LF (Chevrolet)

Pin

Wire Color

Circuit No.

Function

1

L-BU

14

Left Turn Signal Lamp Supply Voltage

2

BK

150

Ground

Turn Signal Lamp - RF (Chevrolet)


Object Number: 1413080  Size: CH

Connector Part Information

  • OEM: 7223-1324-40
  • Service: 88988460
  • Description: 2-Way F (GY)

Turn Signal Lamp - RF (Chevrolet)

Pin

Wire Color

Circuit No.

Function

1

D-BU

15

Right Turn Signal Lamp Supply Voltage

2

BK

150

Ground

Turn Signal Relay


Object Number: 1412991  Size: CH

Connector Part Information

  • OEM: 7125-3152-30
  • Service: 88988408
  • Description: 3-Way F (BK)

Turn Signal Relay

Pin

Wire Color

Circuit No.

Function

A

L-GN

665

Turn Signal Relay Control

B

PU

1697

Turn Signal Relay Signal

C

BK

550

Ground