GM Service Manual Online
For 1990-2009 cars only

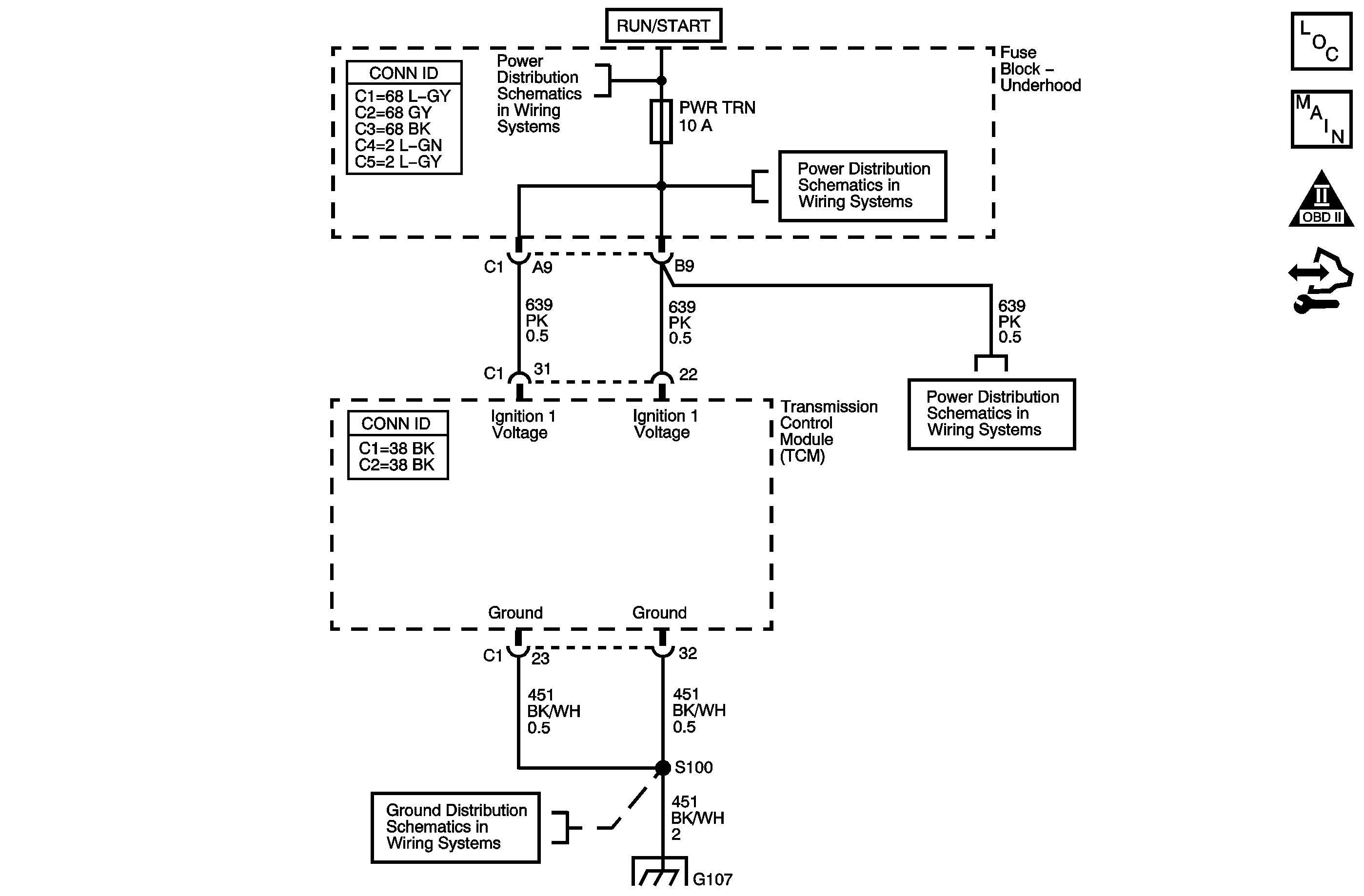
Object Number: 1384966  Size: MF
Master Electrical Component List
Automatic Transmission Controls Schematics
OBD II Symbol Description Notice
Control Module References

Circuit Description

The transmission control module (TCM) continuously monitors the system voltage on the Ignition 1 circuits. Higher than normal voltage may cause the solenoids inside the transmission to operate improperly or damage solid-state components inside the TCM.

When the TCM detects high voltage, DTC P0563 sets. DTC P0563 is a type A DTC.

DTC Descriptor

This diagnostic procedure supports the following DTC:

DTC P0563 System Voltage High

Conditions for Running The DTC

    • No engine speed signal DTC P0727
    • No Communications DTC U2104 or U0100
    • Trans. Protection Mode is OFF.
    • Transmission input shaft speed is greater than 400 RPM.

Conditions for Setting The DTC

The TCM detects system voltage is greater than 18 volts for 20 seconds.

Action Taken When the DTC Sets

    • The TCM requests the powertrain control module (PCM) to illuminate the malfunction indicator lamp (MIL).
    • The TCM turns the Trans. Protection Mode ON.
    • The transmission will operate in 5th gear when the transmission is shifted into D or I range and 2nd gear when shifted into L range.
    • The line pressure is at maximum.
    • The torque converter clutch (TCC) is disabled.
    • The TCM freezes the transmission adaptive functions.
    • The PCM records the operating conditions when the Condition for Setting the DTC are met. The PCM stores this information as Freeze Frame and Failure Records.
    • The TCM records the operating conditions when the Conditions for Setting the DTC are met. The TCM stores this information as Failure Record.
    • The TCM stores DTC P0563 in TCM history.

Conditions for Clearing the MIL/DTC

    • The TCM turns OFF the MIL request during the third consecutive trip in which the diagnostic test runs and passes.
    • A scan tool can clear the MIL/DTC.
    • The TCM clears the DTC from TCM history if the vehicle completes 40 warm-up cycles without an emission-related diagnostic fault occurring.
    • The TCM cancels the DTC default actions when the ignition switch is OFF long enough in order to power down the TCM.

Diagnostic Aids

    • Observe the driver information center (DIC) messaging that would indicate the electrical system requires service.
    • Use the scan tool in order to inspect all other modules for voltage related DTCs.
    • Running the engine with a battery charger attached may cause DTC P0563 to set.
    • Inspect the charging circuit for high resistance.
    • Inspect the vehicle battery for open or sulfated cells.

Test Description

The numbers below refer to the step numbers on the diagnostic table.

  1. This step tests the charging system voltage with a minimal load.

  2. This step obtains the ignition voltage measurement reported by the TCM.

Step

Action

Values

Yes

No

1

Did you perform the Diagnostic System Check - Vehicle?

--

Go to Step 2

Go to Diagnostic System Check - Vehicle

2

  1. Install a scan tool.
  2. Turn ON the ignition, with the engine OFF.
  3. Important: 

       • Before clearing the DTC, use the scan tool in order to record the PCM and the TCM Failure Records. Using the Clear Eng./Trans. DTC Info function erases the Failure Records from the powertrain control module (PCM) and the transmission control module (TCM).
       • Using the Clear Eng./Trans. DTC Info function erases stored DTCs in both the PCM and TCM.

  4. Record the Failure Records.
  5. Clear the DTC.
  6. Start the engine.
  7. Allow the engine to warm up to normal operating temperature.

Is the charge indicator light ON?

--

Go to Diagnostic System Check - Vehicle

Go to Step 3

3

  1. Turn OFF all electrical accessories.
  2. Increase the engine speed to 2,000 RPM.
  3. Using the DMM, measure the voltage between the battery terminals. Record the measurement for reference.

Is the voltage within the specified range?

12.5-14.5 V

Go to Step 4

Go to Charging System Test

4

  1. Leave the engine running.
  2. Observe the Ignition Voltage on the TCM scan tool transmission data list.
  3. Increase the engine speed to 2,000 RPM.

Is the difference between the voltage displayed on the scan tool and the voltage measurement in Step 4 greater than the specified value?

1.0 V

Go to Step 6

Go to Step 5

5

Did P0563 reset?

--

Go to Step 6

Go to Testing for Intermittent Conditions and Poor Connections

6

Replace the TCM. Refer to Control Module References for replacement, setup, and programming.

Is the action complete?

--

Go to Step 7

--

7

Perform the following procedure in order to verify the repair:

  1. Select DTC.
  2. Select Clear Info.
  3. Operate the vehicle under the following conditions:
  4. 3.1. Start the engine.
    3.2. Allow the engine to warm up to normal operating temperature.
    3.3. Observe the Ignition Voltage on the scan tool.
    3.4. TCM voltage must remain below 18 volts for 20 seconds to pass.
  5. Select Specific DTC.
  6. Enter DTC P0563.

Does the DTC reset?

--

Go to Step 2

Go to Step 8

8

With the scan tool, observe the stored information, capture info and DTC info.

Does the scan tool display any DTCs that you have not diagnosed?

--

Go to Diagnostic Trouble Code (DTC) List - Vehicle

System OK