GM Service Manual Online
For 1990-2009 cars only

Object Number: 1714964  Size: SF

Callout

Component Name

Notice: Refer to Fastener Notice in the Preface section.

Fastener Tightening Specifications: Refer to Fastener Tightening Specifications .

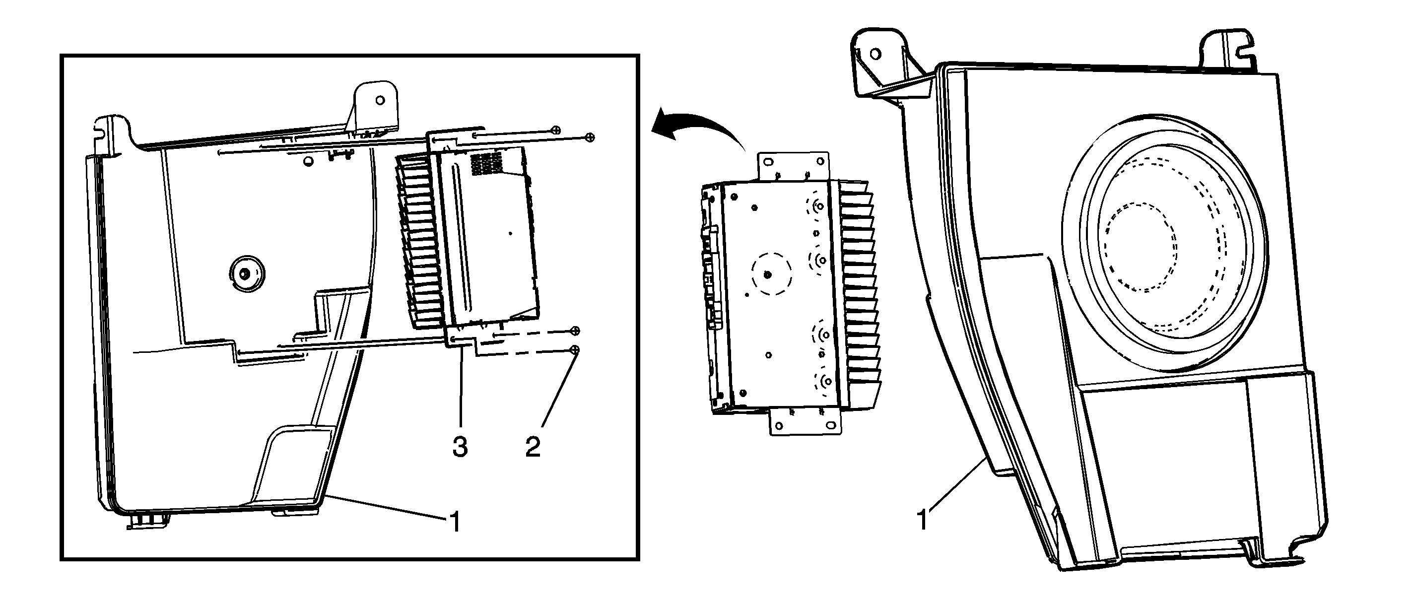
Preliminary Procedures

Remove the right rear quarter lower trim panel. Refer to Quarter Lower Rear Trim Panel Replacement .

1

Radio Rear Compartment Speaker

Refer to Radio Rear Speaker Replacement.

2

Amplifier Screw (Qty: 4)

Tighten
3 N·m (26 lb in)

3

Amplifier Assembly

Tip
Disconnect the electrical connector.