GM Service Manual Online
For 1990-2009 cars only
Connector 1: Driver Information Center (DIC) Switch
Connector 2: Engine Oil Pressure Switch
Connector 3: Fuel Pump and Sender Assembly
Connector 4: Instrument Panel Cluster (IPC)

Driver Information Center (DIC) Switch


Object Number: 1715224  Size: CH

Connector Part Information

  • OEM: HCMPB-A05-K
  • Service: 88988747
  • Description: 5-Way F HCM Unsealed (BK)

Terminal Part Information

  • Terminal/Tray: SHCM-A03T-P025/20
  • Core/Insulation Crimp: J/J
  • Release Tool/Test Probe: 12094429/J-35616-64B (L-BU)

Driver Information Center (DIC) Switch

Pin

Wire Color

Circuit No.

Function

1

D-GN/WH

1358

DIC Switch Signal

2

BN

897

Low Reference

3

PK

893

DIC Select Menu Switch Signal

4

PU/WH

1382

LED Dimming Signal

5

BK

1450

Ground

Engine Oil Pressure Switch


Object Number: 516595  Size: CH

Connector Part Information

  • OEM: 12065299
  • Service: 12085500
  • Description: 1-Way F Metri-Pack 150 Series, Sealed (L-GY)

Terminal Part Information

  • Terminal/Tray: 12048074/2
  • Core/Insulation Crimp: E/1
  • Release Tool/Test Probe: 12094429/J-35616-2A (GY)

Engine Oil Pressure Switch

Pin

Wire Color

Circuit No.

Function

A

TN/BK

231

Oil Pressure Switch Signal

Fuel Pump and Sender Assembly


Object Number: 40442  Size: CH

Connector Part Information

  • OEM: 12162210
  • Service: 12167121
  • Description: 6-Way F Metri-Pack 150.2 Series Sealed (BK)

Terminal Part Information

  • Terminal/Tray: See Terminal Repair Kit
  • Core/Insulation Crimp: See Terminal Repair Kit
  • Release Tool/Test Probe: See Terminal Repair Kit

Fuel Pump and Sender Assembly

Pin

Wire Color

Circuit No.

Function

A

GY

120

Fuel Pump Supply Voltage

B

TN

2759

Low Reference

C

PU

30

Fuel Level Sensor Signal

D

PU

1589

Fuel Level Sensor Signal

E

PU

30

Fuel Level Sensor Signal

F

BK

850

Ground

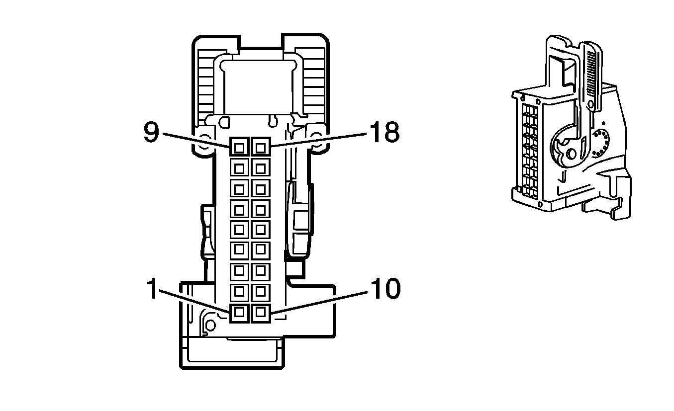
Instrument Panel Cluster (IPC)


Object Number: 1845027  Size: CH

Connector Part Information

  • OEM: 1326133-1
  • Service: 19151504
  • Description: 18-Way F Receptacle 0.64 Unsealed (BK)

Terminal Part Information

  • Pins: 2, 10, 11, 12, 13, 3, 4, 5, 6, 8, 9, 14, 16
  • Terminal/Tray: 638551-1/16
  • Core/Insulation Crimp: Pins 2, 10, 11, 12, 13 - K/K
  • Core/Insulation Crimp: Pins 3, 4, 5, 6, 8, 9, 14, 16 - J/J
  • Release Tool/Test Probe: 15315247/J-35616-64B (L-BU)

Instrument Panel Cluster (IPC)

Pin

Wire Color

Circuit No.

Function

1

--

--

Not Used

2

PK

893

DIC Select Menu Switch Signal

3

PU

5234

Passenger Seat Belt Indicator

4

D-BU

2307

Passenger Air Bag On Indicator Control

5

D-GN

2308

Passenger Air Bag Off Indicator Control

6

BK/WH

1551

Ground

7

--

--

Not Used

8

D-GN

5060

Low Speed GMLAN Serial Data

9

TN/WH

33

Brake Warning Indicator Control

10

BN

897

Low Reference

11

BN/WH

419

MIL Control

12

D-GN/WH

1358

DIC Switch Signal

13

PK

1139

Ignition 1 Voltage

14

RD/WH

1640

Battery Positive Voltage

15

--

--

Not Used

16

YE

749

Security Indicator Control

17-18

--

--

Not Used