GM Service Manual Online
For 1990-2009 cars only
Connector 1: Inflatable Restraint Front End Sensor - Left (-ASF)
Connector 2: Inflatable Restraint Front End Sensor - Right (-ASF)
Connector 3: Inflatable Restraint I/P Module C1
Connector 4: Inflatable Restraint I/P Module C2
Connector 5: Inflatable Restraint Passenger Air Bag ON/OFF Indicator
Connector 6: Inflatable Restraint Passenger Presence (PPS) Module
Connector 7: Inflatable Restraint Roof Rail Module - Left (ASF)
Connector 8: Inflatable Restraint Roof Rail Module - Right (ASF)
Connector 9: Inflatable Restraint Sensing and Diagnostic Module (SDM) (ASF)
Connector 10: Inflatable Restraint Sensing and Diagnostic Module (SDM) (-ASF)
Connector 11: Inflatable Restraint Side Impact Sensor (SIS) - Left (ASF)
Connector 12: Inflatable Restraint Side Impact Sensor (SIS) - Right (ASF)
Connector 13: Inflatable Restraint Steering Wheel Module C1
Connector 14: Inflatable Restraint Steering Wheel Module C2
Connector 15: Rollover Sensor
Connector 16: Seat Belt Pretensioner - Left
Connector 17: Seat Belt Pretensioner - Right

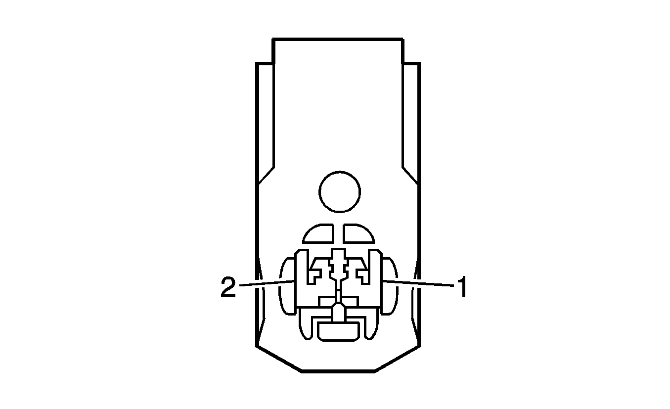
Inflatable Restraint Front End Sensor - Left (-ASF)


Object Number: 744046  Size: CH

Connector Part Information

  • OEM: 15356723
  • Service: 15306439
  • Description: 2-Way F GT 150 Series Sealed 4.0 (YE)

Terminal Part Information

  • Terminal/Tray: 12191819/8
  • Core/Insulation Crimp: E/A
  • Release Tool/Test Probe: 15315247/J-35616-2A (GY)

Inflatable Restraint Front End Sensor - Left (-ASF)

Pin

Wire Color

Circuit No.

Function

A

TN/OG

5045

Low Reference

B

YE

354

Discriminating Sensor - Signal

Inflatable Restraint Front End Sensor - Right (-ASF)


Object Number: 744046  Size: CH

Connector Part Information

  • OEM: 15356723
  • Service: 15306439
  • Description: 2-Way F GT 150 Series Sealed 4.0 (YE)

Terminal Part Information

  • Terminal/Tray: 12191819/8
  • Core/Insulation Crimp: E/A
  • Release Tool/Test Probe: 15315247/J-35616-2A (GY)

Inflatable Restraint Front End Sensor - Right (-ASF)

Pin

Wire Color

Circuit No.

Function

A

GY

5600

Low Reference

B

D-GN

1409

Discriminating Sensor - Signal

Inflatable Restraint I/P Module C1


Object Number: 1508930  Size: CH

Connector Part Information

  • OEM: 252922343
  • Service: Service by Harness - See Part Catalog
  • Description: 2-Way F (YE)

Terminal Part Information

  • Terminal/Tray: See Terminal Repair Kit
  • Core/Insulation Crimp: See Terminal Repair Kit
  • Release Tool/Test Probe: See Terminal Repair Kit

Inflatable Restraint I/P Module C1

Pin

Wire Color

Circuit No.

Function

1

YE

3025

I/P Module - Stage 1 - High Control

2

OG

3024

I/P Module - Stage 1 - Low Control

Inflatable Restraint I/P Module C2


Object Number: 1508930  Size: CH

Connector Part Information

  • OEM: 252922343
  • Service: Service by Harness - See Part Catalog
  • Description: 2-Way F (YE)

Terminal Part Information

  • Terminal/Tray: See Terminal Repair Kit
  • Core/Insulation Crimp: See Terminal Repair Kit
  • Release Tool/Test Probe: See Terminal Repair Kit

Inflatable Restraint I/P Module C2

Pin

Wire Color

Circuit No.

Function

1

GY

3027

I/P Module - Stage 2 - High Control

2

PU

3026

I/P Module - Stage 2 - Low Control

Inflatable Restraint Passenger Air Bag ON/OFF Indicator


Object Number: 1538776  Size: CH

Connector Part Information

  • OEM: 15398877
  • Service: 88953369
  • Description: 5-Way F HCM Series (NA )

Terminal Part Information

  • Terminal/Tray: SHCM-A03T-P025/20
  • Core/Insulation Crimp: J/J
  • Release Tool/Test Probe: 12094429/J-35616-64B (L-BU)

Inflatable Restraint Passenger Air Bag ON/OFF Indicator

Pin

Wire Color

Circuit No.

Function

1

D-BU

2307

Passenger Air Bag On Indicator Control

2

BK

1450

Ground

3

D-GN

2308

Passenger Air Bag Off Indicator Control

4

PK

1139

Ignition 1 Voltage

5

PU

5234

Passenger Seat Belt Indicator

Inflatable Restraint Passenger Presence (PPS) Module


Object Number: 1464340  Size: CH

Connector Part Information

  • OEM: 15332142
  • Service: 89046638
  • Description: 6-Way M GT 150/280 Series Sealed (BK)

Terminal Part Information

  • Terminal/Tray: See Terminal Repair Kit
  • Core/Insulation Crimp: See Terminal Repair Kit
  • Release Tool/Test Probe: See Terminal Repair Kit

Inflatable Restraint Passenger Presence (PPS) Module

Pin

Wire Color

Circuit No.

Function

A

OG

840

Battery Positive Voltage

B

D-GN

5060

Low Speed GMLAN Serial Data

C

D-GN

5060

Low Speed GMLAN Serial Data

D

BK

651

Ground

E-F

--

--

Not Used

Inflatable Restraint Roof Rail Module - Left (ASF)


Object Number: 1861740  Size: CH

Connector Part Information

  • OEM: Not Available
  • Service: Service by Harness - See Part Catalog
  • Description: 2-Way F (YE)

Terminal Part Information

  • Terminal/Tray: See Terminal Repair Kit
  • Core/Insulation Crimp: See Terminal Repair Kit
  • Release Tool/Test Probe: See Terminal Repair Kit

Inflatable Restraint Roof Rail Module - Left (ASF)

Pin

Wire Color

Circuit No.

Function

1

WH

--

Side Impact Module - LF - Low Control

2

D-GN

--

Side Impact Module - LF - High Control

Inflatable Restraint Roof Rail Module - Right (ASF)


Object Number: 1861740  Size: CH

Connector Part Information

  • OEM: Not Available
  • Service: Service by Harness - See Part Catalog
  • Description: 2-Way F (YE)

Terminal Part Information

  • Terminal/Tray: See Terminal Repair Kit
  • Core/Insulation Crimp: See Terminal Repair Kit
  • Release Tool/Test Probe: See Terminal Repair Kit

Inflatable Restraint Roof Rail Module - Right (ASF)

Pin

Wire Color

Circuit No.

Function

1

WH

--

Side Impact Module - RF - Low Control

2

D-GN

--

Side Impact Module - RF - High Control

Inflatable Restraint Sensing and Diagnostic Module (SDM) (ASF)


Object Number: 1468532  Size: CH

Connector Part Information

  • OEM: 2-184464-4
  • Service: 19153158
  • Description: 60-Way F GET Series (BK)

Terminal Part Information

  • Terminal/Tray: Serviced w/Terminated Lead
  • Core/Insulation Crimp: N/A
  • Release Tool/Test Probe: See Terminal Repair Kit

Inflatable Restraint Sensing and Diagnostic Module (SDM) (ASF)

Pin

Wire Color

Circuit No.

Function

1

BK/WH

651

Ground

2

D-GN

5060

Low Speed GMLAN Serial Data

3

D-GN

5060

Low Speed GMLAN Serial Data

4

PK

3022

Steering Wheel Module - Stage 2 - Low Control

5

WH

3023

Steering Wheel Module - Stage 2 - High Control

6

GY

3027

I/P Module - Stage 2 - High Control

7

PU

3026

I/P Module - Stage 2 - Low Control

8

BN

3020

Steering Wheel Module - Stage 1 - Low Control

9

TN

3021

Steering Wheel Module - Stage 1 - High Control

10

YE

3025

I/P Module - Stage 1 - High Control

11

OG

3024

I/P Module - Stage 1 - Low Control

12

YE/BK

2138

Side Impact Module - LF - Low Control

13

BN

2137

Side Impact Module - LF - High Control

14

TN/WH

2135

Side Impact Module - RF - High Control

15

L-GN

2136

Side Impact Module - RF - Low Control

16

OG/BK

2119

Seat Belt Pretensioner - Left - Low Control

17

TN/WH

2118

Seat Belt Pretensioner - Left - High Control

18

L-GN

2116

Seat Belt Pretensioner - Right - High Control

19

OG

2117

Seat Belt Pretensioner - Right - Low Control

20-27

--

--

Not Used

28

PK

5057

Low Reference

29-30

--

--

Not Used

31

RD/WH

1340

Battery Positive Voltage

32

PK

1139

Ignition 1 Voltage

33-35

--

--

Not Used

36

YE

354

Discriminating Sensor - Signal

37

D-GN

1409

Discriminating Sensor - Right - Signal

38

TN/OG

5045

Low Reference

39

GY

5600

Low Reference

40

WH

2132

Side Impact Sensing Module - Left - Signal

41

D-GN

2134

Side Impact Sensing Module - Right - - Signal

42

YE

2131

Side Impact Sensing Module - Left - Voltage

43

TN

2133

Side Impact Sensing Module - Right - Voltage

44-57

--

--

Not Used

58

YE/BK

5229

Roll Over Sensor High Signal

59

D-GN

5016

Seat Belt Switch - Left - Signal

60

OG

1362

Seat Belt Switch - Right - Signal

Inflatable Restraint Sensing and Diagnostic Module (SDM) (-ASF)


Object Number: 1468532  Size: CH

Connector Part Information

  • OEM: 2-184464-5
  • Service: 19167752
  • Description: 60-Way F GET Series (BK)

Terminal Part Information

  • Terminal/Tray: Serviced w/Terminated Lead
  • Core/Insulation Crimp: N/A
  • Release Tool/Test Probe: See Terminal Repair Kit

Inflatable Restraint Sensing and Diagnostic Module (SDM) (-ASF)

Pin

Wire Color

Circuit No.

Function

1

BK/WH

651

Ground

2

D-GN

5060

Low Speed GMLAN Serial Data

3

D-GN

5060

Low Speed GMLAN Serial Data

4

PK

3022

Steering Wheel Module - Stage 2 - Low Control

5

WH

3023

Steering Wheel Module - Stage 2 - High Control

6

GY

3027

I/P Module - Stage 2 - High Control

7

PU

3026

I/P Module - Stage 2 - Low Control

8

BN

3020

Steering Wheel Module - Stage 1 - Low Control

9

TN

3021

Steering Wheel Module - Stage 1 - High Control

10

YE

3025

I/P Module - Stage 1 - High Control

11

OG

3024

I/P Module - Stage 1 - Low Control

16

OG/BK

2119

Seat Belt Pretensioner - Left - Low Control

17

TN/WH

2118

Seat Belt Pretensioner - Left - High Control

18

L-GN

2116

Seat Belt Pretensioner - Right - High Control

19

OG

2117

Seat Belt Pretensioner - Right - Low Control

20-27

--

--

Not Used

28

PK

5057

Low Reference

29-30

--

--

Not Used

31

RD/WH

1340

Battery Positive Voltage

32

PK

1139

Ignition 1 Voltage

33-35

--

--

Not Used

36

YE

354

Discriminating Sensor - Signal

37

D-GN

1409

Discriminating Sensor - Right - Signal

38

TN/OG

5045

Low Reference

39

GY

5600

Low Reference

40-58

--

--

Not Used

59

D-GN

5016

Seat Belt Switch - Left - Signal

60

OG

1362

Seat Belt Switch - Right - Signal

Inflatable Restraint Side Impact Sensor (SIS) - Left (ASF)


Object Number: 744046  Size: CH

Connector Part Information

  • OEM: 15356723
  • Service: 15306439
  • Description: 2-Way F GT 150 Series Sealed 4.0 (YE)

Terminal Part Information

  • Terminal/Tray: 12191819/8
  • Core/Insulation Crimp: E/A
  • Release Tool/Test Probe: 15315247/J-35616-2A (GY)

Inflatable Restraint Side Impact Sensor (SIS) - Left (ASF)

Pin

Wire Color

Circuit No.

Function

A

WH

2132

Side Impact Sensing Module - Left - Signal

B

YE

2131

Side Impact Sensing Module - Left - Voltage

Inflatable Restraint Side Impact Sensor (SIS) - Right (ASF)


Object Number: 744046  Size: CH

Connector Part Information

  • OEM: 15356723
  • Service: 15306439
  • Description: 2-Way F GT 150 Series Sealed 4.0 (YE)

Terminal Part Information

  • Terminal/Tray: 12191819/8
  • Core/Insulation Crimp: E/A
  • Release Tool/Test Probe: 15315247/J-35616-2A (GY)

Inflatable Restraint Side Impact Sensor (SIS) - Right (ASF)

Pin

Wire Color

Circuit No.

Function

A

D-GN

2134

Side Impact Sensing Module - Right - Signal

B

TN

2133

Side Impact Sensing Module - Right - Voltage

Inflatable Restraint Steering Wheel Module C1


Object Number: 1841819  Size: CH

Connector Part Information

  • OEM: 54560220
  • Service: Service by Harness - See Part Catalog
  • Description: 2-Way F Type B (WH)

Terminal Part Information

  • Terminal/Tray: See Terminal Repair Kit
  • Core/Insulation Crimp: See Terminal Repair Kit
  • Release Tool/Test Probe: See Terminal Repair Kit

Inflatable Restraint Steering Wheel Module C1

Pin

Wire Color

Circuit No.

Function

1

TN

3021

Steering Wheel Module - Stage 1 - High Control

2

BN

3020

Steering Wheel Module - Stage 1 - Low Control

Inflatable Restraint Steering Wheel Module C2


Object Number: 1841821  Size: CH

Connector Part Information

  • OEM: 54560222
  • Service: Service by Harness - See Part Catalog
  • Description: 2-Way F Type G (PK)

Terminal Part Information

  • Terminal/Tray: See Terminal Repair Kit
  • Core/Insulation Crimp: See Terminal Repair Kit
  • Release Tool/Test Probe: See Terminal Repair Kit

Inflatable Restraint Steering Wheel Module C2

Pin

Wire Color

Circuit No.

Function

1

WH

3023

Steering Wheel Module - Stage 2 - High Control

2

PK

3022

Steering Wheel Module - Stage 2 - Low Control

Rollover Sensor


Object Number: 1845399  Size: CH

Connector Part Information

  • OEM: 6189-7001
  • Service: 19153160
  • Description: 6-Way F 0.64 Series Sealed (YE)

Terminal Part Information

  • Pins: 1, 6
  • Terminal/Tray: 8100-3427/22
  • Core/Insulation Crimp: K/K
  • Release Tool/Test Probe: 15315247/J-35616-64B (L-BU)
  • Pins: 3, 4, 4, 5
  • Terminal/Tray: 8100-3426/22
  • Core/Insulation Crimp: J/J
  • Release Tool/Test Probe: 15315247/J-35616-64B (L-BU)

Rollover Sensor

Pin

Wire Color

Circuit No.

Function

1

RD/WH

1340

Battery Positive Voltage

2

--

--

Not Used

3

D-GN

5060

Low Speed GMLAN Serial Data

4

D-GN

5060

Low Speed GMLAN Serial Data

5

YE/BK

5229

Roll Over Sensor High Signal

6

BK/WH

651

Ground

Seat Belt Pretensioner - Left


Object Number: 1845394  Size: CH

Connector Part Information

  • OEM: 252922346
  • Service: 88988428
  • Description: 2-Way F (PU)

Terminal Part Information

  • Terminal/Tray: See Terminal Repair Kit
  • Core/Insulation Crimp: See Terminal Repair Kit
  • Release Tool/Test Probe: See Terminal Repair Kit

Seat Belt Pretensioner - Left

Pin

Wire Color

Circuit No.

Function

1

TN/WH

2118

Seat Belt Pretensioner - Left - High Control

2

OG/BK

2119

Seat Belt Pretensioner - Left - Low Control

Seat Belt Pretensioner - Right


Object Number: 1845394  Size: CH

Connector Part Information

  • OEM: 252922347
  • Service: 88988719
  • Description: 2-Way F (PU)

Terminal Part Information

  • Terminal/Tray: See Terminal Repair Kit
  • Core/Insulation Crimp: See Terminal Repair Kit
  • Release Tool/Test Probe: See Terminal Repair Kit

Seat Belt Pretensioner - Right

Pin

Wire Color

Circuit No.

Function

1

L-GN

2116

Seat Belt Pretensioner - Right - High Control

2

OG

2117

Seat Belt Pretensioner - Right - Low Control