GM Service Manual Online
For 1990-2009 cars only
Connector 1: C101 Body Harness to the Forward Lamp Harness
Connector 2: C102 Body Harness to the Battery Cable Harness
Connector 3: C103 Left Front Wheel Speed Sensor Harness to the Body Harness
Connector 4: C104 Right Front Wheel Speed Sensor Harness to the Body Harness
Connector 5: C105 Engine Harness to the Fuel Injector Harness
Connector 6: C106 Body Harness to the Engine Harness
Connector 7: C204 I/P Harness to the Body Harness
Connector 8: C206 I/P Harness to the Body Harness
Connector 9: C207 Console Harness to the I/P Harness (UUC w/o C69)
Connector 10: C210 I/P Harness to the Body Harness
Connector 11: C214 Passenger Airbag Jumper Harness to the I/P Harness
Connector 12: C216 I/P Harness to the HVAC Harness
Connector 13: C218 I/P Harness to the Body Harness
Connector 14: C219 Body Harness to the I/P Harness
Connector 15: C226 I/P Harness to the Shifter Jumper Harness
Connector 16: C275 I/P Harness to the Steering Wheel Module Coil Harness
Connector 17: C276 I/P Harness to the Steering Wheel Module Coil Harness
Connector 18: C277 Steering Wheel Controls Harness to the Steering Wheel Module Coil Harness
Connector 19: C305 Console Harness to the Body Harness
Connector 20: C308 Body Harness to the Power Seat Harness (AG1 w/o KA1)
Connector 21: C308 Body Harness to the Driver Seat Harness (KA1)
Connector 22: C309 Body Harness to the Passenger Seat Harness (w/o KA1)
Connector 23: C309 Body Harness to the Passenger Seat Harness (KA1)
Connector 24: C311 Headliner Harness to the Sunshade Harness (UUC)
Connector 25: C312 Driver Seat Harness to the Power Seat Harness (AG1 w/KA1)
Connector 26: C314 Headliner Harness to the Sunroof Harness (CF5)
Connector 27: C400 Body Harness to the Chassis Harness
Connector 28: C401 Liftgate Jumper to the Body Harness
Connector 29: C403 Body Harness to the Left Tail Lamp Harness
Connector 30: C404 Body Harness to the Right Tail Lamp Harness
Connector 31: C405 Liftgate Jumper to the Body Harness
Connector 32: C406 Body Harness to the Fuel Sender Harness
Connector 33: C409 Body Harness to the Trailer Jumper Harness (V92)
Connector 34: C410 Trailer Harness to the Trailer Jumper Harness (V92)
Connector 35: C412 Headliner to the I/P Harness (UUC)
Connector 36: C414 Body to the CHMSL Jumper Harness
Connector 37: C415 Headliner Harness to the Body Harness
Connector 38: C417 Headliner Harness to the Body Harness (U3U)
Connector 39: C420 Body Harness to the Left Inflatable Restraint Roof Rail Module Harness (ASF)
Connector 40: C421 Body Harness to the Right Inflatable Restraint Roof Rail Module Harness (ASF)
Connector 41: C422 Headliner Harness to the Body Harness (UE1)
Connector 42: C500 Body Harness to the Left Front Door Harness
Connector 43: C600 Body Harness to the Right Front Door Harness
Connector 44: C700 Body Harness to the Left Rear Door Harness
Connector 45: C800 Body Harness to the Right Rear Door Harness
Connector 46: C902 Liftgate Jumper to Liftgate Harness
Connector 47: C906 Liftgate Jumper to Liftgate Harness
Connector 48: C907 License Lamp Harness to the Liftgate Harness
Connector 49: C908 License Lamp Harness to the Liftgate Harness
Connector 50: C911 CHMSL Jumper Harness to the CHMSL Harness

C101 Body Harness to the Forward Lamp Harness


Object Number: 1420541  Size: CH

Object Number: 1420650  Size: CH

Connector Part Information

  • OEM: 7283-5684-10
  • Service: See Catalog
  • Description: 8-Way F Receptacle 1.5 Sealed (D-GY)

Connector Part Information

  • OEM: 7282-5684-10
  • Service: See Catalog
  • Description: 8-Way M 1.5 Sealed (D-GY)

Terminal Part Information

  • Pins: 1, 2, 3, 4, 7, 8
  • Terminal/Tray: 7116-4102-08/9
  • Core/Insulation Crimp: E/1
  • Release Tool/Test Probe: 12094430/J-35616-2A (GY)
  • Pins: 6
  • Terminal/Tray: 7116-4103-08/9
  • Core/Insulation Crimp: E/1
  • Release Tool/Test Probe: 12094430/J-35616-2A (GY)

Terminal Part Information

  • Pins: 1, 2, 3, 4, 7, 8
  • Terminal/Tray: 7114-4102-08/9
  • Core/Insulation Crimp: E/1
  • Release Tool/Test Probe: 12094430/J-35616-3 (GY)
  • Pins: 6
  • Terminal/Tray: 7114-4103-08/9
  • Core/Insulation Crimp: E/1
  • Release Tool/Test Probe: 12094430/J-35616-3 (GY)

C101 Body Harness to the Forward Lamp Harness

Pin

Wire Color

Circuit No.

Function

Pin

Wire Color

Circuit No.

Function

1

L-GN/BK

735

Ambient Air Temperature Sensor Signal (UH9)

1

L-GN/BK

735

Ambient Air Temperature Sensor Signal (UH9)

2

YE

61

Low Reference (UH9)

2

YE

61

Low Reference (UH9)

3

TN/OG

5045

Low Reference

3

TN/OG

5045

Low Reference

4

YE

354

Discriminating Sensor - Left - Signal

4

YE

354

Discriminating Sensor - Left - Signal

5

--

--

Not Used

5

--

--

Not Used

6

BK

1250

Ground

6

BK

1250

Ground

7

GY

5600

Low Reference

7

GY

5600

Low Reference

8

D-GN

1409

Discriminating Sensor - Right - Signal

8

D-GN

1409

Discriminating Sensor - Right - Signal

C102 Body Harness to the Battery Cable Harness


Object Number: 888601  Size: CH

Object Number: 897985  Size: CH

Connector Part Information

  • OEM: 7283-5548-30
  • Service: 88953306
  • Description: 2-Way F YESC Series Weather Pack (BK)

Connector Part Information

  • OEM: 7282-5548-30
  • Service: 88953303
  • Description: 2-Way M YESC Series Weather Pack (BK)

Terminal Part Information

  • Terminal/Tray: 7116-4102-08/9
  • Core/Insulation Crimp: E/1
  • Release Tool/Test Probe: 12094430/J-35616-2A (GY)

Terminal Part Information

  • Terminal/Tray: 7114-4103-08/9
  • Core/Insulation Crimp: E/1
  • Release Tool/Test Probe: 12094430/J-35616-3 (GY)

C102 Body Harness to the Battery Cable Harness

Pin

Wire Color

Circuit No.

Function

Pin

Wire Color

Circuit No.

Function

1

BK

50

Ground

1

BK

50

Ground

2

--

--

Not Used

2

--

--

Not Used

C103 Left Front Wheel Speed Sensor Harness to the Body Harness


Object Number: 635009  Size: CH

Object Number: 333041  Size: CH

Connector Part Information

  • OEM: 12052641
  • Service: 12102747
  • Description: 2-Way F Metri-Pack 150 Series (BK)

Connector Part Information

  • OEM: 12162000
  • Service: 12167120
  • Description: 2-Way M Metri-Pack 150 Series (BK)

Terminal Part Information

  • Terminal/Tray: 12048074/2
  • Core/Insulation Crimp: E/1
  • Release Tool/Test Probe: 12094429/J-35616-2A (GY)

Terminal Part Information

  • Terminal/Tray: 12045773/2
  • Core/Insulation Crimp: E/1
  • Release Tool/Test Probe: 12094429/J-35616-3 (GY)

C103 Left Front Wheel Speed Sensor Harness to the Body Harness

Pin

Wire Color

Circuit No.

Function

Pin

Wire Color

Circuit No.

Function

A

YE

873

Left Front Wheel Speed Sensor Low Reference

A

YE

873

Left Front Wheel Speed Sensor Low Reference

B

L-BU

830

Left Front Wheel Speed Sensor Signal

B

L-BU

830

Left Front Wheel Speed Sensor Signal

C104 Right Front Wheel Speed Sensor Harness to the Body Harness


Object Number: 635009  Size: CH

Object Number: 333041  Size: CH

Connector Part Information

  • OEM: 12052641
  • Service: 12102747
  • Description: 2-Way F Metri-Pack 150 Series (BK)

Connector Part Information

  • OEM: 12162000
  • Service: 12167120
  • Description: 2-Way M Metri-Pack 150 Series (BK)

Terminal Part Information

  • Terminal/Tray: 12048074/2
  • Core/Insulation Crimp: E/1
  • Release Tool/Test Probe: 12094429/J-35616-2A (GY)

Terminal Part Information

  • Terminal/Tray: 12045773/2
  • Core/Insulation Crimp: E/1
  • Release Tool/Test Probe: 12094429/J-35616-3 (GY)

C104 Right Front Wheel Speed Sensor Harness to the Body Harness

Pin

Wire Color

Circuit No.

Function

Pin

Wire Color

Circuit No.

Function

A

TN

833

Right Front Wheel Speed Sensor Low Reference

A

TN

833

Right Front Wheel Speed Sensor Low Reference

B

D-GN

872

Right Front Wheel Speed Sensor Signal

B

D-GN

872

Right Front Wheel Speed Sensor Signal

C105 Engine Harness to the Fuel Injector Harness


Object Number: 655811  Size: CH

Object Number: 655813  Size: CH

Connector Part Information

  • OEM: 1532-6084
  • Service: See Catalog
  • Description: 16-Way F GT 150 280 Series Sealed 4.0 5.8 (BK)

Connector Part Information

  • OEM: 1532-6085
  • Service: See Catalog
  • Description: 16-Way M GT 150 280 Series Sealed 4.0 5.8 (BK)

Terminal Part Information

  • Terminal/Tray: 4-964286-1/16
  • Core/Insulation Crimp: E/1
  • Release Tool/Test Probe: 12093647/J-35616-4A (PU)

Terminal Part Information

  • Terminal/Tray: See Terminal Repair Kit
  • Core/Insulation Crimp: See Terminal Repair Kit
  • Release Tool/Test Probe: See Terminal Repair Kit

C105 Engine Harness to the Fuel Injector Harness

Pin

Wire Color

Circuit No.

Function

Pin

Wire Color

Circuit No.

Function

A

PK/BK

5291

Ignition 1 Voltage

A

PK

5291

Ignition 1 Voltage

B

YE

410

ECT Sensor Signal

B

YE

410

ECT Sensor Signal

C

TN

1744

Fuel Injector 1 Control

C

BK

1744

Fuel Injector 1 Control

D

L-GN/BK

1745

Fuel Injector 2 Control

D

L-GN/BK

1745

Fuel Injector 2 Control

E

PK/BK

1746

Fuel Injector 3 Control

E

PK/BK

1746

Fuel Injector 3 Control

F

L-BU/BK

844

Fuel Injector 4 Control

F

L-BU/BK

844

Fuel Injector 4 Control

G

TN/WH

845

Fuel Injector 5 Control

G

BK/WH

845

Fuel Injector 5 Control

H

YE/BK

846

Fuel Injector 6 Control

H

YE/BK

846

Fuel Injector 6 Control

J

--

--

Not Used

J

--

--

Not Used

K

GY

2704

5-Volt Reference

K

GY

2704

5-Volt Reference

L

OG/BK

469

Low Reference

L

OG/BK

469

Low Reference

M

L-GN

432

MAP Sensor Signal

M

L-GN

432

MAP Sensor Signal

N

D-BU

6259

5-Volt Reference 1

N

RD/WH

6259

5-Volt Reference 1

P

TN

407

Low Reference

P

BK

407

Low Reference

R

BN/WH

633

Camshaft Position Sensor Signal

R

BN/WH

633

Camshaft Position Sensor Signal

S

--

--

Not Used

S

--

--

Not Used

C106 Body Harness to the Engine Harness


Object Number: 888600  Size: CH

Object Number: 823284  Size: CH

Connector Part Information

  • OEM: 7283-5546-30
  • Service: See Catalog
  • Description: 12-Way F 1.5 Series Sealed (BK)

Connector Part Information

  • OEM: 7282-5545-30
  • Service: See Catalog
  • Description: 12-Way M 1.5 Series Sealed (BK)

Terminal Part Information

  • Terminal/Tray: 7116-4102-08/9
  • Core/Insulation Crimp: E/1
  • Release Tool/Test Probe: 12094430/J-35616-2A (GY)

Terminal Part Information

  • Terminal/Tray: 7114-4102-08/9
  • Core/Insulation Crimp: E/1
  • Release Tool/Test Probe: 12094430/J-35616-3 (GY)

C106 Body Harness to the Engine Harness

Pin

Wire Color

Circuit No.

Function

Pin

Wire Color

Circuit No.

Function

1

PU

1589

Fuel Level Sensor Signal

1

PU

1589

Fuel Level Sensor Signal

2

PU

1272

Low Reference 2

2

PU

1272

Low Reference 2

3

L-BU

1162

APP Sensor 2 Signal

3

L-BU

1162

APP Sensor 2 Signal

4

WH/BK

1164

5-Volt Reference 2

4

WH/BK

1164

5-Volt Reference 2

5

BN

1271

Low Reference 1

5

BN

1271

Low Reference 1

6

D-GN

890

Fuel Tank Pressure Sensor Signal

6

D-GN

890

Fuel Tank Pressure Sensor Signal

7

GY

2709

5-Volt Reference

7

GY

2709

5-Volt Reference

8

D-BU

1161

Pedal Position Signal 1

8

D-BU

1161

Pedal Position Signal 1

9

TN

1274

5-Volt Reference 1

9

TN

1274

5-Volt Reference 1

10

--

--

Not Used

10

--

--

Not Used

11

TN/BK

2500

High Speed GMLAN Serial Data Bus+

11

TN/BK

2500

High Speed GMLAN Serial Data Bus+

12

TN

2501

High Speed GMLAN Serial Data Bus-

12

TN

2501

High Speed GMLAN Serial Data Bus-

C204 I/P Harness to the Body Harness


Object Number: 594473  Size: CH

Object Number: 684931  Size: CH

Connector Part Information

  • OEM: 15336479
  • Service: 15306186
  • Description: 4-Way F Metri-Pack 280 Series (YE)

Connector Part Information

  • OEM: 15336476
  • Service: 88987998
  • Description: 4-Way M Metri-Pack 280 Series (YE)

Terminal Part Information

  • Terminal/Tray: 12034046/2
  • Core/Insulation Crimp: E/A
  • Release Tool/Test Probe: 12094430/J-35616-4A (PU)

Terminal Part Information

  • Terminal/Tray: 12034047/2
  • Core/Insulation Crimp: E/A
  • Release Tool/Test Probe: 12094430/J-35616-5 (PU)

C204 I/P Harness to the Body Harness

Pin

Wire Color

Circuit No.

Function

Pin

Wire Color

Circuit No.

Function

A1

TN

3021

Steering Wheel Module - Stage 1 - High Control

A1

TN

3021

Steering Wheel Module - Stage 1 - High Control

A2

BN

3020

Steering Wheel Module - Stage 1 - Low Control

A2

BN

3020

Steering Wheel Module - Stage 1 - Low Control

B1

WH

3023

Steering Wheel Module - Stage 2 - High Control

B1

WH

3023

Steering Wheel Module - Stage 2 - High Control

B2

PK

3022

Steering Wheel Module - Stage 2 - Low Control

B2

PK

3022

Steering Wheel Module - Stage 2 - Low Control

C206 I/P Harness to the Body Harness


Object Number: 1849800  Size: CH

Object Number: 1849795  Size: CH

Connector Part Information

  • OEM: 7283-8391-40
  • Service: See Catalog
  • Description: 26-Way F Receptacle 1.5 2.8 6.3 Unsealed (L-GY)

Connector Part Information

  • OEM: 7282-8391-40
  • Service: See Catalog
  • Description: 26-Way M 6.3 Unsealed (L-GY)

Terminal Part Information

  • Pins: 26
  • Terminal/Tray: 7116-4110-02/9
  • Core/Insulation Crimp: E/C
  • Release Tool/Test Probe: 12094430/J-35616-4A (PU)
  • Pins: 3, 4, 6, 13, 14, 15, 16, 18, 19, 21, 22, 23, 24, 25
  • Terminal/Tray: 7116-4100-08/9
  • Core/Insulation Crimp: E/C
  • Release Tool/Test Probe: 12094430/J-35616-2A (GY)
  • Pins: 9, 11, 12, 10, 13, 14, 15, 16
  • Terminal/Tray: 7116-4101-08/9
  • Core/Insulation Crimp: E/A
  • Release Tool/Test Probe: 12094430/J-35616-2A (GY)

Terminal Part Information

  • Pins: 26
  • Terminal/Tray: 7114-4110-02/9
  • Core/Insulation Crimp: E/C
  • Release Tool/Test Probe: 12094430/J-35616-5 (PU)
  • Pins: 11, 12, 13, 14, 15, 16
  • Terminal/Tray: 7114-4101-08/9
  • Core/Insulation Crimp: E/A
  • Release Tool/Test Probe: 15315247/J-35616-3 (GY)
  • Pins: 3, 4, 6, 13, 14, 15, 16, 18, 19, 21, 22, 23, 24, 25
  • Terminal/Tray: 7114-4100-08/9
  • Core/Insulation Crimp: E/C
  • Release Tool/Test Probe: 15315247/J-35616-3 (GY)

C206 I/P Harness to the Body Harness

Pin

Wire Color

Circuit No.

Function

Pin

Wire Color

Circuit No.

Function

1

RD/WH

5235

Battery Backup Supply Voltage (UE1)

1

RD/WH

5235

Battery Backup Supply Voltage (UE1)

2

YE/BK

2516

Keypad Green LED (UE1)

2

YE/BK

2516

Keypad Green LED (UE1)

3

TN/BK

2500

High Speed GMLAN Serial Data Bus+

3

TN/BK

2500

High Speed GMLAN Serial Data Bus+

4

TN

2501

High Speed GMLAN Serial Data Bus-

4

TN

2501

High Speed GMLAN Serial Data Bus-

5

D-GN/WH

2514

Keypad Signal (UE1)

5

D-GN/WH

2514

Keypad Signal (UE1)

6

OG

5748

Radio Audio Mute Signal (U65)

6

OG

5748

Radio Audio Mute Signal (U65)

7

L-GN/BK

2515

Keypad Supply Voltage (UE1)

7

L-GN/BK

2515

Keypad Supply Voltage (UE1)

8

GY/BK

5167

Battery Backup Low Reference (UE1)

8

GY/BK

5167

Battery Backup Low Reference (UE1)

9

TN

1875

Right Front Speaker Output (+)

9

L-GN/WH

512

Right Front Low Level Audio Signal (+) (U65)

L-GN

200

Right Front Speaker Output (+) (Except U65)

10

TN/WH

1985

Right Front Speaker Output (-)

10

L-GN

1948

Right Front Low Level Audio Signal (-) (U65)

D-GN

117

Right Front Speaker Output (-) (Except U65)

11

GY

118

Left Front Speaker Output (-)

11

D-GN

1947

Left Front Low Level Audio Signal (-) (U65)

GY

118

Left Front Speaker Output (-) (Except U65)

12

TN

201

Left Front Speaker Output (+)

12

TN

511

Left Front Low Level Audio Signal (+) (U65)

201

Left Front Speaker Output (+) (Except U65)

13

BN

199

Left Rear Speaker Output (+)

13

BN/WH

599

Left Rear Low Level Audio Signal (+) (U65)

BN

199

Left Rear Speaker Output (+) (Except U65)

14

YE

116

Left Rear Low Level Audio Signal (-)

14

YE

116

Left Rear Speaker Output (-) (Except U65)

BN

1999

Left Rear Low Level Audio Signal (-) (U65)

15

L-BU

115

Right Rear Speaker Output (-)

15

L-BU

115

Right Rear Speaker Output (-) (Except U65)

TN

1946

Right Rear Low Level Audio Signal (-) (U65)

16

D-BU

46

Right Rear Speaker Output (+) (Except UK6)

16

D-BU

546

Right Rear Low Level Audio Signal (+) (U65)

D-BU

46

Right Rear Speaker Output (+) (Except U65)

17

--

--

Not Used

17

--

--

Not Used

18

BARE

1489

Drain Wire (UE1)

18

BARE

1489

Drain Wire (UE1)

19

GY

655

Cellular Microphone Signal (UE1)

19

GY

655

Cellular Microphone Signal (UE1)

20

BN/WH

2517

Keypad Red LED (UE1)

20

BN/WH

2517

Keypad Red LED (UE1)

21

TN

372

Remote Radio Left Audio Signal (-) (U2K)

21

TN

372

Remote Radio Left Audio Signal (-) (U2K)

22

BN

367

Remote Radio Left Audio Signal (+) (U2K)

22

BN

367

Remote Radio Left Audio Signal (+) (U2K)

23

GY

388

Remote Radio Right Audio Signal (-) (U2K)

23

GY

388

Remote Radio Right Audio Signal (-) (U2K)

24

D-GN

368

Remote Radio Right Audio Signal (+) (U2K)

24

D-GN

368

Remote Radio Right Audio Signal (+) (U2K)

25

GY

6759

Discrete Audio Drain Wire (U2K)

25

GY

6759

Discrete Audio Drain Wire (U2K)

26

D-GN

5060

Low Speed GMLAN Serial Data

26

D-GN

5060

Low Speed GMLAN Serial Data

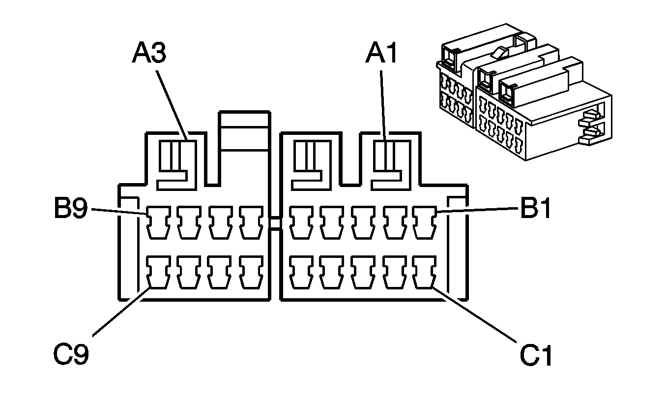
C207 Console Harness to the I/P Harness (UUC w/o C69)


Object Number: 1849813  Size: CH

Object Number: 1849811  Size: CH

Connector Part Information

  • OEM: 7283-6387-40
  • Service: See Catalog
  • Description: 6-Way F (L-GY)

Connector Part Information

  • OEM: 7282-6561-40
  • Service: See Catalog
  • Description: 6-Way M Unsealed (L-GY)

Terminal Part Information

  • Pins: 6, 1, 2, 3, 4, 5
  • Terminal/Tray: 7116-4720-02/14
  • Core/Insulation Crimp: Pins: 6 : H/H
  • Core/Insulation Crimp: Pins: 1, 2, 3, 4, 5 : J/J
  • Release Tool/Test Probe: 15315247/J-35616-64B (L-BU)

Terminal Part Information

  • Pins: 1, 2, 3, 4, 5
  • Terminal/Tray: 7114-4721-02/14
  • Core/Insulation Crimp: See Terminal Repair Kit
  • Release Tool/Test Probe: 15315247/J-35616-65B (L-BU)
  • Pins: 6
  • Terminal/Tray: 7114-4720-02/14
  • Core/Insulation Crimp: J/J
  • Release Tool/Test Probe: 15315247/J-35616-65B (L-BU)

C207 Console Harness to the I/P Harness (UUC w/o C69)

Pin

Wire Color

Circuit No.

Function

Pin

Wire Color

Circuit No.

Function

1

BARE

5346

Video Drain Wire

1

BARE

5346

Video Drain Wire

2

PU

2056

Auxiliary Video High Signal

2

PU

2056

Auxiliary Video High Signal

3

WH

2058

Right Auxiliary Audio Signal

3

WH

2058

Right Auxiliary Audio Signal

4

YE

2059

Left Auxiliary Audio Signal

4

YE

2059

Left Auxiliary Audio Signal

5

BARE

5345

Drain Wire

5

BARE

5345

Drain Wire

6

--

--

Not Used

6

--

--

Not Used

C210 I/P Harness to the Body Harness


Object Number: 1849800  Size: CH

Object Number: 1849795  Size: CH

Connector Part Information

  • OEM: 7283-8391-40
  • Service: See Catalog
  • Description: 26-Way F Receptacle 1.5 2.8 6.3 Unsealed (L-GY)

Connector Part Information

  • OEM: 7282-8391-40
  • Service: See Catalog
  • Description: 26-Way M 6.3 Unsealed (L-GY)

Terminal Part Information

  • Pins: 26, 17
  • Terminal/Tray: 7116-4110-02/9
  • Core/Insulation Crimp: E/C
  • Release Tool/Test Probe: 12094430/J-35616-4A (PU)
  • Pins: 8
  • Terminal/Tray: 7116-4120-02/9
  • Core/Insulation Crimp: E/B
  • Release Tool/Test Probe: 12094430/J-35616-42 (RD)
  • Pins: 2, 3, 4, 6, 7, 5, 9, 11, 12, 10, 13, 14, 15, 16, 18, 19, 20, 21, 22, 23, 24, 25
  • Terminal/Tray: 7116-4100-08/9
  • Core/Insulation Crimp: E/C
  • Release Tool/Test Probe: 12094430/J-35616-2A (GY)
  • Pins: 1
  • Terminal/Tray: 7116-4121-02/10
  • Core/Insulation Crimp: C/B
  • Release Tool/Test Probe: 12094430/J-35616-42 (RD)

Terminal Part Information

  • Pins: 8
  • Terminal/Tray: 7114-4120-02/9
  • Core/Insulation Crimp: E/B
  • Release Tool/Test Probe: 12094430/J-35616-43 (RD)
  • Pins: 26, 17
  • Terminal/Tray: 7114-4110-02/9
  • Core/Insulation Crimp: E/C
  • Release Tool/Test Probe: 12094430/J-35616-5 (PU)
  • Pins: 2, 3, 4, 6, 7, 5, 9, 11, 12, 10, 13, 14, 15, 16, 18, 19, 20, 21, 22, 23, 24, 25
  • Terminal/Tray: 7114-4100-08/9
  • Core/Insulation Crimp: E/C
  • Release Tool/Test Probe: 15315247/J-35616-3 (GY)
  • Pins: 1
  • Terminal/Tray: 7114-4121-02/9
  • Core/Insulation Crimp: C/B
  • Release Tool/Test Probe: 12094430/J-35616-43 (RD)

C210 I/P Harness to the Body Harness

Pin

Wire Color

Circuit No.

Function

Pin

Wire Color

Circuit No.

Function

1

--

--

Not Used

1

--

--

Not Used

2

L-GN/BK

6432

CAN Bus Low Serial Data

2

WH/BK

6432

CAN Bus Low Serial Data

3

TN/WH

6433

CAN Bus High Serial Data

3

BN/WH

6433

CAN Bus High Serial Data

4

--

--

Not Used

4

OG/BK

6045

Steering Angle Sensor Low Reference

5

--

--

Not Used

5

GY

6044

Steering Angle Sensor 5-Volt Reference

6

TN/WH

6433

CAN Bus High Serial Data

6

TN/WH

6433

CAN Bus High Serial Data

7

L-GN/BK

6432

CAN Bus Low Serial Data

7

L-GN/BK

6432

CAN Bus Low Serial Data

8

--

--

Not Used

8

--

--

Not Used

9

L-GN/BK

735

Ambient Air Temperature Sensor Signal

9

L-GN/BK

735

Ambient Air Temperature Sensor Signal

10

YE

61

Low Reference

10

YE

61

Low Reference

11

TN/BK

2500

High Speed GMLAN Serial Data Bus+

11

TN/BK

2500

High Speed GMLAN Serial Data Bus+

TN/BK

2500

High Speed GMLAN Serial Data Bus+

12

TN

2501

High Speed GMLAN Serial Data Bus-

12

TN

2501

High Speed GMLAN Serial Data Bus-

TN

2501

High Speed GMLAN Serial Data Bus-

13

BN/WH

419

MIL Control

13

BN/WH

419

MIL Control

14

L-GN

1499

Driver Mirror Motor Left/Down Control

14

L-GN

1499

Driver Mirror Motor Left/Down Control

15

PU/WH

889

Passenger Mirror Motor Down Control

15

PU/WH

889

Passenger Mirror Motor Down Control

16

OG/WH

881

Passenger Mirror Motor Right Control

16

OG/WH

881

Passenger Mirror Motor Right Control

17

D-GN/WH

817

Vehicle Speed Signal (U3U)

17

D-GN/WH

817

Vehicle Speed Signal (U3U)

18

BN

1271

Low Reference 1

18

BN

1271

Low Reference 1

19

D-BU

1161

APP Sensor 1 Signal

19

D-BU

1161

APP Sensor 1 Signal

20

WH/BK

1164

5-Volt Reference

20

WH/BK

1164

5-Volt Reference

21

TN

1274

5-Volt Reference 1

21

TN

1274

5-Volt Reference 1

22

L-BU

1162

Pedal Position Signal 2

22

L-BU

1162

Pedal Position Signal 2

23

PU

1272

Low Reference

23

PU

1272

Low Reference

24

TN/WH

33

Brake Warning Indicator Control

24

TN/WH

33

Brake Warning Indicator Control

25

YE

88

Driver Mirror Motor Up Control

25

YE

88

Driver Mirror Motor Up Control

26

WH

81

Driver Mirror Motor Right Control

26

WH

81

Driver Mirror Motor Right Control

C214 Passenger Airbag Jumper Harness to the I/P Harness


Object Number: 594473  Size: CH

Object Number: 684931  Size: CH

Connector Part Information

  • OEM: 15336479
  • Service: 15306186
  • Description: 4-Way F Metri-Pack 280 Series (YE)

Connector Part Information

  • OEM: 15336476
  • Service: 88987998
  • Description: 4-Way M Metri-Pack 280 Series (YE)

Terminal Part Information

  • Terminal/Tray: See Terminal Repair Kit
  • Core/Insulation Crimp: See Terminal Repair Kit
  • Release Tool/Test Probe: See Terminal Repair Kit

Terminal Part Information

  • Terminal/Tray: 12034047/2
  • Core/Insulation Crimp: E/A
  • Release Tool/Test Probe: 12094430/J-35616-5 (PU)

C214 Passenger Airbag Jumper Harness to the I/P Harness

Pin

Wire Color

Circuit No.

Function

Pin

Wire Color

Circuit No.

Function

A1

YE

3025

I/P Module - Stage 1 - High Control

A1

YE

3025

I/P Module - Stage 1 - High Control

A2

OG

3024

I/P Module - Stage 1 - Low Control

A2

OG

3024

I/P Module - Stage 1 - Low Control

B1

GY

3027

I/P Module - Stage 2 - High Control

B1

GY

3027

I/P Module - Stage 2 - High Control

B2

PU

3026

I/P Module - Stage 2 - Low Control

B2

PU

3026

I/P Module - Stage 2 - Low Control

C216 I/P Harness to the HVAC Harness


Object Number: 800518  Size: CH

Object Number: 646377  Size: CH

Connector Part Information

  • OEM: 15332177
  • Service: See Catalog
  • Description: 16-Way F GT 150 Series (BK)

Connector Part Information

  • OEM: 15332182
  • Service: 15306371
  • Description: 16-Way M GT 150 Series (BK)

Terminal Part Information

  • Terminal/Tray: 12191812/19
  • Core/Insulation Crimp: E/C
  • Release Tool/Test Probe: 15315247/J-35616-2A (GY)

Terminal Part Information

  • Terminal/Tray: See Terminal Repair Kit
  • Core/Insulation Crimp: See Terminal Repair Kit
  • Release Tool/Test Probe: See Terminal Repair Kit

C216 I/P Harness to the HVAC Harness

Pin

Wire Color

Circuit No.

Function

Pin

Wire Color

Circuit No.

Function

A

WH

119

Mode Door Control

A

WH

119

Mode Door Control

B

TN/BK

2274

Recirculation Door Control Circuit

B

TN/BK

2274

Recirculation Door Control Circuit

C

TN

2273

Mode Door Control

C

TN

2273

Mode Door Control

D-E

--

--

Not Used

D-E

--

--

Not Used

F

YE

1791

Air Temperature Door Control Low Reference

F

YE

1791

Low Reference

G

PU

1838

Recirculation Door Position Signal

G

PU

1838

Recirculation Door Position Signal

H

L-BU

733

Air Temperature Door Position Signal

H

L-BU

733

Air Temperature Door Position Signal

J

L-GN

2275

Mode Door Position Signal

J

L-GN

2275

Mode Door Position Signal

K

D-GN

1614

Recirculation Door Control

K

D-GN

1614

Recirculation Door Control

L

D-BU

1199

Air Temperature Door Control

L

D-BU

1199

Air Temperature Door Control

M

L-BU

1316

Air Temperature Door Control

M

L-BU

1316

Air Temperature Door Control

N

GY

598

5-Volt Reference

N

GY

598

5-Volt Reference

P

WH

2622

5-Volt Reference

P

WH

2622

5-Volt Reference

R

TN

552

Low Reference

R

TN

552

Low Reference

S

--

--

Not Used

S

--

--

Not Used

C218 I/P Harness to the Body Harness


Object Number: 594473  Size: CH

Object Number: 684931  Size: CH

Connector Part Information

  • OEM: 15336479
  • Service: 15306186
  • Description: 4-Way F Metri-Pack 280 Series (YE)

Connector Part Information

  • OEM: 15336476
  • Service: See Catalog
  • Description: 4-Way M Metri-Pack 280 Series (YE)

Terminal Part Information

  • Terminal/Tray: 12034046/2
  • Core/Insulation Crimp: E/A
  • Release Tool/Test Probe: 12094430/J-35616-4A (PU)

Terminal Part Information

  • Terminal/Tray: See Terminal Repair Kit
  • Core/Insulation Crimp: See Terminal Repair Kit
  • Release Tool/Test Probe: See Terminal Repair Kit

C218 I/P Harness to the Body Harness

Pin

Wire Color

Circuit No.

Function

Pin

Wire Color

Circuit No.

Function

A1

YE

3025

I/P Module - Stage 1 - High Control

A1

YE

3025

I/P Module - Stage 1 - High Control

A2

OG

3024

I/P Module - Stage 1 - Low Control

A2

OG

3024

I/P Module - Stage 1 - Low Control

B1

GY

3027

I/P Module - Stage 2 - High Control

B1

GY

3027

I/P Module - Stage 2 - High Control

B2

PU

3026

I/P Module - Stage 2 - Low Control

B2

PU

3026

I/P Module - Stage 2 - Low Control

C219 Body Harness to the I/P Harness


Object Number: 1850604  Size: CH

Object Number: 1850607  Size: CH

Connector Part Information

  • OEM: GT13GM-1/1S-HU
  • Service: See Catalog
  • Description: 3-Way F GT13 Coaxial Series (WH)

Connector Part Information

  • OEM: GT13GM-1/1PPHU
  • Service: See Catalog
  • Description: 3-Way M GT13 Coaxial Series (WH)

Terminal Part Information

  • Pins: 1
  • Terminal/Tray: 7116-4618-02/14
  • Core/Insulation Crimp: P/P
  • Release Tool/Test Probe: J-38125-215/J-35616-64B (L-BU)

Terminal Part Information

  • Pins: 1
  • Terminal/Tray: 7114-4618-02/27
  • Core/Insulation Crimp: P/P
  • Release Tool/Test Probe: J-38125-215/J-35616-65B (L-BU)

C219 Body Harness to the I/P Harness

Pin

Wire Color

Circuit No.

Function

Pin

Wire Color

Circuit No.

Function

I

WH

1487

Antenna Enable Signal

I

WH

1487

Antenna Enable Signal

S

--

--

Not Used

S

--

--

Not Used

C

COAX

--

Antenna Signal

C

COAX

--

Antenna Signal

C226 I/P Harness to the Shifter Jumper Harness


Object Number: 1849820  Size: CH

Object Number: 1849805  Size: CH

Connector Part Information

  • OEM: 936268-1
  • Service: See Catalog
  • Description: 6-Way F 090 Series (WH)

Connector Part Information

  • OEM: 936271-1
  • Service: See Catalog
  • Description: 6-Way M 090 Series (WH)

Terminal Part Information

  • Terminal/Tray: 368083-1/26
  • Core/Insulation Crimp: E/2
  • Release Tool/Test Probe: 15315247/J-35616-18 (BK)

Terminal Part Information

  • Terminal/Tray: See Terminal Repair Kit
  • Core/Insulation Crimp: See Terminal Repair Kit
  • Release Tool/Test Probe: See Terminal Repair Kit

C226 I/P Harness to the Shifter Jumper Harness

Pin

Wire Color

Circuit No.

Function

Pin

Wire Color

Circuit No.

Function

1

--

--

Not Used

1

--

--

Not Used

2

PU/WH

5905

Key Capture/Column Lock Shift Position Signal

2

GY

5905

Key Capture/Column Lock Shift Position Signal

3

BK

1450

Ground

3

D-GN/WH

1450

Ground

4

--

--

Not Used

4

--

--

Not Used

5

PU/WH

1630

Steering Column Key Cylinder Lock Solenoid Control

5

BK/WH

1630

Steering Column Key Cylinder Lock Solenoid Control

6

D-GN/WH

1135

A/T Shift Lock Control Solenoid Supply Voltage

6

BK

1135

A/T Shift Lock Control Solenoid Supply Voltage

C275 I/P Harness to the Steering Wheel Module Coil Harness


Object Number: 1399226  Size: CH

Object Number: 1849818  Size: CH

Connector Part Information

  • OEM: 15393421
  • Service: 88987853
  • Description: 4-Way F Micro-Pack 064 Series (YE)

Connector Part Information

  • OEM: 15393425
  • Service: See Catalog
  • Description: 4-Way M Micro-Pack 064 Series (YE)

Terminal Part Information

  • Terminal/Tray: 12177007/19
  • Core/Insulation Crimp: E/2
  • Release Tool/Test Probe: 12180559-1/J-35616-64B (L-BU)

Terminal Part Information

  • Terminal/Tray: See Terminal Repair Kit
  • Core/Insulation Crimp: See Terminal Repair Kit
  • Release Tool/Test Probe: See Terminal Repair Kit

C275 I/P Harness to the Steering Wheel Module Coil Harness

Pin

Wire Color

Circuit No.

Function

Pin

Wire Color

Circuit No.

Function

1

BN

3020

Steering Wheel Module - Stage 1 - Low Control

1

--

3020

Steering Wheel Module - Stage 1 - Low Control

2

TN

3021

Steering Wheel Module - Stage 1 - High Control

2

--

3021

Steering Wheel Module - Stage 1 - High Control

3

PK

3022

Steering Wheel Module - Stage 2 - Low Control

3

--

3022

Steering Wheel Module - Stage 2 - Low Control

4

WH

3023

Steering Wheel Module - Stage 2 - High Control

4

--

3023

Steering Wheel Module - Stage 2 - High Control

C276 I/P Harness to the Steering Wheel Module Coil Harness


Object Number: 1593397  Size: CH

Object Number: 1849817  Size: CH

Connector Part Information

  • OEM: 15393433
  • Service: See Catalog
  • Description: 10-Way F Micro-Pack 064 Series (BK)

Connector Part Information

  • OEM: 15393436
  • See Catalog
  • Description: 10-Way M Micro-Pack 064 Series (BK)

Terminal Part Information

  • Terminal/Tray: 12177007/19
  • Core/Insulation Crimp: E/2
  • Release Tool/Test Probe: 12180559-1/J-35616-64B (L-BU)

Terminal Part Information

  • Terminal/Tray: See Terminal Repair Kit
  • Core/Insulation Crimp: See Terminal Repair Kit
  • Release Tool/Test Probe: See Terminal Repair Kit

C276 I/P Harness to the Steering Wheel Module Coil Harness

Pin

Wire Color

Circuit No.

Function

Pin

Wire Color

Circuit No.

Function

A-B

--

--

Not Used

A-B

--

--

Not Used

C

PU

1375

Steering Wheel Control Supply Voltage

C

--

1375

Steering Wheel Control Supply Voltage

D

GY

1884

Cruise Control Switch Signal

D

--

1884

Cruise Control Switch Signal

E

D-BU

1796

Steering Wheel Controls Signal (UK3)

E

--

1796

Steering Wheel Controls Signal (UK3)

F

GN/WH

7158

Cruise Control Indicator Dimming Signal

F

--

7158

Cruise Control Indicator Dimming Signal

G

PU/WH

7005

LED Dimming Signal

G

--

7005

LED Dimming Signal

H

--

--

Not Used

H

--

--

Not Used

J

TN

28

Horn Relay Control

J

--

28

Horn Relay Control

K

BK

1450

Ground

K

--

1450

Ground

C277 Steering Wheel Controls Harness to the Steering Wheel Module Coil Harness


Object Number: 1593397  Size: CH

Object Number: 1849817  Size: CH

Connector Part Information

  • OEM: 15393433
  • Service: See Catalog
  • Description: 10-Way F Micro-Pack 064 Series (BK)

Connector Part Information

  • OEM: 15393436
  • Service: See Catalog
  • Description: 10-Way M Micro-Pack 064 Series (BK)

Terminal Part Information

  • Terminal/Tray: 7116-4111-02/9
  • Core/Insulation Crimp: C/A
  • Release Tool/Test Probe: 12094430/J-35616-4A (PU)

Terminal Part Information

  • Terminal/Tray: 7114-4111-02/9
  • Core/Insulation Crimp: C/A
  • Release Tool/Test Probe: 12094430/J-35616-5 (PU)

C277 Steering Wheel Controls Harness to the Steering Wheel Module Coil Harness

Pin

Wire Color

Circuit No.

Function

Pin

Wire Color

Circuit No.

Function

A-B

--

--

Not Used

A-B

--

--

Not Used

C

PU

1375

Steering Wheel Control Supply Voltage

C

--

1375

Steering Wheel Control Supply Voltage

D

GY

1884

Cruise Control Switch Signal

D

GY

1884

Cruise Control Switch Signal

E

D-BU

1796

Steering Wheel Controls Signal (UK3)

E

--

1796

Steering Wheel Controls Signal (UK3)

F

GN/WH

7158

Cruise Control Indicator Dimming Signal

F

GN/WH

7158

Cruise Control Indicator Dimming Signal

G

PU/WH

7005

LED Dimming Signal

G

PU/WH

7005

LED Dimming Signal

H

--

--

Not Used

H

--

--

Not Used

J

TN

28

Horn Relay Control

J

TN

28

Horn Relay Control

K

BK

1450

Ground

K

BK

1450

Ground

C305 Console Harness to the Body Harness


Object Number: 1415174  Size: CH

Object Number: 1548093  Size: CH

Connector Part Information

  • OEM: 7283-5565-40
  • Service: See Catalog
  • Description: 2-Way F 110 Series Unsealed (L-GY)

Connector Part Information

  • OEM: 7282-5565-40
  • Service: See Catalog
  • Description: 2-Way M 110 Series Unsealed (L-GY)

Terminal Part Information

  • Terminal/Tray: 7116-4111-02/9
  • Core/Insulation Crimp: C/A
  • Release Tool/Test Probe: 12094430/J-35616-4A (PU)

Terminal Part Information

  • Terminal/Tray: 7114-4111-02/9
  • Core/Insulation Crimp: C/A
  • Release Tool/Test Probe: 12094430/J-35616-5 (PU)

C305 Console Harness to the Body Harness

Pin

Wire Color

Circuit No.

Function

Pin

Wire Color

Circuit No.

Function

1

BK

650

Ground

1

BK

650

Ground

2

RD/WH

2540

Battery Positive Voltage

2

RD/WH

2540

Battery Positive Voltage

C308 Body Harness to the Power Seat Harness (AG1 w/o KA1)


Object Number: 698669  Size: CH

Object Number: 698671  Size: CH

Connector Part Information

  • OEM: 15326886
  • Service: 88988300
  • Description: 4-Way F GT 280 Series (BK)

Connector Part Information

  • OEM: 15326890
  • Service: 88953361
  • Description: 4-Way M GT 280 Series (BK)

Terminal Part Information

  • Pins: C, D
  • Terminal/Tray: 15304711/8
  • Core/Insulation Crimp: E/A
  • Release Tool/Test Probe: 15315247/J-35616-4A (PU)
  • Pins: A, B
  • Terminal/Tray: 15304713/19
  • Core/Insulation Crimp: 4/4
  • Release Tool/Test Probe: 15315247/J-35616-4A (PU)

Terminal Part Information

  • Terminal/Tray: See Terminal Repair Kit
  • Core/Insulation Crimp: See Terminal Repair Kit
  • Release Tool/Test Probe: See Terminal Repair Kit

C308 Body Harness to the Power Seat Harness (AG1 w/o KA1)

Pin

Wire Color

Circuit No.

Function

Pin

Wire Color

Circuit No.

Function

A

RD/BK

542

Battery Positive Voltage

A

RD/BK

542

Battery Positive Voltage

B

BK

650

Ground

B

BK

650

Ground

C

PK

5057

Seat Position Sensor - Low Reference

C

TN/WH

5057

Seat Position Sensor - Low Reference

D

D-GN

5016

Seat Belt Switch - Left - Signal

D

D-BU

5016

Seat Belt Switch - Left - Signal

C308 Body Harness to the Driver Seat Harness (KA1)


Object Number: 556473  Size: CH

Object Number: 542307  Size: CH

Connector Part Information

  • OEM: 15326924
  • Service: 15306174
  • Description: 8-Way F GT 280 Series (BK)

Connector Part Information

  • OEM: 15326928
  • Service: 15306176
  • Description: 8-Way M GT 280 Series (BK)

Terminal Part Information

  • Pins: E, G, C, D, F, H
  • Terminal/Tray: 15304711/8
  • Core/Insulation Crimp: Pins: E, G : 2/A
  • Core/Insulation Crimp: Pins: C, D, F, H : E/A
  • Release Tool/Test Probe: 15315247/J-35616-4A (PU)
  • Pins: A, B
  • Terminal/Tray: 15304713/19
  • Core/Insulation Crimp: 4/4
  • Release Tool/Test Probe: 15315247/J-35616-4A (PU)

Terminal Part Information

  • Terminal/Tray: See Terminal Repair Kit
  • Core/Insulation Crimp: See Terminal Repair Kit
  • Release Tool/Test Probe: See Terminal Repair Kit

C308 Body Harness to the Driver Seat Harness (KA1)

Pin

Wire Color

Circuit No.

Function

Pin

Wire Color

Circuit No.

Function

A

RD/BK

542

Battery Positive Voltage

A

RD

542

Battery Positive Voltage

B

BK

650

Ground

B

BK

650

Ground

C

PK

5057

Seat Position Sensor - Low Reference

C

L-GN

5057

Seat Position Sensor - Low Reference

D

D-GN

5016

Seat Belt Switch - Left - Signal

D

BK

5016

Seat Belt Switch - Left - Signal

E

PU

2424

Driver Heated Seat Back Element Control

E

PU

2424

Driver Heated Seat Back Element Control

F

YE/BK

2079

Heated Seat Cushion Temperature Sensor Signal

F

YE/BK

2079

Heated Seat Cushion Temperature Sensor Signal

G

PK

2077

Heated Seat Cushion Element Supply Voltage

G

RD/WH

2077

Heated Seat Cushion Element Supply Voltage

H

YE

2080

Driver Heated Seat Cushion Temperature Sensor Low Reference

H

YE

2080

Driver Heated Seat Cushion Temperature Sensor Low Reference

C309 Body Harness to the Passenger Seat Harness (w/o KA1)


Object Number: 1849816  Size: CH

Object Number: 1849815  Size: CH

Connector Part Information

  • OEM: 15332138
  • Service: See Catalog
  • Description: 5-Way F GT 150 Series (BK)

Connector Part Information

  • OEM: 15332139
  • Service: See Catalog
  • Description: 5-Way M GT 150 Series (BK)

Terminal Part Information

  • Terminal/Tray: 12191812/19
  • Core/Insulation Crimp: E/C
  • Release Tool/Test Probe: 15315247/J-35616-2A (GY)

Terminal Part Information

  • Terminal/Tray: See Terminal Repair Kit
  • Core/Insulation Crimp: See Terminal Repair Kit
  • Release Tool/Test Probe: See Terminal Repair Kit

C309 Body Harness to the Passenger Seat Harness (w/o KA1)

Pin

Wire Color

Circuit No.

Function

Pin

Wire Color

Circuit No.

Function

A

RD/WH

840

Battery Positive Voltage

A

OG

840

Battery Positive Voltage

B

BK/WH

651

Ground

B

BK

651

Ground

C

PK

5057

Seat Position Sensor - Low Reference

C

L-GN

5057

Seat Position Sensor - Low Reference

D

OG

1362

Seat Belt Switch - Right - Signal

D

RD

1362

Seat Belt Switch - Right - Signal

E

D-GN

5060

Low Speed GMLAN Serial Data

E

D-GN

5060

Low Speed GMLAN Serial Data

C309 Body Harness to the Passenger Seat Harness (KA1)


Object Number: 647976  Size: CH

Object Number: 847286  Size: CH

Connector Part Information

  • OEM: 15332161
  • Service: 15306416
  • Description: 12-Way F GT 150 (BK)

Connector Part Information

  • OEM: 15332166
  • Service: See Catalog
  • Description: 12-Way M GT 150 Series (BK)

Terminal Part Information

  • Pins: G, H, J, L, A, B, C, D, E, F, K
  • Terminal/Tray: 12191812/19
  • Core/Insulation Crimp: Pins: G, H, J, L : C/A
  • Core/Insulation Crimp: Pins: A, B, C, D, E, F, K : E/C
  • Release Tool/Test Probe: 15315247/J-35616-2A (GY)

Terminal Part Information

  • Terminal/Tray: See Terminal Repair Kit
  • Core/Insulation Crimp: See Terminal Repair Kit
  • Release Tool/Test Probe: See Terminal Repair Kit

C309 Body Harness to the Passenger Seat Harness (KA1)

Pin

Wire Color

Circuit No.

Function

Pin

Wire Color

Circuit No.

Function

A

RD/WH

840

Battery Positive Voltage

A

OG

840

Battery Positive Voltage

B

BK/WH

651

Ground

B

BK/WH

651

Ground

C

PK

5057

Seat Position Sensor - Low Reference

C

L-GN

5057

Seat Position Sensor - Low Reference

D

OG

1362

Seat Belt Switch - Right - Signal

D

RD

1362

Seat Belt Switch - Right - Signal

E

D-GN

5060

Low Speed GMLAN Serial Data

E

D-GN

5060

Low Speed GMLAN Serial Data

F

YE/BK

2079

Heated Seat Cushion Temperature Sensor Signal

F

YE/BK

2079

Heated Seat Cushion Temperature Sensor Signal

G

PK

2077

Heated Seat Cushion Element Supply Voltage

G

RD/WH

2077

Heated Seat Cushion Element Supply Voltage

H

PU

2424

Driver Heated Seat Back Element Control

H

PU

2424

Driver Heated Seat Back Element Control

J

BK

650

Ground

J

BK

650

Ground

K

YE

2080

Driver Heated Seat Cushion Temperature Sensor Low Reference

K

YE

2080

Driver Heated Seat Cushion Temperature Sensor Low Reference

L

RD/WH

640

Battery Positive Voltage

L

OG

640

Battery Positive Voltage

M

--

--

Not Used

M

--

--

Not Used

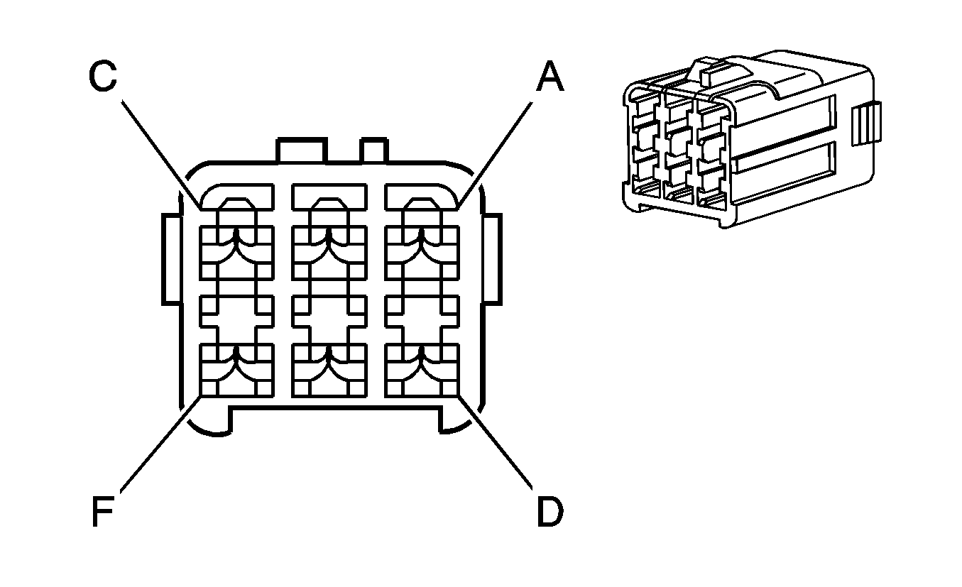
C311 Headliner Harness to the Sunshade Harness (UUC)


Object Number: 130635  Size: CH

Object Number: 362751  Size: CH

Connector Part Information

  • OEM: 12045813
  • Service: 12101889
  • Description: 4-Way F Metri-Pack 150 Series (CM)

Connector Part Information

  • OEM: 12052054
  • Service: 88988619
  • Description: 4-Way M Metri-Pack 150 Series (BK)

Terminal Part Information

  • Terminal/Tray: See Terminal Repair Kit
  • Core/Insulation Crimp: See Terminal Repair Kit
  • Release Tool/Test Probe: See Terminal Repair Kit

Terminal Part Information

  • Terminal/Tray: See Terminal Repair Kit
  • Core/Insulation Crimp: See Terminal Repair Kit
  • Release Tool/Test Probe: See Terminal Repair Kit

C311 Headliner Harness to the Sunshade Harness (UUC)

Pin

Wire Color

Circuit No.

Function

Pin

Wire Color

Circuit No.

Function

A

D-BU/WH

149

Courtesy Lamp Supply Voltage

A

D-BU/WH

149

Courtesy Lamp Supply Voltage

B

GY

157

Courtesy Lamp Control

B

GY

157

Courtesy Lamp Control

C

OG

1732

Courtesy Lamps Supply Voltage

C

OG

1732

Courtesy Lamps Supply Voltage

D

BK

850

Ground

D

BK

850

Ground

C312 Driver Seat Harness to the Power Seat Harness (AG1 w/KA1)


Object Number: 698669  Size: CH

Object Number: 698671  Size: CH

Connector Part Information

  • OEM: 15326886
  • Service: 88988300
  • Description: 4-Way F GT 280 Series (BK)

Connector Part Information

  • OEM: 15326890
  • Service: 88953361
  • Description: 4-Way M GT 280 Series (BK)

Terminal Part Information

  • Terminal/Tray: See Terminal Repair Kit
  • Core/Insulation Crimp: See Terminal Repair Kit
  • Release Tool/Test Probe: See Terminal Repair Kit

Terminal Part Information

  • Terminal/Tray: See Terminal Repair Kit
  • Core/Insulation Crimp: See Terminal Repair Kit
  • Release Tool/Test Probe: See Terminal Repair Kit

C312 Driver Seat Harness to the Power Seat Harness (AG1 w/KA1)

Pin

Wire Color

Circuit No.

Function

Pin

Wire Color

Circuit No.

Function

A

RD

542

Battery Positive Voltage

A

RD/BK

542

Battery Positive Voltage

B

BK

650

Ground

B

BK

650

Ground

C

L-GN

5057

Seat Position Sensor - Low Reference

C

TN/WH

5057

Seat Position Sensor - Low Reference

D

BK

5016

Seat Belt Switch - Left - Signal

D

D-BU

5016

Seat Belt Switch - Left - Signal

C314 Headliner Harness to the Sunroof Harness (CF5)


Object Number: 62439  Size: CH

Object Number: 62434  Size: CH

Connector Part Information

  • OEM: 12047886
  • Service: 12101822
  • Description: 8-Way F Metri-Pack 150 Series (BK)

Connector Part Information

  • OEM: 12045688
  • Service: 12101827
  • Description: 8-Way M Metri-Pack 150 Series (BK)

Terminal Part Information

  • Terminal/Tray: See Terminal Repair Kit
  • Core/Insulation Crimp: See Terminal Repair Kit
  • Release Tool/Test Probe: See Terminal Repair Kit

Terminal Part Information

  • Terminal/Tray: See Terminal Repair Kit
  • Core/Insulation Crimp: See Terminal Repair Kit
  • Release Tool/Test Probe: See Terminal Repair Kit

C314 Headliner Harness to the Sunroof Harness (CF5)

Pin

Wire Color

Circuit No.

Function

Pin

Wire Color

Circuit No.

Function

A

BN

100

Sunroof Switch Open Signal

A

BN

100

Sunroof Switch Open Signal

B

D-GN

2074

Sunroof Switch Express Signal

B

D-GN

2074

Sunroof Switch Express Signal

C

OG/BK

144

Sunroof Switch Open Vent Signal

C

OG/BK

144

Sunroof Switch Open Vent Signal

D

D-BU

128

Sunroof Switch Low Reference

D

D-BU

128

Sunroof Switch Low Reference

E-F

--

--

Not Used

E-F

--

--

Not Used

G

BK

850

Ground

G

BK

550

Ground

H

YE

643

Accessory Voltage

H

OG

643

Accessory Voltage

C400 Body Harness to the Chassis Harness


Object Number: 888606  Size: CH

Object Number: 823302  Size: CH

Connector Part Information

  • OEM: 7283-5946-30
  • Service: 88988239
  • Description: 10-Way F YESC/USCAR Class III Series Sealed (BK)

Connector Part Information

  • OEM: 7282-5946-30
  • Service: See Catalog
  • Description: 10-Way M YESC/USCAR Class III Series Sealed (BK)

Terminal Part Information

  • Terminal/Tray: 7116-4102-08/9
  • Core/Insulation Crimp: E/1
  • Release Tool/Test Probe: 12094430/J-35616-2A (GY)

Terminal Part Information

  • Pins: 2, 3, 4, 6, 7, 8, 9
  • Terminal/Tray: 7114-4102-08/9
  • Core/Insulation Crimp: E/1
  • Release Tool/Test Probe: 12094430/J-35616-3 (GY)
  • Pins: 1, 10
  • Terminal/Tray: 7114-4103-08/9
  • Core/Insulation Crimp: E/1
  • Release Tool/Test Probe: 12094430/J-35616-3 (GY)

C400 Body Harness to the Chassis Harness

Pin

Wire Color

Circuit No.

Function

Pin

Wire Color

Circuit No.

Function

1

BK

850

Ground (MH6)

1

BK

850

Ground

2

L-BU

5986

Serial Data Communication Enable (MH6)

2

L-BU

5986

Serial Data Communication Enable

3

TN

884

Left Rear Wheel Speed Sensor Signal

3

TN

884

Left Rear Wheel Speed Sensor Signal

4

OG

885

Left Rear Wheel Speed Sensor Low Reference

4

OG

885

Left Rear Wheel Speed Sensor Low Reference

5

--

--

Not Used

5

--

--

Not Used

6

TN/BK

2500

High Speed GMLAN Serial Data Bus+ (MH6)

6

TN/BK

2500

High Speed GMLAN Serial Data Bus+

7

TN

2501

High Speed GMLAN Serial Data Bus-

7

TN

2501

High Speed GMLAN Serial Data Bus-

8

BN

882

Right Rear Wheel Speed Sensor Signal

8

BN

882

Right Rear Wheel Speed Sensor Signal

9

WH

883

Right Rear Wheel Speed Sensor Low Reference

9

WH

883

Right Rear Wheel Speed Sensor Low Reference

10

RD/WH

1740

Battery Positive Voltage (MH6)

10

RD/WH

1740

Battery Positive Voltage

C401 Liftgate Jumper to the Body Harness


Object Number: 1883553  Size: CH

Object Number: 1883554  Size: CH

Connector Part Information

  • OEM: 7283-1262
  • Service: See Catalog
  • Description: 6-Way F 090 II Series (NA)

Connector Part Information

  • OEM: 7282-1264-7282-1464 on Harness
  • Service: See Catalog
  • Description: 6-Way M 2.8 (WH)

Terminal Part Information

  • Pins: 3
  • Terminal/Tray: 7116-4020/11
  • Core/Insulation Crimp: E/C
  • Release Tool/Test Probe: 15315247/J-35616-18 (BK)
  • Pins: 1, 5, 6
  • Terminal/Tray: 7116-4021/11
  • Core/Insulation Crimp: 2/A
  • Release Tool/Test Probe: 15315247/J-35616-18 (BK)
  • Pins: 4
  • Terminal/Tray: 7116-4022/11
  • Core/Insulation Crimp: 4/A
  • Release Tool/Test Probe: 15315247/J-35616-18 (BK)

Terminal Part Information

  • Pins: 1, 5, 6
  • Terminal/Tray: 7114-4021/10
  • Core/Insulation Crimp: 2/A
  • Release Tool/Test Probe: 15315247/J-35616-19 (BK)
  • Pins: 3
  • Terminal/Tray: 7114-4020/10
  • Core/Insulation Crimp: E/C
  • Release Tool/Test Probe: 15315247/J-35616-19 (BK)
  • Pins: 4
  • Terminal/Tray: 7114-4022/10
  • Core/Insulation Crimp: 4/A
  • Release Tool/Test Probe: 15315247/J-35616-19 (BK)

C401 Liftgate Jumper to the Body Harness

Pin

Wire Color

Circuit No.

Function

Pin

Wire Color

Circuit No.

Function

1

BK

550

Ground

1

BK

550

Ground

2

--

--

Not Used

2

--

--

Not Used

3

L-BU

6128

Rear Closure Unlatch Motor Unlatch Control

3

L-BU

6128

Rear Closure Unlatch Motor Unlatch Control

4

PU

293

Rear Defog Element Supply Voltage

4

PU

293

Rear Defog Element Supply Voltage

5

BK

550

Ground

5

BK

550

Ground

6

RD/WH

2140

Battery Positive Voltage

6

RD/WH

2140

Battery Positive Voltage

C403 Body Harness to the Left Tail Lamp Harness


Object Number: 1849814  Size: CH

Object Number: 1818971  Size: CH

Connector Part Information

  • OEM: 6189-0319
  • Service: 88988448
  • Description: 6-Way F 090 Series Sealed (L-GY)

Connector Part Information

  • OEM: 6188-0173
  • Service: See Catalog
  • Description: 6-Way M TS 090 Series Sealed (L-GY)

Terminal Part Information

  • Pins: 1
  • Terminal/Tray: 7116-4026/11
  • Core/Insulation Crimp: E/1
  • Release Tool/Test Probe: 15313892/J-35616-18 (BK)
  • Pins: 4, 2, 6, 5
  • Terminal/Tray: 7116-4025/11
  • Core/Insulation Crimp: Pins: 4 : E/A
  • Core/Insulation Crimp: Pins: 2, 6, 5 : E/1
  • Release Tool/Test Probe: 15313892/J-35616-18 (BK)

Terminal Part Information

  • Terminal/Tray: See Terminal Repair Kit
  • Core/Insulation Crimp: See Terminal Repair Kit
  • Release Tool/Test Probe: See Terminal Repair K

C403 Body Harness to the Left Tail Lamp Harness

Pin

Wire Color

Circuit No.

Function

Pin

Wire Color

Circuit No.

Function

1

YE

18

Left Rear Stop/Turn Lamp Supply Voltage

1

D-GN

18

Left Rear Stop/Turn Lamp Supply Voltage

2

BK

550

Ground

2

BK

550

Ground

3

--

--

Not Used

3

--

--

Not Used

4

PU

709

Left Park Lamp Supply Voltage

4

RD/D-BU

709

Left Park Lamp Supply Voltage

5

L-BU

20

Stop Lamp Supply Voltage

5

D-GN/WH

20

Stop Lamp Supply Voltage/Stop Lamp Switch Signal

6

L-GN

24

Backup Lamp Supply Voltage

6

RD

24

Backup Lamp Supply Voltage

C404 Body Harness to the Right Tail Lamp Harness


Object Number: 1849814  Size: CH

Object Number: 1818971  Size: CH

Connector Part Information

  • OEM: 6189-0319
  • Service: 88988448
  • Description: 6-Way F 090 Series Sealed (L-GY)

Connector Part Information

  • OEM: 6188-0173
  • Service: See Catalog
  • Description: 6-Way M TS 090 Series Sealed (L-GY)

Terminal Part Information

  • Pins: 1
  • Terminal/Tray: 7116-4026/11
  • Core/Insulation Crimp: E/1
  • Release Tool/Test Probe: 15313892/J-35616-18 (BK)
  • Pins: 4, 2, 6, 5
  • Terminal/Tray: 7116-4025/11
  • Core/Insulation Crimp: Pins: 4 : E/A
  • Core/Insulation Crimp: Pins: 2, 6, 5 : E/1
  • Release Tool/Test Probe: 15313892/J-35616-18 (BK)

Terminal Part Information

  • Terminal/Tray: See Terminal Repair Kit
  • Core/Insulation Crimp: See Terminal Repair Kit
  • Release Tool/Test Probe: See Terminal Repair Kit

C404 Body Harness to the Right Tail Lamp Harness

Pin

Wire Color

Circuit No.

Function

Pin

Wire Color

Circuit No.

Function

1

D-GN

19

Right Rear Stop/Turn Lamp Supply Voltage

1

D-GN

19

Right Rear Stop/Turn Lamp Supply Voltage

2

BK

850

Ground

2

BK

850

Ground

3

--

--

Not Used

3

--

--

Not Used

4

BN/WH

309

Right Park Lamp Supply Voltage

4

RD/D-BU

309

Right Park Lamp Supply Voltage

5

L-BU

20

Stop Lamp Supply Voltage

5

D-GN/WH

20

Stop Lamp Supply Voltage/Stop Lamp Switch Signal

6

L-GN

24

Backup Lamp Supply Voltage

6

RD

24

Backup Lamp Supply Voltage

C405 Liftgate Jumper to the Body Harness


Object Number: 1412983  Size: CH

Object Number: 1413088  Size: CH

Connector Part Information

  • OEM: 7123-1460-30
  • Service: 88988466
  • Description: 6-Way F (BK)

Connector Part Information

  • OEM: 7122-1163-30
  • Service: See Catalog
  • Description: 6-Way M (NA)

Terminal Part Information

  • Terminal/Tray: 7116-1180/11
  • Core/Insulation Crimp: E/C
  • Release Tool/Test Probe: 15315247/J-35616-18 (BK)

Terminal Part Information

  • Pins: 1, 2, 3, 5, 6, 4
  • Terminal/Tray: 7114-1170/11
  • Core/Insulation Crimp: Pins: 1, 2, 3, 5, 6 : E/C
  • Core/Insulation Crimp: Pins: 4 : See Terminal Repair Kit
  • Release Tool/Test Probe: 15315247/J-35616-19 (BK)

C405 Liftgate Jumper to the Body Harness

Pin

Wire Color

Circuit No.

Function

Pin

Wire Color

Circuit No.

Function

1

PK/BK

1303

Liftgate Ajar Switch Signal

1

PK/BK

1303

Liftgate Ajar Switch Signal

2

BN/WH

309

Right Park Lamp Supply Voltage

2

BN/WH

309

Right Park Lamp Supply Voltage

3

GY

391

Rear Window Wiper Switch Signal

3

GY

391

Rear Window Wiper Switch Signal

4

YE

243

Accessory Voltage

4

YE

243

Accessory Voltage

5

L-GN

2270

Rear Window Washer Relay Control

5

L-GN

2270

Rear Window Washer Relay Control

6

GY

5797

Rear Closure Handle Switch Open Signal

6

GY

5797

Rear Closure Handle Switch Open Signal

C406 Body Harness to the Fuel Sender Harness


Object Number: 570216  Size: CH

Object Number: 258921  Size: CH

Connector Part Information

  • OEM: 12065425
  • Service: 12125676
  • Description: 10-Way F Metri-Pack 150 Series Sealed (BK)

Connector Part Information

  • OEM: 12048253
  • Service: 12117372
  • Description: 10-Way M Metri-Pack 150 Series Sealed (BK)

Terminal Part Information

  • Pins: C, E, F, G, H, J, K, A, B
  • Terminal/Tray: 12048074/2
  • Core/Insulation Crimp: Pins: C, E, F, G, H, J, K : E/1
  • Core/Insulation Crimp: Pins: A, B : 2/1
  • Release Tool/Test Probe: 12094429/J-35616-2A (GY)

Terminal Part Information

  • Terminal/Tray: See Terminal Repair Kit
  • Core/Insulation Crimp: See Terminal Repair Kit
  • Release Tool/Test Probe: See Terminal Repair Kit

C406 Body Harness to the Fuel Sender Harness

Pin

Wire Color

Circuit No.

Function

Pin

Wire Color

Circuit No.

Function

A

GY

120

Fuel Pump Supply Voltage

A

GY

120

Fuel Pump Supply Voltage

B

BK

850

Ground

B

BK

850

Ground

C

PU

1589

Fuel Level Sensor Signal [- Primary]

C

PU

1589

Fuel Level Sensor Signal

D

--

--

Not Used

D

L-BU

30

Fuel Level Sensor Signal

E

GY

2709

5-Volt Reference

E

GY

2709

5-Volt Reference

F

D-GN

890

Fuel Tank Pressure Sensor Signal

F

D-GN

890

Fuel Tank Pressure Sensor Signal

G

TN

2759

Low Reference

G

BK

2759

Low Reference

H

TN

2759

Low Reference

H

BK/WH

2759

Low Reference

J

RD/WH

2840

Battery Positive Voltage

J

RD/WH

2840

Battery Positive Voltage

K

WH

1310

EVAP Canister Vent Solenoid Control

K

WH

1310

EVAP Canister Vent Solenoid Control

C409 Body Harness to the Trailer Jumper Harness (V92)


Object Number: 1479640  Size: CH

Object Number: 1479634  Size: CH

Connector Part Information

  • OEM: 7283-5889
  • Service: See Catalog
  • Description: 4-Way F 1.5 Series Sealed (BK)

Connector Part Information

  • OEM: 72825889
  • Service: See Catalog
  • Description: 4-Way M 1.5 Series Sealed (BK)

Terminal Part Information

  • Pins: 1, 2, 3
  • Terminal/Tray: 7116-4102-08/9
  • Core/Insulation Crimp: E/1
  • Release Tool/Test Probe: 12094430/J-35616-2A (GY)
  • Pins: 4
  • Terminal/Tray: 7116-4103-08/9
  • Core/Insulation Crimp: E/1
  • Release Tool/Test Probe: 12094430/J-35616-2A (GY)

Terminal Part Information

  • Pins: 1, 2, 3
  • Terminal/Tray: 7114-4102-08/9
  • Core/Insulation Crimp: E/1
  • Release Tool/Test Probe: 12094430/J-35616-3 (GY)

C409 Body Harness to the Trailer Jumper Harness (V92)

Pin

Wire Color

Circuit No.

Function

Pin

Wire Color

Circuit No.

Function

1

YE

1618

Trailer Left Rear Turn/Stop Lamp Supply Voltage

1

YE

1618

Trailer Left Rear Turn/Stop Lamp Supply Voltage

2

D-GN

1619

Trailer Right Rear Turn/Stop Lamp Supply Voltage

2

D-GN

1619

Trailer Right Rear Turn/Stop Lamp Supply Voltage

3

BN

2109

Trailer Park Lamps Supply Voltage

3

BN

2109

Trailer Park Lamps Supply Voltage

4

BK

550

Ground

4

BK

850

Ground

C410 Trailer Harness to the Trailer Jumper Harness (V92)


Object Number: 1479640  Size: CH

Object Number: 1479634  Size: CH

Connector Part Information

  • OEM: 72835889
  • Service: See Catalog
  • Description: 4-Way F 1.5 Series Sealed (BK)

Connector Part Information

  • OEM: 72825889
  • Service: See Catalog
  • Description: 4-Way M 1.5 Series Sealed (BK)

Terminal Part Information

  • Pins: 1, 2, 3
  • Terminal/Tray: 7116-4102-08/9
  • Core/Insulation Crimp: E/1
  • Release Tool/Test Probe: 12094430/J-35616-2A (GY)
  • Pins: 4
  • Terminal/Tray: 7116-4103-08/9
  • Core/Insulation Crimp: E/1
  • Release Tool/Test Probe: 12094430/J-35616-2A (GY)

Terminal Part Information

  • Pins: 2, 3, 4
  • Terminal/Tray: 7114-4102-08/9
  • Core/Insulation Crimp: E/1
  • Release Tool/Test Probe: 12094430/J-35616-3 (GY)
  • Pins: 1
  • Terminal/Tray: 7114-4103-08/9
  • Core/Insulation Crimp: E/1
  • Release Tool/Test Probe: 12094430/J-35616-3 (GY)

C410 Trailer Harness to the Trailer Jumper Harness (V92)

Pin

Wire Color

Circuit No.

Function

Pin

Wire Color

Circuit No.

Function

1

BK

850

Ground

1

WH

850

Ground

2

BN

2109

Trailer Park Lamps Supply Voltage

2

BN

2109

Trailer Park Lamps Supply Voltage

3

YE

1618

Trailer Left Rear Turn/Stop Lamp Supply Voltage

3

YE

1618

Trailer Left Rear Turn/Stop Lamp Supply Voltage

4

D-GN

1619

Trailer Right Rear Turn/Stop Lamp Supply Voltage

4

D-GN

1619

Trailer Right Rear Turn/Stop Lamp Supply Voltage

C412 Headliner to the I/P Harness (UUC)


Object Number: 1664488  Size: CH

Object Number: 1707495  Size: CH

Connector Part Information

  • OEM: 7283-9078-80
  • Service: See Catalog
  • Description: 16-Way F Kaizen 0.64 Series (BN)

Connector Part Information

  • OEM: 7282-9078-80
  • Service: See Catalog
  • Description: 16-Way M YESC Kaizen 0.64 Series (BN)

Terminal Part Information

  • Terminal/Tray: See Terminal Repair Kit
  • Core/Insulation Crimp: See Terminal Repair Kit
  • Release Tool/Test Probe: See Terminal Repair Kit

Terminal Part Information

  • Pins: 2, 3, 4, 5, 6, 7, 8, 9, 10, 11, 12, 14, 15, 16
  • Terminal/Tray: See Terminal Repair Kit
  • Core/Insulation Crimp: See Terminal Repair Kit
  • Release Tool/Test Probe: See Terminal Repair Kit

C412 Headliner to the I/P Harness (UUC)

Pin

Wire Color

Circuit No.

Function

Pin

Wire Color

Circuit No.

Function

1

WH

1487

Switched Antenna Enable Signal

1

WH

1487

Switched Antenna Enable Signal

2

BARE

6980

DVD Audio Shield

2

BARE

6980

DVD Audio Shield

3

L-BU

5826

Left DVD Audio Signal (+)

3

L-BU

5826

Left DVD Audio Signal (+)

4

PU

6979

DVD Audio Common

4

PU

6979

DVD Audio Common

5

WH

5828

Right DVD Audio Signal (+)

5

WH

5828

Right DVD Audio Signal (+)

6

BARE

6976

DVD Video Drain Wire

6

BARE

6976

DVD Video Drain Wire

7

D-GN

6975

DVD Video Signal (+)

7

D-GN

6975

DVD Video Signal (+)

8

WH/BK

5335

DVD Video Signal (-)

8

WH/BK

5335

DVD Video Signal (-)

9

TN/WH

5830

Remote Infra Red Signal (-)

9

TN/WH

5830

Remote Infra Red Signal (-)

10

OG/BK

5831

Remote Infra Red Signal (+)

10

OG/BK

5831

Remote Infra Red Signal (+)

11

YE

343

Accessory Voltage

11

YE

343

Accessory Voltage

12

BN/WH

5846

Video Power Mode Signal

12

BN/WH

5846

Video Power Mode Signal

13

--

--

Not Used

13

--

--

Not Used

14

PK/BK

5844

Video Bright Control

14

PK/BK

5844

Video Bright Control

15

BK/WH

1551

Ground

15

BK/WH

1551

Ground

16

RD/WH

2340

Battery Positive Voltage

16

RD/WH

2340

Battery Positive Voltage

C414 Body to the CHMSL Jumper Harness


Object Number: 1856792  Size: CH

Object Number: 1853532  Size: CH

Connector Part Information

  • OEM: 7283-6443-40
  • Service: See Catalog
  • Description: 2-Way F Receptacle 1.5 Series Unsealed (NA)

Connector Part Information

  • OEM: 7282-6443-40
  • Service: See Catalog
  • Description: 2-Way M 1.5 Series Unsealed (NA)

Terminal Part Information

  • Terminal/Tray: 7116-4100-08/9
  • Core/Insulation Crimp: E/C
  • Release Tool/Test Probe: 12094430/J-35616-2A (GY)

Terminal Part Information

  • Terminal/Tray: 7114-4100-08/9
  • Core/Insulation Crimp: E/C
  • Release Tool/Test Probe: 15315247/J-35616-3 (GY)

C414 Body to the CHMSL Jumper Harness

Pin

Wire Color

Circuit No.

Function

Pin

Wire Color

Circuit No.

Function

1

L-BU

1320

CHMSL Supply Voltage/Stop Lamp Supply Voltage

1

L-BU

1320

CHMSL Supply Voltage/Stop Lamp Supply Voltage

2

BK

850

Ground

2

BK

850

Ground

C415 Headliner Harness to the Body Harness


Object Number: 1849808  Size: CH

Object Number: 1849807  Size: CH

Connector Part Information

  • OEM: 7283-3441-40
  • Service: See Catalog
  • Description: 8-Way F Kaizen YESC Series (L-GY)

Connector Part Information

  • OEM: 7282-3441-40
  • Service: See Catalog
  • Description: 8-Way M Kaizen YESC Series (L-GY)

Terminal Part Information

  • Terminal/Tray: See Terminal Repair Kit
  • Core/Insulation Crimp: See Terminal Repair Kit
  • Release Tool/Test Probe: See Terminal Repair Kit

Terminal Part Information

  • Pins: 5, 2, 3, 4, 7
  • Terminal/Tray: 7114-4101-08/9
  • Core/Insulation Crimp: Pins: 5 : C/A
  • Core/Insulation Crimp: Pins: 2, 3, 4, 7 : E/A
  • Release Tool/Test Probe: 15315247/J-35616-3 (GY)
  • Pins: 6
  • Terminal/Tray: 7114-4100-08/9
  • Core/Insulation Crimp: E/C
  • Release Tool/Test Probe: 15315247/J-35616-3 (GY)

C415 Headliner Harness to the Body Harness

Pin

Wire Color

Circuit No.

Function

Pin

Wire Color

Circuit No.

Function

1

--

--

Not Used

1

--

--

Not Used

2

OG

1732

Courtesy Lamps Supply Voltage

2

OG

1732

Courtesy Lamps Supply Voltage

3

BK

850

Ground (CF5)

3

BK

850

Ground (CF5)

4

BK

850

Ground

4

BK

850

Ground

5

YE

643

Accessory Voltage (CF5)

5

YE

643

Accessory Voltage (CF5)

6

L-GN

24

Backup Lamp Supply Voltage (DD7)

6

L-GN

24

Backup Lamp Supply Voltage (DD7)

7

D-BU/WH

149

Courtesy Lamp Supply Voltage

7

D-BU/WH

149

Courtesy Lamp Supply Voltage

8

--

--

Not Used

8

--

--

Not Used

C417 Headliner Harness to the Body Harness (U3U)


Object Number: 1849813  Size: CH

Object Number: 1849811  Size: CH

Connector Part Information

  • OEM: 7283-6387-40
  • Service: See Catalog
  • Description: 6-Way F 0.64 Series (L-GY)

Connector Part Information

  • OEM: 7282-6561-40
  • Service: See Catalog
  • Description: 6-Way M 0.64 Series (L-GY)

Terminal Part Information

  • Terminal/Tray: See Terminal Repair Kit
  • Core/Insulation Crimp: See Terminal Repair Kit
  • Release Tool/Test Probe: See Terminal Repair Kit

Terminal Part Information

  • Terminal/Tray: See Terminal Repair Kit
  • Core/Insulation Crimp: See Terminal Repair Kit
  • Release Tool/Test Probe: See Terminal Repair Kit

C417 Headliner Harness to the Body Harness (U3U)

Pin

Wire Color

Circuit No.

Function

Pin

Wire Color

Circuit No.

Function

1-4

--

--

Not Used

1-4

--

--

Not Used

5

YE

655

Cellular Microphone Signal

5

YE

655

Cellular Microphone Signal

6

BARE

1489

Drain Wire

6

BARE

1489

Drain Wire

C420 Body Harness to the Left Inflatable Restraint Roof Rail Module Harness (ASF)


Object Number: 966375  Size: CH

Object Number: 646194  Size: CH

Connector Part Information

  • OEM: 12077921
  • Service: See Catalog
  • Description: 2-Way F Metri-Pack 280 Series (YE)

Connector Part Information

  • OEM: 12186799
  • Service: See Catalog
  • Description: 2-Way M 280 Series (YE)

Terminal Part Information

  • Terminal/Tray: See Terminal Repair Kit
  • Core/Insulation Crimp: See Terminal Repair Kit
  • Release Tool/Test Probe: See Terminal Repair Kit

Terminal Part Information

  • Terminal/Tray: See Terminal Repair Kit
  • Core/Insulation Crimp: See Terminal Repair Kit
  • Release Tool/Test Probe: See Terminal Repair Kit

C420 Body Harness to the Left Inflatable Restraint Roof Rail Module Harness (ASF)

Pin

Wire Color

Circuit No.

Function

Pin

Wire Color

Circuit No.

Function

A

D-GN

--

Side Impact Module - LF - High Control

A

BN

2137

Side Impact Module - LF - High Control

B

WH

--

Side Impact Module - LF - Low Control

B

YE/BK

2138

Side Impact Module - LF - Low Control

C421 Body Harness to the Right Inflatable Restraint Roof Rail Module Harness (ASF)


Object Number: 966375  Size: CH

Object Number: 646194  Size: CH

Connector Part Information

  • OEM: 12077921
  • Service: See Catalog
  • Description: 2-Way F Metri-Pack 280 Series (YE)

Connector Part Information

  • OEM: 12186799
  • Service: See Catalog
  • Description: 2-Way M 280 Series (YE)

Terminal Part Information

  • Terminal/Tray: See Terminal Repair Kit
  • Core/Insulation Crimp: See Terminal Repair Kit
  • Release Tool/Test Probe: See Terminal Repair Kit

Terminal Part Information

  • Terminal/Tray: See Terminal Repair Kit
  • Core/Insulation Crimp: See Terminal Repair Kit
  • Release Tool/Test Probe: See Terminal Repair Kit

C421 Body Harness to the Right Inflatable Restraint Roof Rail Module Harness (ASF)

Pin

Wire Color

Circuit No.

Function

Pin

Wire Color

Circuit No.

Function

A

D-GN

--

Side Impact Module - RF - High Control

A

TN/WH

2135

Side Impact Module - RF - High Control

B

WH

--

Side Impact Module - RF - Low Control

B

L-GN

2136

Side Impact Module - RF - Low Control

C422 Headliner Harness to the Body Harness (UE1)


Object Number: 1849813  Size: CH

Object Number: 1849811  Size: CH

Connector Part Information

  • OEM: 7283-6387-40
  • Service: See Catalog
  • Description: 6-Way F 0.64 Series (L-GY)

Connector Part Information

  • OEM: 7282-6561-40
  • Service: See Catalog
  • Description: 6-Way M 0.64 Series (L-GY)

Terminal Part Information

  • Terminal/Tray: See Terminal Repair Kit
  • Core/Insulation Crimp: See Terminal Repair Kit
  • Release Tool/Test Probe: See Terminal Repair Kit

Terminal Part Information

  • Pins: 5, 6
  • Terminal/Tray: 7114-4721-02/14
  • Core/Insulation Crimp: See Terminal Repair Kit
  • Release Tool/Test Probe: 15315247/J-35616-65B (L-BU)
  • Pins: 1, 2, 3, 4
  • Terminal/Tray: 7114-4720-08/14
  • Core/Insulation Crimp: J/J
  • Release Tool/Test Probe: 15315247/J-35616-65B (L-BU)

C422 Headliner Harness to the Body Harness (UE1)

Pin

Wire Color

Circuit No.

Function

Pin

Wire Color

Circuit No.

Function

1

L-GN/BK

2515

Keypad Supply Voltage

1

L-GN/BK

2515

Keypad Supply Voltage

2

D-GN/WH

2514

Keypad Signal

2

D-GN/WH

2514

Keypad Signal

3

BN/WH

2517

Keypad Red LED Signal

3

BN/WH

2517

Keypad Red LED Signal

4

YE/BK

2516

Keypad Green LED Signal

4

YE/BK

2516

Keypad Green LED Signal

5

GY

655

Cellular Microphone Signal

5

GY

655

Cellular Microphone Signal

6

BARE

1489

Drain Wire

6

BARE

1489

Drain Wire

C500 Body Harness to the Left Front Door Harness


Object Number: 1413044  Size: CH

Object Number: 1460798  Size: CH

Connector Part Information

  • OEM: 7183-1584
  • Service: See Catalog
  • Description: 28-Way F 090 Class II Series Sealed (WH)

Connector Part Information

  • OEM: 7182-1581
  • Service: See Catalog
  • Description: 28-Way M 090 Class II Series Sealed (WH)

Terminal Part Information

  • Pins: 7, 8, 9, 11, 12, 10, 19, 21
  • Terminal/Tray: 7116-4020/11
  • Core/Insulation Crimp: E/C
  • Release Tool/Test Probe: 15315247/J-35616-18 (BK)
  • Pins: 23, 24, 3, 4
  • Terminal/Tray: 7116-4021/11
  • Core/Insulation Crimp: Pins: 23, 24 : 2/A
  • Core/Insulation Crimp: Pins: 3, 4 : E/A
  • Release Tool/Test Probe: 15315247/J-35616-18 (BK)
  • Pins: 25, 26
  • Terminal/Tray: 7116-4022/11
  • Core/Insulation Crimp: 4/A
  • Release Tool/Test Probe: 15315247/J-35616-18 (BK)

Terminal Part Information

  • Terminal/Tray: See Terminal Repair Kit
  • Core/Insulation Crimp: See Terminal Repair Kit
  • Release Tool/Test Probe: See Terminal Repair Kit

C500 Body Harness to the Left Front Door Harness

Pin

Wire Color

Circuit No.

Function

Pin

Wire Color

Circuit No.

Function

1-2

--

--

Not Used

1-2

--

--

Not Used

3

GY

118

Left Front Speaker Output (-)

3

TN

118

Left Front Speaker Output (-)

4

TN

201

Left Front Speaker Output (+)

4

GY

201

Left Front Speaker Output (+)

5-6

--

--

Not Used

5-6

--

--

Not Used

7

OG/BK

781

Driver Door Lock Switch Unlock Signal

7

OG/BK

781

Driver Door Lock Switch Unlock Signal

8

PK/BK

780

Driver Door Lock Switch Lock Signal

8

RD/BK

780

Driver Door Lock Switch Lock Signal

9

L-GN

1499

Driver Mirror Motor Left/Down Control

9

YE

1499

Driver Mirror Motor Left/Down Control

10

BK/WH

651

Ground

10

BK

651

Ground

11

YE

88

Driver Mirror Motor Up Control

11

L-GN

88

Driver Mirror Motor Up Control

12

WH

81

Driver Mirror Motor Right Control

12

WH

81

Driver Mirror Motor Right Control

13

--

--

Not Used

13

BK

746

Right Front Door Ajar Switch Signal

14-18

--

--

Not Used

14-18

--

--

Not Used

19

GY/BK

745

Left Front Door Ajar Switch Signal

19

RD/BK

745

Left Front Door Ajar Switch Signal

20

--

--

Not Used

20

PU

294

Door Lock Actuator Unlock Control

21

BK/WH

651

Ground

21

OG

651

Ground

22

--

--

Not Used

22

--

--

Not Used

23

GY

295

Door Lock Actuator Lock Control

23

GY

295

Door Lock Actuator Lock Control

24

TN

694

Driver Door Lock Actuator Unlock Control

24

TN

694

Driver Door Lock Actuator Unlock Control

25

D-BU

164

Power Window Motor Left Front Up Control

25

D-BU

164

Power Window Motor Left Front Up Control

26

BN

165

Power Window Motor Left Front Down Control

26

BN

165

Power Window Motor Left Front Down Control

27-28

--

--

Not Used

27-28

--

--

Not Used

C600 Body Harness to the Right Front Door Harness


Object Number: 1413044  Size: CH

Object Number: 1460798  Size: CH

Connector Part Information

  • OEM: 7183-1584
  • Service: See Catalog
  • Description: 28-Way F 090 Class II Series Sealed (WH)

Connector Part Information

  • OEM: 7182-1581
  • Service: See Catalog
  • Description: 28-Way M 090 Class II Series Sealed (WH)

Terminal Part Information

  • Pins: 7, 8, 9, 11, 12, 13, 21, 23
  • Terminal/Tray: 7116-4020/11
  • Core/Insulation Crimp: E/C
  • Release Tool/Test Probe: 15315247/J-35616-18 (BK)
  • Pins: 10, 20, 3, 4
  • Terminal/Tray: 7116-4021/11
  • Core/Insulation Crimp: Pins: 10, 20 : 2/A
  • Core/Insulation Crimp: Pins: 3, 4 : E/A
  • Release Tool/Test Probe: 15315247/J-35616-18 (BK)
  • Pins: 25, 26
  • Terminal/Tray: 7116-4022/11
  • Core/Insulation Crimp: 4/A
  • Release Tool/Test Probe: 15315247/J-35616-18 (BK)

Terminal Part Information

  • Terminal/Tray: See Terminal Repair Kit
  • Core/Insulation Crimp: See Terminal Repair Kit
  • Release Tool/Test Probe: See Terminal Repair Kit

C600 Body Harness to the Right Front Door Harness

Pin

Wire Color

Circuit No.

Function

Pin

Wire Color

Circuit No.

Function

1-2

--

--

Not Used

1-2

--

--

Not Used

3

D-GN

117

Right Front Speaker Output (-)

3

TN

117

Right Front Speaker Output (-)

4

L-GN

200

Right Front Speaker Output (+)

4

GY

200

Right Front Speaker Output (+)

5-6

--

--

Not Used

5-6

--

--

Not Used

7

D-BU

245

Passenger Door Lock Switch Unlock Signal

7

OG/BK

245

Passenger Door Lock Switch Unlock Signal

8

L-BU

244

Passenger Door Lock Switch Lock Signal

8

RD/BK

244

Passenger Door Lock Switch Lock Signal

9

L-BU/WH

1497

Passenger Mirror Motor Left/Down Control

9

YE

1497

Passenger Mirror Motor Left/Down Control

10

GY

295

Door Lock Actuator Lock Control

10

BK

295

Door Lock Actuator Lock Control

11

PU/WH

889

Passenger Mirror Motor Down Control

11

L-GN

889

Passenger Mirror Motor Down Control

12

OG/WH

881

Passenger Mirror Motor Right Control

12

WH

881

Passenger Mirror Motor Right Control

13

TN/WH

746

Right Front Door Ajar Switch Signal

13

BK

746

Right Front Door Ajar Switch Signal

14-18

--

--

Not Used

14-18

--

--

Not Used

19

--

--

Not Used

19

RD/BK

745

Left Front Door Ajar Switch Signal

20

TN

294

Door Lock Actuator Unlock Control

20

PU

294

Door Lock Actuator Unlock Control

21

BK/WH

651

Ground

21

OG

651

Ground

22

--

--

Not Used

22

--

--

Not Used

23

BK/WH

651

Ground

23

GY

651

Ground

24

--

--

Not Used

24

TN

694

Driver Door Lock Actuator Unlock Control

25

L-BU

166

Power Window Master Switch Right Front Up Signal

25

D-BU

166

Power Window Master Switch Right Front Up Signal

26

TN

167

Power Window Master Switch Right Front Down Signal

26

BN

167

Power Window Master Switch Right Front Down Signal

27-28

--

--

Not Used

27-28

--

--

Not Used

C700 Body Harness to the Left Rear Door Harness


Object Number: 1413062  Size: CH

Object Number: 1415172  Size: CH

Connector Part Information

  • OEM: 7123-1413
  • Service: 88988485
  • Description: 21-Way F (WH)

Connector Part Information

  • OEM: 7122-1413
  • Service: See Catalog
  • Description: 21-Way M 0.070 Series (WH)

Terminal Part Information

  • Pins: A1, A2, A3
  • Terminal/Tray: 7116-1050/27
  • Core/Insulation Crimp: See Terminal Repair Kit
  • Release Tool/Test Probe: 12094430/J-35616-4A (PU)
  • Pins: B8, C2, C3, C8, B5, C6
  • Terminal/Tray: 173630-7/7
  • Core/Insulation Crimp: Pins: B8, C2, C3, C8 : E/A
  • Core/Insulation Crimp: Pins: B5, C6 : E/4
  • Release Tool/Test Probe: 15315247/J-35616-33 (YE)

Terminal Part Information

  • Terminal/Tray: See Terminal Repair Kit
  • Core/Insulation Crimp: See Terminal Repair Kit
  • Release Tool/Test Probe: See Terminal Repair Kit

C700 Body Harness to the Left Rear Door Harness

Pin

Wire Color

Circuit No.

Function

Pin

Wire Color

Circuit No.

Function

A1

D-GN

168

Power Window Master Switch Left Rear Up Signal

A1

D-GN

168

Power Window Master Switch Left Rear Up Signal

A2

PU

169

Power Window Master Switch Left Rear Down Signal

A2

PU

169

Power Window Master Switch Left Rear Down Signal

A3

D-BU

1307

Power Window Master Switch Lockout Signal

A3

D-BU

1307

Power Window Master Switch Lockout Signal

B1-B4

--

--

Not Used

B1-B4

--

--

Not Used

B5

TN/WH

746

Right Front Door Ajar Switch Signal

B5

RD/BK

746

Right Front Door Ajar Switch Signal

B6

GY

295

Door Lock Actuator Lock Control

B6

BK

295

Door Lock Actuator Lock Control

B7

--

--

Not Used

B7

--

--

Not Used

B8

--

--

Not Used

B8

GY

295

Door Lock Actuator Lock Control

B9

--

--

Not Used

B9

--

--

Not Used

C1

--

--

Not Used

C1

--

--

Not Used

C2

YE

116

Left Rear Speaker Output (-)

C2

BN

116

Left Rear Speaker Output (-)

C3

BN

199

Left Rear Speaker Output (+)

C3

YE

199

Left Rear Speaker Output (+)

C4

--

--

Not Used

C4

--

--

Not Used

C5

--

--

Not Used

C5

PU

294

Door Lock Actuator Unlock Control

C6

BK/WH

651

Ground

C6

BK

651

Ground

C7

--

--

Not Used

C7

--

--

Not Used

C8

TN

294

Door Lock Actuator Unlock Control

C8

TN

294

Door Lock Actuator Unlock Control

C9

--

--

Not Used

C9

--

--

Not Used

C800 Body Harness to the Right Rear Door Harness


Object Number: 1413062  Size: CH

Object Number: 1415172  Size: CH

Connector Part Information

  • OEM: 7123-1413
  • Service: 88988485
  • Description: 21-Way F (WH)

Connector Part Information

  • OEM: 7122-1413
  • Service: See Catalog
  • Description: 21-Way M 0.070 Series (WH)

Terminal Part Information

  • Pins: A1, A2, A3
  • Terminal/Tray: 7116-1050/27
  • Core/Insulation Crimp: See Terminal Repair Kit
  • Release Tool/Test Probe: 12094430/J-35616-4A (PU)
  • Pins: C2, C3, C6, C5, B6, B8,
  • Terminal/Tray: 173630-7/7
  • Core/Insulation Crimp: Pins: C2, C3, C6, C5 : E/A
  • Core/Insulation Crimp: Pins: B6, B8 : E/4
  • Core/Insulation Crimp: Pins:
  • Release Tool/Test Probe: 15315247/J-35616-33 (YE)

Terminal Part Information

  • Terminal/Tray: See Terminal Repair Kit
  • Core/Insulation Crimp: See Terminal Repair Kit
  • Release Tool/Test Probe: See Terminal Repair Kit

C800 Body Harness to the Right Rear Door Harness

Pin

Wire Color

Circuit No.

Function

Pin

Wire Color

Circuit No.

Function

A1

L-GN

170

Power Window Master Switch Right Rear Up Signal

A1

D-GN

170

Power Window Master Switch Right Rear Up Signal

A2

PU

171

Power Window Master Switch Right Rear Down Signal

A2

PU

171

Power Window Master Switch Right Rear Down Signal

A3

D-BU

1307

Power Window Master Switch Lockout Signal

A3

D-BU

1307

Power Window Master Switch Lockout Signal

B1-B4

--

--

Not Used

B1-B4

--

--

Not Used

B5

--

--

Not Used

B5

RD/BK

746

Right Front Door Ajar Switch Signal

B6

TN/WH

746

Right Front Door Ajar Switch Signal

B6

BK

746

Right Front Door Ajar Switch Signal

B7

--

--

Not Used

B7

--

--

Not Used

B8

BK/WH

651

Ground

B8

GY

651

Ground

B9

--

--

Not Used

B9

--

--

Not Used

C1

--

--

Not Used

C1

--

--

Not Used

C2

L-BU

115

Right Rear Speaker Output (-)

C2

BN

115

Right Rear Speaker Output (-)

C3

D-BU

46

Right Rear Speaker Output (+)

C3

YE

46

Right Rear Speaker Output (+)

C4

--

--

Not Used

C4

--

--

Not Used

C5

TN

294

Door Lock Actuator Unlock Control

C5

PU

294

Door Lock Actuator Unlock Control

C6

GY

295

Door Lock Actuator Lock Control

C6

BK

295

Door Lock Actuator Lock Control

C7

--

--

Not Used

C7

--

--

Not Used

C8

--

--

Not Used

C8

TN

294

Door Lock Actuator Unlock Control

C9

--

--

Not Used

C9

--

--

Not Used

C902 Liftgate Jumper to Liftgate Harness


Object Number: 1883553  Size: CH

Object Number: 1883554  Size: CH

Connector Part Information

  • OEM: 7283-1262
  • Service: See Catalog
  • Description: 6-Way F 090 II Series (NA)

Connector Part Information

  • OEM: 7282-1264
  • Service: See Catalog
  • Description: 6-Way M 2.8 (WH)

Terminal Part Information

  • Pins: 3
  • Terminal/Tray: 7116-4020/11
  • Core/Insulation Crimp: E/C
  • Release Tool/Test Probe: 15315247/J-35616-18 (BK)
  • Pins: 1, 5, 6
  • Terminal/Tray: 7116-4021/11
  • Core/Insulation Crimp: 2/A
  • Release Tool/Test Probe: 15315247/J-35616-18 (BK)
  • Pins: 4
  • Terminal/Tray: 7116-4022/11
  • Core/Insulation Crimp: 4/A
  • Release Tool/Test Probe: 15315247/J-35616-18 (BK)

Terminal Part Information

  • Pins: 1, 5, 6
  • Terminal/Tray: 7114-4021/10
  • Core/Insulation Crimp: 2/A
  • Release Tool/Test Probe: 15315247/J-35616-19 (BK)
  • Pins: 3
  • Terminal/Tray: 7114-4020/10
  • Core/Insulation Crimp: E/C
  • Release Tool/Test Probe: 15315247/J-35616-19 (BK)
  • Pins: 4
  • Terminal/Tray: 7114-4022/10
  • Core/Insulation Crimp: 4/A
  • Release Tool/Test Probe: 15315247/J-35616-19 (BK)

C902 Liftgate Jumper to Liftgate Harness

Pin

Wire Color

Circuit No.

Function

Pin

Wire Color

Circuit No.

Function

1

BK

550

Ground

1

BK

550

Ground

2

--

--

Not Used

2

--

--

Not Used

3

L-BU

6128

Rear Closure Unlatch Motor Unlatch Control

3

L-BU

6128

Rear Closure Unlatch Motor Unlatch Control

4

PU

293

Rear Defog Element Supply Voltage

4

PU

293

Rear Defog Element Supply Voltage

5

BK

550

Ground

5

BK

550

Ground

6

RD/WH

2140

Battery Positive Voltage

6

RD/WH

2140

Battery Positive Voltage

C906 Liftgate Jumper to Liftgate Harness


Object Number: 1849813  Size: CH

Object Number: 1849811  Size: CH

Connector Part Information

  • OEM: 7283-6387-30
  • Service: See Catalog
  • Description: 6-Way F 0.64 Series (BK)

Connector Part Information

  • OEM: 7282-6561-30
  • Service: See Catalog
  • Description: 6-Way M 0.64 Series (BK)

Terminal Part Information

  • Pins: 1, 4, 2, 3, 5, 6
  • Terminal/Tray: 7116-4720-02/14
  • Core/Insulation Crimp: Pins: 1, 4 : J/J
  • Core/Insulation Crimp: Pins: 2, 3, 5, 6 : H/H
  • Release Tool/Test Probe: 15315247/J-35616-64B (L-BU)

Terminal Part Information

  • Pins: 1, 4
  • Terminal/Tray: 7114-4721-02/14
  • Core/Insulation Crimp: See Terminal Repair Kit
  • Release Tool/Test Probe: 15315247/J-35616-65B (L-BU)
  • Pins: 2, 3, 5, 6
  • Terminal/Tray: 7114-4720-08/14
  • Core/Insulation Crimp: J/J
  • Release Tool/Test Probe: 15315247/J-35616-65B (L-BU)

C906 Liftgate Jumper to Liftgate Harness

Pin

Wire Color

Circuit No.

Function

Pin

Wire Color

Circuit No.

Function

1

PK/BK

1303

Liftgate Ajar Switch Signal

1

PK/BK

1303

Liftgate Ajar Switch Signal

2

BN/WH

309

Right Park Lamp Supply Voltage

2

BN/WH

309

Right Park Lamp Supply Voltage

3

GY

391

Rear Window Wiper Switch Signal

3

GY

391

Rear Window Wiper Switch Signal

4

YE

243

Accessory Voltage

4

YE

243

Accessory Voltage

5

L-GN

2270

Rear Window Washer Relay Control

5

L-GN

2270

Rear Window Washer Relay Control

6

GY

5797

Rear Closure Handle Switch Open Signal

6

GY

5797

Rear Closure Handle Switch Open Signal

C907 License Lamp Harness to the Liftgate Harness


Object Number: 1413061  Size: CH

Object Number: 1413066  Size: CH

Connector Part Information

  • OEM: 7123-1520
  • Service: 88988450
  • Description: 2-Way F 090 Series (NA)

Connector Part Information

  • OEM: 7122-1520
  • Service: 88988464
  • Description: 2-Way M 090 Unsealed (NA)

Terminal Part Information

  • Terminal/Tray: See Terminal Repair Kit
  • Core/Insulation Crimp: See Terminal Repair Kit
  • Release Tool/Test Probe: See Terminal Repair Kit

Terminal Part Information

  • Pins: 1, 2
  • Terminal/Tray: 7114-1170/11
  • Core/Insulation Crimp: Pins: 1 : E/C
  • Core/Insulation Crimp: Pins: 2 : See Terminal Repair Kit
  • Release Tool/Test Probe: 15315247/J-35616-19 (BK)

C907 License Lamp Harness to the Liftgate Harness

Pin

Wire Color

Circuit No.

Function

Pin

Wire Color

Circuit No.

Function

1

BN

9

Park Lamp Supply Voltage

1

BN/WH

309

Right Park Lamp Supply Voltage

2

BK

750

Ground

2

BK

550

Ground

C908 License Lamp Harness to the Liftgate Harness


Object Number: 1413061  Size: CH

Object Number: 1413066  Size: CH

Connector Part Information

  • OEM: 7123-1520
  • Service: 88988450
  • Description: 2-Way F .090 Series (NA)

Connector Part Information

  • OEM: 7122-1520
  • Service: 88988464
  • Description: 2-Way M 090 Unsealed (NA)

Terminal Part Information

  • Terminal/Tray: See Terminal Repair Kit
  • Core/Insulation Crimp: See Terminal Repair Kit
  • Release Tool/Test Probe: See Terminal Repair Kit

Terminal Part Information

  • Pins: 1, 2
  • Terminal/Tray: 7114-1170/11
  • Core/Insulation Crimp: Pins: 1 : E/C
  • Core/Insulation Crimp: Pins: 2 : See Terminal Repair Kit
  • Release Tool/Test Probe: 15315247/J-35616-19 (BK)

C908 License Lamp Harness to the Liftgate Harness

Pin

Wire Color

Circuit No.

Function

Pin

Wire Color

Circuit No.

Function

1

BN

9

Park Lamp Supply Voltage

1

BN/WH

309

Right Park Lamp Supply Voltage

2

BK

750

Ground

2

BK

550

Ground

C911 CHMSL Jumper Harness to the CHMSL Harness


Object Number: 1856792  Size: CH

Object Number: 1853532  Size: CH

Connector Part Information

  • OEM: 7283-6443-40
  • Service: See Catalog
  • Description: 2-Way F Receptacle 1.5 Series Unsealed (GY)

Connector Part Information

  • OEM: 7282-6443-40
  • Service: See Catalog
  • Description: 2-Way M 1.5 Series Unsealed (GY)

Terminal Part Information

  • Terminal/Tray: 7116-4100-08/9
  • Core/Insulation Crimp: E/C
  • Release Tool/Test Probe: 12094430/J-35616-2A (GY)

Terminal Part Information

  • Terminal/Tray: 7114-4100-08/9
  • Core/Insulation Crimp: E/C
  • Release Tool/Test Probe: 15315247/J-35616-3 (GY)

C911 CHMSL Jumper Harness to the CHMSL Harness

Pin

Wire Color

Circuit No.

Function

Pin

Wire Color

Circuit No.

Function

1

L-BU

1320

CHMSL Supply Voltage/Stop Lamp Supply Voltage

1

L-BU

1320

CHMSL Supply Voltage/Stop Lamp Supply Voltage

2

BK

850

Ground

2

BK

850

Ground