GM Service Manual Online
For 1990-2009 cars only
Figure 1:

Upper Intake Manifold and Components


Object Number: 1834794  Size: LF
(1)Throttle Body Bolt
(2)Throttle Body
(3)EVAP Purge Valve Bolt
(4)Throttle Body Seal
(5)EVAP Purge Valve
(6)EVAP Purge Valve Seal
(7)Upper Intake Manifold Stud
(8)MAP Sensor Bolt
(9)MAP Sensor Seal
(10)MAP Sensor Clip
(11)MAP Sensor
(12)Upper Intake Manifold Bolt
(13)Spark Plug Wire Support
(14)Exhaust Gas Recirculation Valve
(15)Exhaust Crossover Pipe Stud
(16)Exhaust Crossover Pipe Nut
(17)Exhaust Crossover Pipe
(18)Exhaust Gas Recirculation Valve Pipe Bolt
(19)Exhaust Gas Recirculation Valve Pipe Bolt
(20)Positive Crankcase Ventilation Tube Clip
(21)Positive Crankcase Ventilation Tube Clip Bolt
(22)Positive Crankcase Ventilation Tube
(23)Oil Filler Cap
(24)Oil Filler Cap Seal
(25)Valve Rocker Arm Cover
(26)Valve Rocker Arm Cover Gasket
(27)Heater Outlet Pipe Seal
(28)Heater Outlet Pipe Bolt
(29)Heater Outlet Pipe Clamp
(30)Heater Outlet Hose
(31)Heater Outlet Pipe Nut
(32)Heater Outlet Pipe
(33)Heater Outlet Pipe Nut
(34)Heater Outlet Pipe Bolt
(35)Heater Outlet Pipe Clamp
(36)Heater Outlet Hose
(37)Heater Outlet Pipe Clamp
(38)Thermostat Bypass Pipe Adapter
(39)Exhaust Gas Recirculation Valve Gasket
(40)Exhaust Gas Recirculation Valve Pipe
(41)Exhaust Gas Recirculation Valve Bolt
(42)Upper Intake Manifold Gasket
(43)Exhaust Gas Recirculation Valve Gasket
(44)Upper Intake Manifold
(45)Throttle Body Stud
(46)Ignition Coil
(47)Ignition Coil Stud
(48)Ignition Coil Bracket Nut
(49)Ignition Coil Bolt
Figure 2:

Lower Intake Manifold, Cylinder Head and Components


Object Number: 1834796  Size: LF
(1)Positive Crankcase Ventilation Tube Nut
(2)Spark Plug Wire Harness
(3)Spark Plug Wire Harness
(4)Spark Plug Wire Support
(5)Lower Intake Manifold Bolt
(6)Lower Intake Manifold Bolt
(7)Fuel Injector Seal
(8)Sequential Multiport Fuel Injection Fuel Rail Bolt
(9)Fuel Service Port Cap
(10)Fuel Schrader Valve
(11)Sequential Multiport Fuel Injection Fuel Rail
(12)Fuel Injector Seal
(13)Fuel Injector Retaining Ring
(14)Sequential Multiport Fuel Injector
(15)Lower Intake Manifold
(16)Engine Coolant Thermostat Seal
(17)Water Outlet Housing
(18)Water Outlet Housing Bolt
(19)Water Outlet Housing Fitting
(20)Valve Rocker Arm Bolt
(21)Valve Rocker Arm
(22)Valve Push Rod
(23)Valve Push Rod
(24)Lower Intake Manifold Gasket
(25)Engine Coolant Thermostat
(26)Valve Stem Key
(27)Valve Stem Key
(28)Valve Spring Cap
(29)Cylinder Head Bolt
(30)Cylinder Head Bolt
(31)Valve Spring
(32)Valve Stem Oil Seal
(33)Valve Guide
(34)Engine Lift Rear Bracket
(35)Engine Lift Rear Bracket Bolt
(36)Spark Plug
(37)Exhaust Valve Seat
(38)Exhaust Valve
(39)Exhaust Manifold Gasket
(40)Exhaust Manifold
(41)Exhaust Manifold Heat Shield
(42)Exhaust Manifold Heat Shield Bolt
(43)Exhaust Manifold Nut
(44)Exhaust Manifold Stud
(45)Cylinder Head Location Pin
(46)Cylinder Head Gasket
(47)Intake Valve
(48)Intake Valve Seat
(49)Cylinder Head Core Hole Plug
(50)Cylinder Head
(51)Valve Guide
(52)Valve Stem Oil Seal
(53)Valve Spring
(54)Valve Spring Cap
(55)Valve Rocker Arm Cover
(56)Valve Rocker Arm Cover Bolt
(57)Valve Rocker Arm Cover Bolt Grommet
(58)Lower Intake Manifold Seal
(59)Heater Inlet Pipe
(60)Heater Inlet Pipe Nut
(61)Heater Inlet Pipe Seal
(62)Engine Coolant Temperature Sensor
(63)Cylinder Head
(64)Cylinder Head Gasket
(65)Engine Lift Front Bracket
(66)Generator Bracket Bolt
(67)Generator Bracket Bolt
(68)Drive Belt Tensioner Bolt
(69)Drive Belt Tensioner
(70)Generator Bracket
(71)Generator Bracket Bolt
(72)Cylinder Head Core Hole Plug
(73)Heater Inlet Pipe Stud
(74)Valve Rocker Arm Cover Gasket
(75)Exhaust Manifold Gasket
(76)Exhaust Manifold Heat Shield
(77)Exhaust Manifold
(78)Exhaust Manifold Heat Shield Bolt
(79)Exhaust Manifold Heat Shield
(80)Oxygen Sensor
(81)Positive Crankcase Ventilation Tube
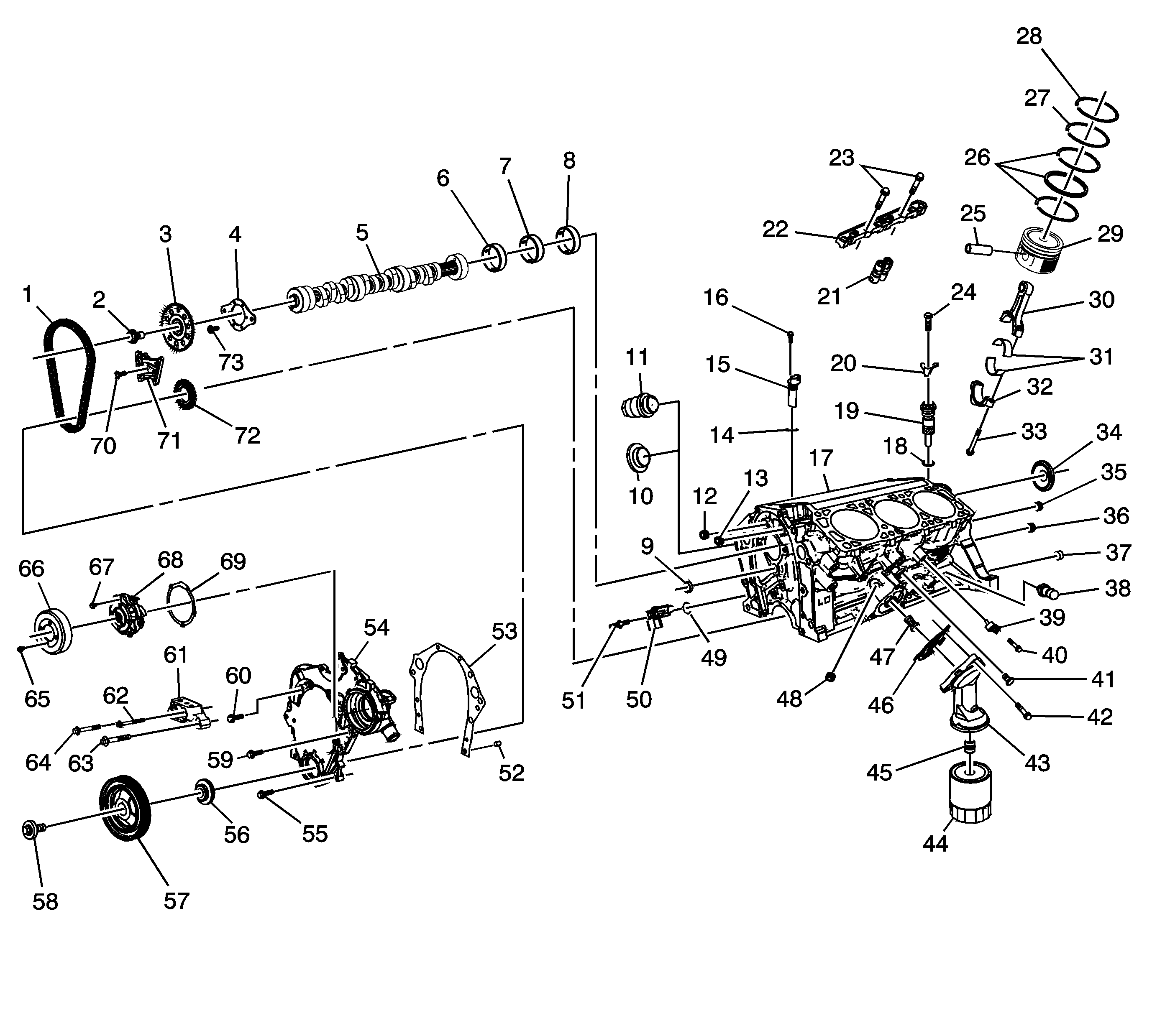
Figure 3:

Engine Block and Components


Object Number: 1834799  Size: LF
(1)Timing Chain
(2)Camshaft Sprocket Bolt
(3)Camshaft Sprocket
(4)Camshaft Thrust Plate
(5)Camshaft
(6)Camshaft Bearing
(7)Camshaft Bearing
(8) Camshaft Bearing
(9)Engine Block Oil Gallery Plug
(10)Engine Block Coolant Hole Plug
(11)Engine Block Heater
(12)Engine Block Oil Gallery Plug
(13)Engine Block Oil Gallery Plug
(14)Camshaft Sensor Seal
(15)Camshaft Position Sensor
(16)Camshaft Position Sensor Bolt
(17)Engine Block
(18)Oil Pump Drive Seal
(19)Oil Pump Drive
(20)Oil Pump Drive Clamp
(21)Valve Lifter
(22)Valve Lifter Guide
(23)Valve Lifter Guide Bolt
(24)Oil Pump Drive Clamp Bolt
(25)Piston Pin
(26)Piston Oil Ring Rail
(27)Piston Compression Lower Ring
(28)Piston Compression Upper Ring
(29)Piston
(30)Connecting Rod
(31)Connecting Rod Bearing
(32)Connecting Rod Bearing Cap
(33)Connecting Rod Bolt
(34)Camshaft Rear Bearing Hole Plug
(35)Engine Block Oil Gallery Plug
(36)Engine Block Oil Gallery Plug
(37)Transmission Locating Pin
(38)Engine Oil Pressure Indicator Switch
(39)Knock Sensor
(40)Knock Sensor Bolt
(41)Engine Block Coolant Drain Hole Plug
(42)Engine Oil Filter Adapter Bolt
(43)Engine Oil Filter Adapter
(44)Engine Oil Filter
(45)Engine Oil Filter Fitting
(46)Engine Oil Filter Adapter Gasket
(47)Engine Oil Filter Bypass Valve
(48)Engine Oil Filter Bypass Hole Plug
(49)Crankshaft Position Sensor Seal
(50)Crankshaft Position Sensor
(51)Crankshaft Position Sensor Stud
(52)Engine Front Cover Location Pin
(53)Engine Front Cover Gasket
(54)Engine Front Cover
(55)Engine Front Cover Bolt
(56)Crankshaft Front Oil Seal
(57)Crankshaft Balancer
(58)Crankshaft Balancer Bolt
(59)Engine Front Cover Bolt
(60)Engine Front Cover Bolt
(61)Engine Mount Insulator
(62)Engine Mount Insulator Bolt
(63)Engine Mount Insulator Bolt
(64)Engine Mount Insulator Bolt
(65)Water Pump Pulley Bolt
(66)Water Pump Pulley
(67)Water Pump Bolt
(68)Water Pump
(69)Water Pump Gasket
(70)Timing Chain Dampener Bolt
(71)Timing Chain Dampener
(72)Crankshaft Sprocket
(73)Camshaft Thrust Bearing Bolt
Figure 4:

Crankshaft and Components


Object Number: 1834803  Size: LF
(1)Crankshaft Balancer Key
(2)Crankshaft Upper No. 1 and 4 Bearing
(3)Crankshaft Upper No. 2 Bearing
(4)Crankshaft Upper No. 3 Bearing
(5)Flywheel Bolt
(6)Flywheel
(7)Crankshaft Rear Oil Seal
(8)Crankshaft Lower No. 3 Bearing
(9)Crankshaft No. 4 Bearing Cap
(10)Crankshaft No. 2 and 3 Bearing Cap
(11)Oil Pump Location Pin
(12)Crankshaft Bearing Cap Bolt
(13)Oil Pump Drive Shaft
(14)Oil Pump
(15)Oil Pan
(16)Oil Pump Bolt
(17)Oil Level Indicator Tube Bolt
(18)Oil Level Indicator Tube
(19)Oil Level Indicator Tube Seal
(20)Oil Pan Support Bracket Bolt
(21)Oil Pan Support Bracket
(22)Oil Level Indicator
(23)Oil Pan Bolt
(24)A/C Compressor Mounting Bracket Bolt
(25)A/C Compressor Mounting Bracket
(26)Oil Pan Bolt
(27)Oil Pan Drain Plug Seal
(28)Oil Pan Drain Plug
(29)Oil Pan Support Bracket
(30)Oil Pan Support Bracket Bolt
(31)Oil Pan Gasket
(32)Crankshaft Oil Deflector Nut
(33)Crankshaft Oil Deflector
(34)Crankshaft Bearing Cap Stud
(35)Crankshaft No. 1 Bearing Cap
(36)Crankshaft Lower No. 1 and 4 Bearing
(37)Crankshaft Lower No. 2 Bearing
(38)Crankshaft