GM Service Manual Online
For 1990-2009 cars only

Object Number: 1715252  Size: SF

Callout

Component Name

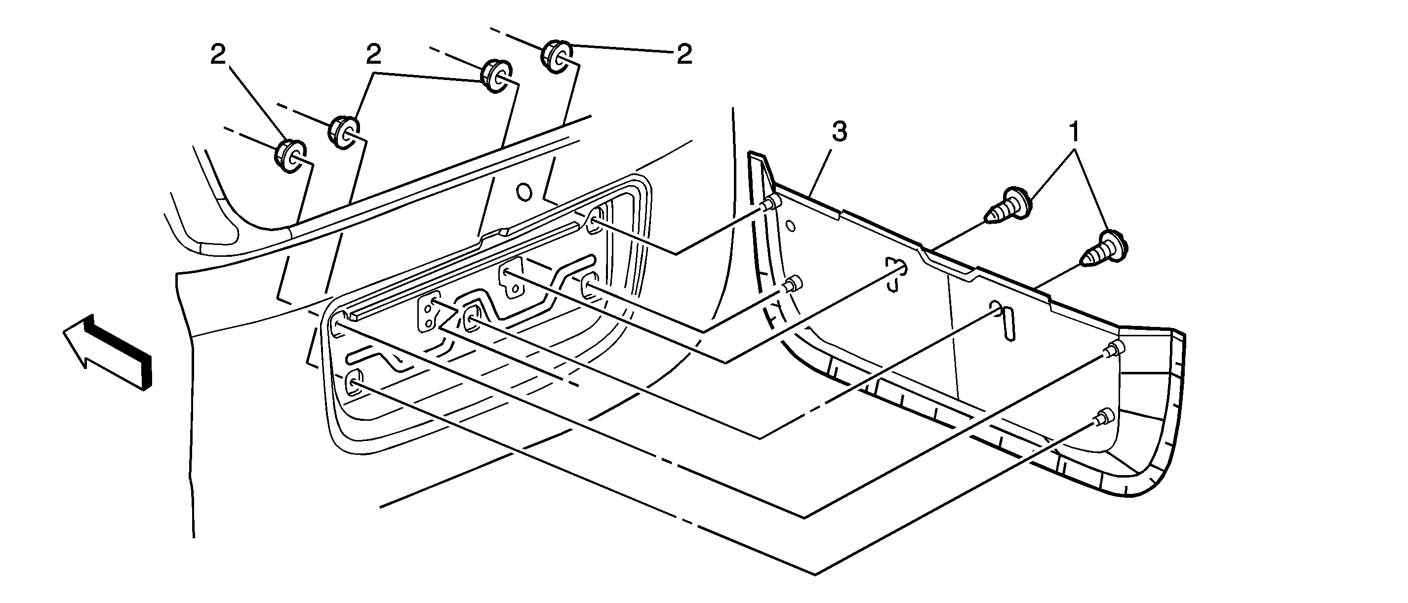
Preliminary Procedure

Remove the liftgate interior trim panel. Refer to Liftgate Trim Panel Replacement.

1

License Plate Pocket Screw (Qty: 2)

Caution: Refer to Fastener Caution in the Preface section.

Tighten
2 N·m (18 lb in)

2

License Plate Pocket Nut (Qty: 4)

Tighten
2 N·m (18 lb in)

3

License Plate Pocket Assembly