GM Service Manual Online
For 1990-2009 cars only

Object Number: 36212  Size: LF
Engine Controls Components
MAF, EVAP, EGR
OBD II Symbol Description Notice
Handling ESD Sensitive Parts Notice

Circuit Description

Canister purge is controlled by an EVAP purge valve that allows manifold vacuum to purge the canister. The Powertrain Control Module (PCM) supplies a ground to energize the EVAP purge valve (purge ON ). The EVAP purge valve control is Pulse Width Modulated (PWM) or turned ON and OFF several times a second. The PCM controlled PWM output is commanded when the following conditions have been met:

    • Engine coolant temperature above 60°C (140°F).
    • After the engine has been running about 3 minutes on a cold start or 20 seconds on a warm start.

Canister purge PWM duty cycle varys according to operating conditions determined by mass air flow, fuel trim, and intake air temperature.

Canister purge operation is also affected by throttle position.

    • VIN 1 -- Canister purge will be disabled if TP angle increases to above 33 percent. Canister purge will be re-enabled when TP angle decreases below 29 percent.
    • VIN K -- Canister purge will be disabled if TP angle increases to above 70 percent. Canister purge will be re-enabled when TP angle decreases below 66 percent.

The EVAP vacuum switch is a normally closed switch positioned in the purge line between the canister and the EVAP purge valve. The EVAP vacuum switch will open when vacuum increases to greater than 5 inches of water (in H2O) in the purge line. The PCM monitors the EVAP vacuum switch signal to determine if the evaporative emission control system is working properly. If the switch is open (purge flow detected) when the PCM is not commanding the EVAP purge valve ON, DTC P1441 will be set.

Conditions for Setting the DTC

    • No TP sensor, IAT sensor, MAP sensor, ECT sensor, or MAF sensor DTCs set.
    • BARO reading is greater than 70 kPa.
    • Engine Coolant Temperature is less than 114°C (237°F).
    • Intake Air Temperature (IAT) sensor indicates an ambient temperature between 10°C (50°F) and 70°C (158°F).
    • The difference between ECT and IAT is less than 10°C (18°F).
    • Throttle angle is between 2.5% and 55%.
    • Engine speed is between 550 rpm and 5000 rpm.
    • EVAP Purge PWM is below 3%.
    • EVAP purge vacuum switch is open.
    • Above conditions for longer than 4 seconds.

Action Taken When the DTC Sets

    • The PCM will illuminate the malfunction indicator lamp (MIL) during the second consecutive trip in which the diagnostic test has been run and failed.
    • The PCM will store conditions which were present when the DTC set as Freeze Frame and Failure Records data.

Conditions for Clearing the MIL/DTC

    • The PCM will turn OFF the MIL during the third consecutive trip in which the diagnostic has been run and passed.
    • The History DTC will clear after 40 consecutive warm-up cycles have occurred without a malfunction.
    • The DTC can be cleared by using the scan tool.

Diagnostic Aids

Check for the following conditions:

    • Poor connection at PCM. Inspect harness connectors for backed out terminals, improper mating, broken locks, improperly formed or damaged terminals, and poor terminal to wire connection.
    • Damaged harness. Inspect the wiring harness for damage. If the harness appears to be OK, observe the EVAP vacuum switch display on the scan tool while moving connectors and wiring harnesses related to the switch. A change in the display will indicate the location of the fault.
    • Incorrect vacuum hose routing. Verify that the vacuum hose routing to the canister purge vacuum switch and the canister purge solenoid is correct and that the vacuum hoses at the canister purge solenoid are not switched. Refer to Evaporative Emission Control System .
    • Restricted fuel vapor line, purge hose, canister vent, or blocked canister. A condition that causes the EVAP system to trap vacuum can keep the EVAP vacuum switch open , causing DTC P1441 to be set.
    • Faulty or damaged canister. A faulty canister may intermittenly allow charcoal into the EVAP purge solenoid, vacuum switch, and associated lines causing a DTC to be set.

Reviewing the Fail Records vehicle mileage since the diagnostic test last failed may help determine how often the condition that caused the DTC to be set occurs. This may assist in diagnosing the condition.

Test Description

Number(s) below refer to the step number(s) on the Diagnostic Table.

  1. The canister purge vacuum switch is normally closed when no vacuum is present. With the ignition switch ON and the engine not running, there should not be any vacuum applied to the EVAP system.

  2. Determines if the PCM is able to control the EVAP purge solenoid valve.

  3. Determines if the DTC will set under the conditions present when the DTC was originally stored. If not, the fault is intermittent.

  4. Checks for a grounded EVAP purge solenoid driver circuit, a faulty EVAP vacuum switch, or a leaking EVAP purge solenoid valve.

  5. Checks for an open EVAP vacuum switch.

  6. This vehicle is equipped with a PCM which utilizes an Electrically Erasable Programmable Read Only Memory (EEPROM). When the PCM is being replaced, the new PCM must be programmed.

DTC P1441 - EVAP System Flow During Non-Purge

Step

Action

Value(s)

Yes

No

1

Was the Powertrain On-Board Diagnostic (OBD) System Check performed?

--

Go to Step 2

Go to the A Powertrain On Board Diagnostic (OBD) System Check

2

  1. Turn ON the ignition switch.
  2. Observe the EVAP Vacuum Sw. display on the scan tool.

Does EVAP Vacuum Sw. display No Purge?

--

Go to Step 3

Go to Step 12

3

  1. Engine idling.
  2. Observe the EVAP Vacuum Sw. display while commanding the EVAP purge solenoid OFF with the scan tool.

Does EVAP Vacuum Sw. display No Purge with the EVAP purge solenoid commanded OFF?

--

Go to Step 4

Go to Step 5

4

  1. Review and record scan tool Fail Records data.
  2. Operate the vehicle within Fail Records conditions as noted.
  3. Using a scan tool, monitor Status This Ign for DTC P1441.

Does the scan tool indicate DTC P1441 failed?

--

Go to Step 5

Refer to DTC P1441 Diagnostic Aids

5

  1. Disconnect the EVAP purge solenoid electrical connector.
  2. Engine idling, observe EVAP Vacuum Sw. display on the scan tool.

Does EVAP Vacuum Sw. display No Purge?

--

Go to Step 6

Go to Step 7

6

  1. Turn OFF the ignition switch, disconnect the PCM.
  2. Check the EVAP canister purge solenoid driver circuit for a short to ground.
  3. If a problem is found, locate and repair the short to ground as necessary Refer to Wiring Repair in Electrical Diagnosis.

Was a problem found?

--

Go to Step 17

Go to Step 16

7

  1. Leave the EVAP purge solenoid electrical connector disconnected.
  2. Disconnect the vacuum signal hose from the EVAP purge vacuum switch.
  3. Connect a in. H2O vacuum gauge to the vacuum signal hose.
  4. With the engine idling observe the vacuum reading at the vacuum signal hose.

Is the vacuum greater than the specified value?

5 in H2O

Go to Step 8

Go to Step 10

8

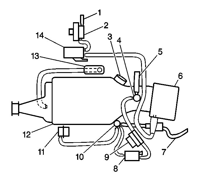
  1. Check for incorrect vacuum hose routing or switched vacuum lines at the EVAP purge solenoid.
  2. • Refer to
    Object Number: 15950  Size: SH
    (1)To EVAP Canister (At Rear of Vehicle)
    (2)EVAP Vacuum Switch
    (3)PCV Valve
    (4)To Accessory
    (5)To Vacuum Brake Booster
    (6)Throttle Body
    (7)To Transaxle
    (8)Supercharger Bypass Solenoid (Boost Control Solenoid)
    (9)Supercharger Bypass Actuator (Bypass Valve Actuator)
    (10)Manifold Vacuum Source
    (11)Fuel Pressure Regulator
    (12)Supercharger Assembly
    (13)MAP Sensor
    (14)EVAP Canister Purge Valve
    .
    • Refer to
    Object Number: 15873  Size: SH
    (1)To Vacuum Brake Booster
    (2)To Accessory
    (3)To EVAP Canister (At Rear of Vehicle)
    (4)Throttle Body
    (5)To Transaxle
    (6)EVAP Vacuum Switch
    (7)EVAP Canister Purge Valve
    (8)Fuel Pressure Regulator
    (9)PCV Valve
    (10)Intake Manifold
    .
  3. If a problem is found, repair as necessary.

Was a problem found?

--

Go to Step 17

Go to Step 9

9

Replace the EVAP purge solenoid. Go to EVAP Canister Purge Solenoid .

Is action complete?

--

Go to Step 17

--

10

  1. Check the EVAP purge hose for a restriction between the canister and the EVAP vacuum switch.
  2. If a problem is found, repair as necessary.

Was a problem found?

--

Go to Step 17

Go to Step 11

11

  1. Check the fuel tank vapor line for a restriction between the canister and the fuel tank.
  2. If a problem is found, repair as necessary.

Was a problem found?

--

Go to Step 17

Go to Step 15

12

  1. Disconnect the EVAP purge vacuum switch electrical connector.
  2. Connect a jumper between the EVAP purge vacuum switch harness connector terminals.
  3. Observe EVAP Vacuum Sw. display on the scan tool.

Does EVAP Vacuum Sw. display No Purge?

--

Go to Step 14

Go to Step 13

13

  1. Check for the following conditions:
  2. • Open or short to ground in the EVAP vacuum switch signal circuit between the EVAP vacuum switch and the PCM.
    • Open EVAP vacuum switch ignition feed circuit.
    • Poor EVAP vacuum switch signal circuit connection at the PCM.
  3. If a problem is found, repair it as necessary. Refer to Wiring Repair in Electrical Diagnosis.

Was a problem found?

--

Go to Step 17

Go to Step 16

14

  1. Check for a poor connection at the EVAP vacuum switch.
  2. If a problem is found, replace faulty terminal(s) as necessary. Refer to Wiring Repair in Electrical Diagnosis.

Was a problem found?

--

Go to Step 17

Go to Step 15

15

Replace the EVAP vacuum switch. Go to EVAP Vacuum Switch .

Is action complete?

--

Go to Step 17

--

16

Replace the PCM.

Important:: The replacement PCM must be programmed. Go to PCM Replacement/Programming .

Is action complete?

--

Go to Step 17

--

17

  1. Review and record scan tool Fail Records data.
  2. Clear DTCs.
  3. Operate the vehicle within Fail Records conditions as noted.
  4. Using a scan tool, monitor Specific DTC info for DTC P1441

Does the scan tool indicate DTC P1441 failed?

--

Go to Step 2

System OK