GM Service Manual Online
For 1990-2009 cars only

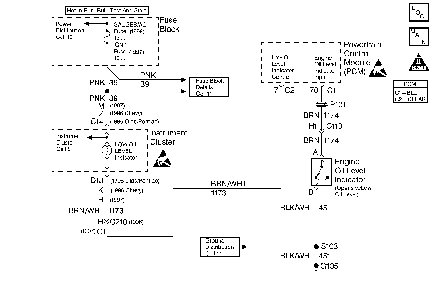
Object Number: 36200  Size: MF
Engine Controls Components
IAC, Gen Control, Trans Range
OBD II Symbol Description Notice
Handling ESD Sensitive Parts Notice
Handling ESD Sensitive Parts Notice

Circuit Description

Output Driver Modules (ODMs) are used by the PCM to turn ON many of the current-driven devices that are needed to control various engine and Transaxle functions. Each ODM is capable of controlling up to 7 separate outputs by applying ground to the device which the PCM is commanding ON.

Unlike the Quad Driver Modules (QDMs) used in prior model years, ODMs have the capability of diagnosing each output circuit individually. DTC P1672 set indicates an improper voltage level has been detected on ODM D output 2, which controls the Low Engine Oil Level Lamp.

Conditions for Setting the DTC

    • Ignition is ON.
    • An improper voltage level has been detected on ODM D output 2 (the low engine oil level lamp control circuit).
    • Above conditions for at least 30 seconds.

Action Taken When the DTC Sets

    • The PCM will not illuminate the MIL.
    • The PCM will store conditions which were present when the DTC set as Fail Records data only. This information will not be stored as Freeze Frame data.

Conditions for Clearing the MIL/DTC

    • A history DTC P1672 will clear after 40 consecutive warm-up cycles have occurred without a fault.
    • DTC P1672 can be cleared by using the scan tool Clear Info function or by disconnecting the PCM battery feed.

Diagnostic Aids

Check for the following conditions:

    • Poor connection at PCM. Inspect harness connectors for backed out terminals, improper mating, broken locks, improperly formed or damaged terminals, and poor terminal to wire connection.
    • Damaged harness. Inspect the wiring harness for damage. If the harness appears to be OK, disconnect the PCM, turn the ignition ON and observe a voltmeter connected to the low engine oil level lamp control circuit at the PCM harness connector while moving connectors and wiring harnesses related to the low engine oil level lamp control circuit. A change in voltage will indicate the location of the fault.

Reviewing the Fail Records vehicle mileage since the diagnostic test last failed may help determine how often the condition that caused the DTC to be set occurs. This may assist in diagnosing the condition.

Test Description

Number(s) below refer to the step number(s) on the Diagnostic Chart.

  1. Normally, ignition feed voltage should be present on the output driver circuit with the PCM disconnected and the ignition turned ON.

  2. Checks for a shorted component or a short to B+ on the output driver circuit. Either condition would result in a measured current of over 1.5 amps. Also checks for a component that is going open while being operated, resulting in a measured current of 0 amps.

  3. Checks for a faulty low engine oil level lamp bulb.

  4. This vehicle is equipped with a PCM which utilizes an Electrically Erasable Programmable Read Only Memory (EEPROM). When the PCM is being replaced, the new PCM must be programmed.

DTC P1672 - Low Engine Oil Level Lamp Control Circuit

Step

Action

Value(s)

Yes

No

1

Was the Powertrain On-Diagnostic System Check performed?

--

Go to Step 2

Go to the Powertrain On Board Diagnostic (OBD) System Check

2

  1. Turn OFF the ignition switch, disconnect the PCM.
  2. Turn ON the ignition switch.
  3. Using J 39200 Digital Voltmeter (DVM), measure voltage between the low engine oil level lamp control circuit at the PCM harness connector and ground.

Is voltage near the specified value?

B+

Go to Step 3

Go to Step 6

3

  1. Set J 39200 DVM to measure 10 amp range.
  2. Measure current between the low engine oil level lamp control circuit and ground.
  3. Monitor the current reading on the DVM for at least 2 minutes.

Does the current reading remain between the specified values?

0.05 Amp-1.5 Amps

Go to Step 11

Go to Step 4

4

  1. Turn OFF the ignition switch, disconnect the instrument panel (leave the PCM disconnected).
  2. Turn ON the ignition switch.
  3. Using J 39200 DVM, measure voltage between the low engine oil level lamp control circuit and ground.

Is voltage at the specified value?

0V

Go to Step 10

Go to Step 5

5

Locate and repair short to voltage in the low engine oil level lamp control circuit. Refer to Repair Procedures in Electrical Diagnosis.

Is action complete?

--

Go to Step 15

--

6

Check the ignition feed fuse for the instrument panel indicators.

Is the fuse blown?

--

Go to Step 7

Go to Step 8

7

  1. Locate and repair short to ground in ignition feed circuit for the instrument panel indicators. Refer to Fuse Block Details in Electrical Diagnosis.
  2. Replace fuse.

Is action complete?

--

Go to Step 15

--

8

  1. Disconnect the instrument cluster.
  2. Turn ON the ignition switch, measure voltage between the ignition feed circuit for the instrument cluster indicators and ground.

Is voltage near the specified value?

B+

Go to Step 9

Go to Step 13

9

  1. Check the low engine oil level lamp control circuit for an open or a short to ground.
  2. If a problem is found, repair the low engine oil level lamp control circuit. Refer to Repair Procedures in Electrical Diagnosis.

Was a problem found?

--

Go to Step 15

Go to Step 10

10

  1. Check the low engine oil level lamp control circuit and the instrument panel indicators ignition feed circuit for a poor connection at the instrument panel and at the PCM.
  2. If a problem is found, replace faulty terminal(s). Refer to Repair Procedures in Electrical Diagnosis.

Was a problem found?

--

Go to Step 15

Go to Instrument Panel in Electrical Diagnosis

11

  1. Turn OFF the ignition switch, reconnect the PCM and disconnect the instrument cluster.
  2. Turn ON the ignition switch, connect J 35616-200 test light between the low engine oil level lamp control circuit and the ignition feed circuit at the instrument panel harness connector.
  3. Using the scan tool outputs test function, cycle the low engine oil level lamp ON and OFF.

Does the test light flash ON and OFF?

--

Refer to Diagnostic Aids

Go to Step 12

12

  1. Check the low engine oil level lamp control circuit for a poor connection at the PCM.
  2. If a problem is found, replace faulty terminal. Refer to Repair Procedures in Electrical Diagnosis.

Was a problem found?

--

Go to Step 15

Go to Step 14

13

Locate and repair open in ignition feed circuit to the I/P indicators. Refer to Repair Procedures in Electrical Diagnosis.

Is action complete?

--

Go to Step 15

--

14

Replace the PCM.

Important: Replacement PCM must be programmed. Refer to Powertrain Control Module Replacement/Programming .

Is action complete?

--

Go to Step 15

--

15

  1. Review and record scan tool Fail Records data.
  2. Clear DTCs.
  3. Operate vehicle within Fail Records conditions as noted.
  4. Using a scan tool, monitor Specific DTC info for DTC P1672 until the DTC P1672 test runs.

Note test result; does scan tool indicate DTC P1672 failed this ign?

--

Go to Step 2

System OK