GM Service Manual Online
For 1990-2009 cars only
Makes
🢒
Pontiac
🢒
1997
🢒
Trans Sport Ext.
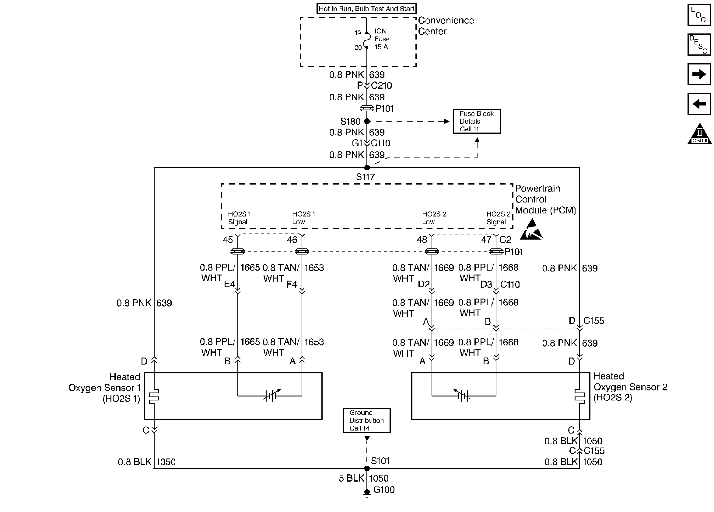
🢒 HO2S
HO2S
HO2S
Engine Controls Components
IAC, Gen Control, Trans Range
MAF, EVAP, EGR
OBD II Symbol Description Notice
Handling ESD Sensitive Parts Notice