GM Service Manual Online
For 1990-2009 cars only
Makes
🢒
Pontiac
🢒
1997
🢒
Trans Sport Ext.
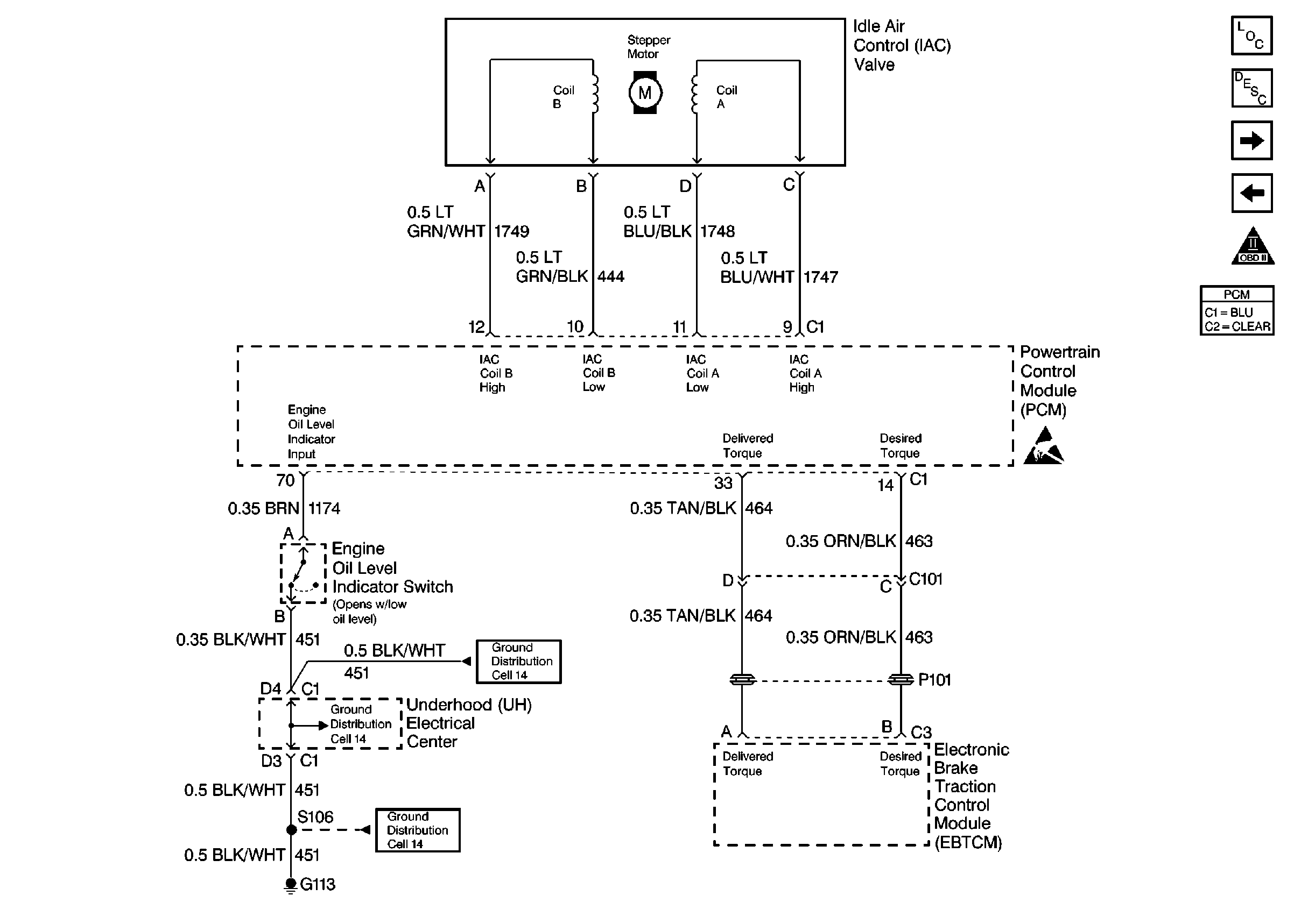
🢒 IAC Valve, EBTCM, Engine Oil Level Sensor
IAC Valve, EBTCM, Engine Oil Level Sensor
IAC Valve, EBTCM, Engine Oil Level Sensor
Handling ESD Sensitive Parts Notice
Engine Data Sensors-HO2S-1, HO2S-2
Vehicle Speed Sensor
Information Sensors
Engine Controls Components
OBD II Symbol Description Notice