GM Service Manual Online
For 1990-2009 cars only
Makes
🢒
Pontiac
🢒
1997
🢒
Trans Sport Ext.
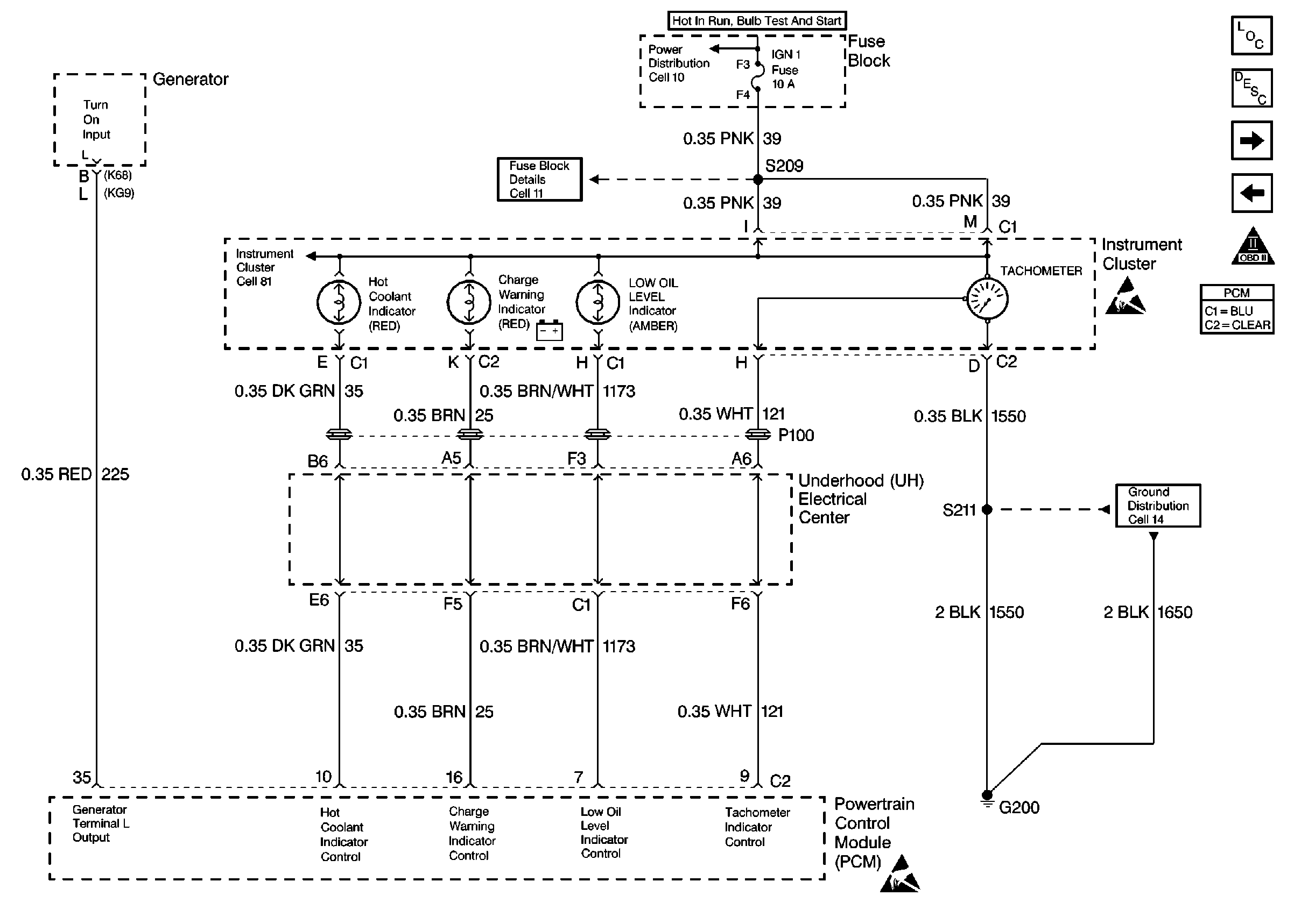
🢒 Indicator Lamps
Indicator Lamps
Indicator Lamps
Handling ESD Sensitive Parts Notice
Handling ESD Sensitive Parts Notice
4-Speed Automatic Transaxle, TCC Sw.
A/C Compressor Controls
Information Sensors
Engine Controls Components
OBD II Symbol Description Notice